Page image
Page image
Page image
Page image
Page image
Page image
Page image
Page image
Page image
Page image
Page image
Page image
Page image
Page image

H.—2

1877. NEW ZEALAND.

METHODS FOR DIMINISHING THE RABBIT NUISANCE (PAPERS RELATING TO).

Presented to both Souses of the General Assembly by Command of Sis Excellency. No. 1. The A gent-General to the Hon. the Colonial Secretary. 7, Westminster Chambers, Victoria Street, "Westminster, S.W., Sir, — 15th November, 1876. I have the honor to inclose to you a copy of a letter which I have received from Mr. Alfred Newton, of Magdalene College, Cambridge, Professor of Zoology in the. University, suggesting a method which he has known to be tried with advantage for diminishing the number of rabbits on the property of Mr. Bartlett, of Thetford; and I append a copy of my reply. 2. Mr. Campbell, of Buscot, having announced his intention of sending a number of stoats to the colony for the purpose of being enlarged on an estate much overrun with rabbits, an inquiry was addressed to me by the Colonial Office as to the necessity for proceeding to such extreme measures. I submitted, in reply, a copy of the Parliamentary Paper on the Eabbit Nuisance (N.Z., 1876,1. 5.), to exhibit the extent of damages which the propagation of these animals has caused. 3. The method suggested by Mr. Newton may perhaps be beneficially tried in particular localities. I will forward, as soon as I receive them, the further plans and information which he promises to send me. . I have, &c, W. Tyrone Power, The Hon. the Colonial Secretary, Wellington. Agent-General. Enclosure 1 in No. 1. Mr. Newton to the Agent-General. Sir, — Magdalene College, Cambridge, sth November, 1876. My brother-in-law, Mr. Charles Cox, has sent me your letter to him of the 3rd instant, in reference to a suggestion.l made to him with regard to a mode of catching rabbits, which it seems to me might well be tried in New Zealand. This mode was successfully used for many years some time ago by Mr. Bartlett of Thetford, then the occupier of one of the largest rabbit-warrens in England. Mr. Bartlett has since left Thetford, and I am not certain where he is now living, but I hope in a few days to be in possession of his address, when I will immediately communicate the information to you. Though, from living in the neighbourhood, and constantly visiting his warren, I was then very familiar with the method used, so long a time has since elapsed that I fear I should be unable to describe the apparatus quite correctly. It is exceedingly simple, but yet requires a somewhat nicety of construction to insure its working well. I am therefore desirous that you should get precise particulars of it from Mr. Bartlett himself, but in the meantime I will trv to give you some notice of it. I—H. 2.

H.—2

2

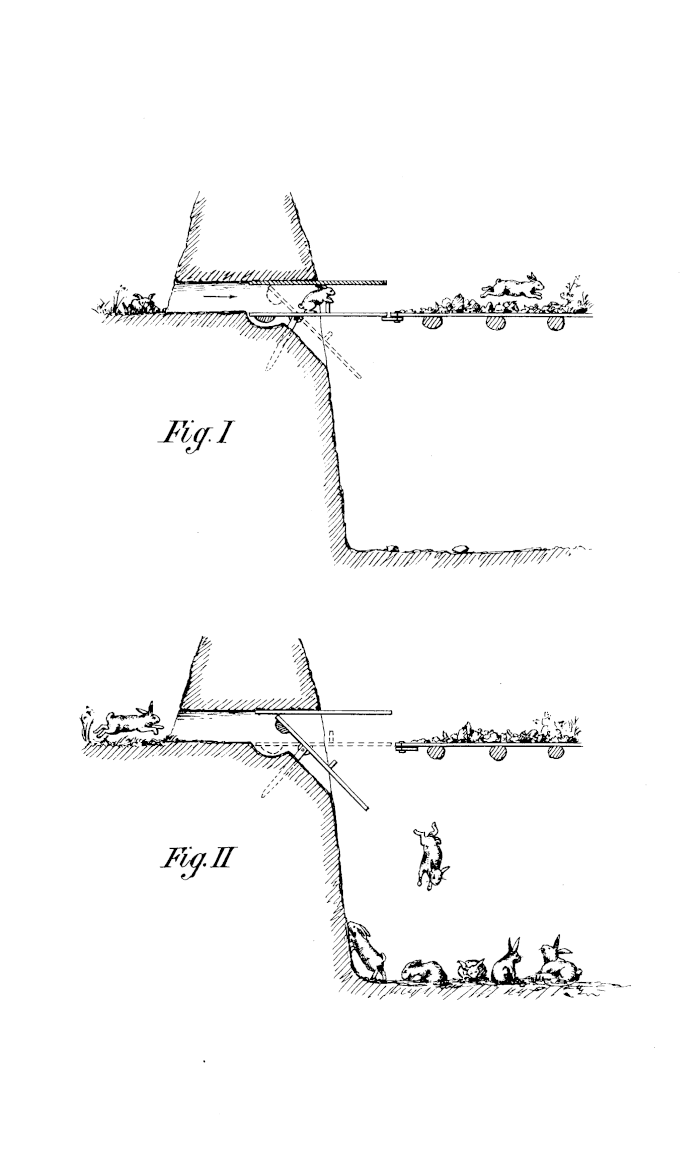
Pieces of ground—perhaps 30 or 40 yards in diameter —are enclosed by a common warren bank of turf, and capped in the usual way with furze. Inside each of these env^""^ closures, and immediately adjoining the bank, a pit some 5 or 7 feet deep is / dug, and covered (with the exception "of a man-hole having a boarded lid) / \ with brushwood laid on a few poles put at the point of contact between / ~ \ the pit and the enclosing bank ; a hole (like an ordinary rabbits' hole) is Jj I made through the latter. For about half the length of this hole its bottom V ,dg%. I is formed by the natural surface of the ground, but about the remaining A \ Vk* ~1) J a^ 'ias e So^ SCOOP ed avvay sufficiently to allow of a tip-board working ~~ y on a pin or pivot to be introduced. The inner end of this tip-board hangs /^»a- -^»^ over the pit, and the top and sides of the hole are here also boarded. The -jj/ tip-board is slightly weighted at its outer end to restore it to its original Ground Plan of Tipc. position of balance, and its inner end rests upon a wooden button, attached A Warren. B Enclosure C Pit. t fa e rQo f Q f f^e „}(. |j ut w ], eu t} ie tipe IS Wanted for USC the button is .1) Man-hole in cover of pit. E En- J f »> . r trance for rabbits. turned and the tip-board swings treely. About halt way between the pivos on which it turns, and the inner end, a bit of wood is fixed vertically, to get over which the rabbit it forced to jump, and thus insures the successful action of the apparatus when set, for then the animal alighting plump upon the end of the tip-board is at once toppled into the pit below. These two rude sketches may show the manner of operation so far, but much of course depends on the proportion of the different parts ; and these, I hope, may be obtained (or possibly even working drawings) from Mr. Bartlett. It remains to be said that the rabbits are induced to feed within the enclosure by turnips or the like being strewn at first near the entrance hole, and also inside. When it is found that they freely avail themselves of the opportunities, the button is turned and every rabbit that enters, instead of passing on to feed, as he had been accustomed to do, finds himself sent headlong into the pit, whence he and his fellows may be taken next morning by the warreuer, who obtains access to the pit through the man-hole. I believe I am not mistaken when I say that some hundred or more have been taken in a single ni^ht in one of these tipes, and the tipes may be constructed as close to one another as seems requisite. There is a further advantage in this method, in that it causes no alarm to the survivors, who are of course in utter ignorance of the fate of their comrades. Enjoying, as I do, the privilege of being au honorary member of the New Zealand Institute, I deem it right to do anything in my power to advance the interests of the colony. I fully see the need of some steps being taken to stop the devastation caused there by the rabbits, but I feel most strongly the short-sighted impolicy which would attempt to check the plague by the introduction of a far greater evil. I have, &c, Sir Tyrone Power, K.C.B, Alfred Newton.

Enclosure 2 in No. 1. The Agent-Genebal to Mr. Newton. 7, "Westminster Chambers, Victoria Street, Westminster, S.W., Dear Sir,— 14th November, 1876. I am exceedingly obliged to you for your interesting letter of sth instant, on the subject of the Australian and New Zealand rabbit pest, which I should have acknowledged sooner, but I delayed in the hope of shortly getting the further communication on the subject which you hoped to be enabled to give, and for which I shall be much obliged if you obtain it. I shall communicate the particulars of your plan to the colony, to be used wherever practicable, but I fear it is one more suitable to a warren, or to any place where the rabbits are tolerably concentrated, than to the circumstances in New Zealand, where the rabbits are very widely disseminated through the wild scrub, rocks, and mountains, over a very considerable surface of perfectly wild country, with very few inhabitants, and used chiefly for sheep and cattle runs. With many thanks, pray believe, dear Sir, Tours, &c., A. Newton Esq., M.A. W. Tteone Power.

No. 2. The Agent-General to the Hon. the Colonial Secbetaby. 7, Westminster Chambers, A'ictoria Street, "Westminster, S.W., Sib,— 22ud November, 1876. Adverting to my letter of the 15th instant, No. 868, respecting the method of trapping rabbits in this country, I now have the honor to forward copies of further correspondence on the subject, containing the additional information and plans which Mr. Newton had led me to expect, and to which I referred in my letter. I have, &c, W. Ttbone Powek, The Hon. the Colonial Secretary, "Wellington. Agent-General.

3

H.-2

Enclosure 1 in No. 2. Mr. Newton to the Agent-Geneeal. Sie, — Magdalene College, Cambridge, 14th November, 1876. In fulfilment of the promise I made when I had the honor of writing to you on the sth instant, I applied to Mr. Bartlett for further details of the mode of taking rabbits in tipes, which I then attempted to describe to you. I now forward a letter I. have received from that gentleman and its accompanying plans, which I trust will more fully explain his method, and may be of service to the people of New Zealand. I would observe that I do not share Mr. Bartlett's doubts as to the difficulties attending the successful practice by any one else of his method. Such doubts are pardonable, if not to be expected, from the inventor of an ingenious device, though I should be the last person to suppose that it could be used without some trials, and the experience which those trials would give. I have, however, especially to call your attention to what Mr. Bartlett writes of a trapping-bank, constructed on the improved principle which he describes. In my former letter I think I said that I believed no one to have such an extensive and accurate knowledge of rabbits as him, and I am quite willing to recommend his suggestion even to the exclusion of my own, though I see no reason why both should not be tried. I have, &c., Sir W. Tyrone Power, K.C.B. Alfeed Newton.

Sub-Enclosure to Enclosure 1 in No. 2. Mr. Babtlett to Mr. Newton. My deae Sie, — 13th November, 1876. I have been so much engaged this week that I have had no time to spare for thinking over how to illustrate tipes and tiping. I send you a rough sketch,* if you think you can make out what it means. I conclude they would in New Zealand make the enclosure of wood, if so, mould must be placed inside to admit of a ready egress from the enclosure, or if they get frightened they'll be a long while before they go in again. I have no faith in tiping answering in New Zealand, so much depends on the little things pertaining to it, and only those who have by observation and experience arrived at the knowledge, can tell how cunning and how sensitive a rabbit is. Were it my case in New Zealand, I should buy 10 dozen good bow springed traps (these I can tell you where to get made), procure a few hundred yards of 2-ft. wire netting, have a double furrow ploughed round against the living location of the rabbits, place the wire netting on the top of the double furrow, imbedding the netting some two or three inches in the furrow, and if the rabbits be very numerous cut lots of gaps in the furrow below the wire netting and trap at these gaps. It is in fact the best of trapping-banks. A clever Maori would in three days learn how to trap as well as our country bumpkins would in three years. Your wire netting can always be moved so that no great quantity would be wanted to drive a large estate. • I have, &c, Heney A. Baetlett.

Enclosure 2 in No. 2. The Agent-Genebal to Mr. Newton. 7, "Westminster Chambers, Victoria Street, Westminster, S.W., My deae Sib, — 15th November, 1876. I beg to acknowledge with many thanks your letter of 14th instant —with an enclosure from Mr. Bartlett, to whom also my thanks are due—relative to the trapping of rabbits on a large scale. I will send copies of these papers to the New Zealand Government by the outgoing mail, for use in the colony, if found to be suitable to the local circumstances; but I own that I think, however applicable to a warren, or to any circumstances where the rabbits are to a certain extent localized, the plans would not be found of much practical use where the rabbits are so disseminated throughout the country as they are in New Zealand and the Australian colonies. I am sure, however, that in some places, and in agricultural lands, the plans may be very usefully applied. Pray believe me, Tours, <&c, A. Newton Esq., M.A. W. Tyeone Powee.

Enclosure 3 in No. 2. Mr. Newton to the Agent-Geneeai. Deab Sib, — Magdalene College, Cambridge, 17th November, 1876. Our last letters (of the 14th) crossed in the post. I now send you some further particulars which I this morning received from Mr. Bartlett, and doubt not that they are worthy of your best attention. I am very glad to think that you were interested in my account of the tipes, and I think that this mode of catching rabbits, on Mr. Bartlett's improved trapping-bank, may be found sufficient to remove the injury, without having recourse to the expedient of letting loose ferrets, stoats, or other predatory beasts, which cannot fail eventually to produce far greater mischief than that which they are intended to remedy. * See plana at end.

H.—2

■4

I know that the Colony of New Zealand has been at a very considerable expense in introducing pheasants, partridges, and various other birds, but all this will have been incurred to no purpose if they are to be followed by their enemies, for ferrets and stoats are every bit as destructive to them— especially such birds as have their nests on the ground —as to rabbits. In proof of which is the fact that these Mxistelidcß have been almost extirpated in every game preserve in England, and there is no gamekeeper in this country who does not wage incessant war against them. The native birds of New Zealand also are still more certain to fall a prey to them than the introduced kinds, and their importance to the colonial farmers, if not as yet fully appreciated, is sure to be so when, in consequence of their extinction, a plague of insects, far worse than that of rabbits, will assuredly be felt, I have, &c, Sir "W. Tyrone Power, K.C.B. Alfred Newton. P.S. —Since writing the foregoing, our last post has brought me your letter of the 15th. On this I would beg leave to remark, that so far as my own experience goes —which I must say is, in this matter, not inconsiderable—the method of catching rabbits by means of a trapping-bank can be effectually used in the most open country, and, as a matter of fact, is never resorted to on an enclosed warren. I feel very sure, therefore, that this method could be put into operation iu New Zealand with success. Alfred Newton.

Enclosure 4 in No. 2. Mr. Baetlett to the Agent-Genebal. Mt dear Sib,— 16th November, 1876. The address of the trap-maker I hand you over leaf. I would not advise any one to buy a cheap article, more particularly to send such a distance as New Zealand. Have chains and a ring affixed to eacli trap ; but I would not have an iron stake —in such a country wood is so common they can make stakes thus ~^>- You see this is put through the ring and driven into the ground, and when anything is caught it can work round the peg, and so not wring off, as these bow-spring traps have no ring as a safeguard. When setting my man had a link open at one end, resembling very much a small magnet. I mention this because a prejudice is easily established against such traps as are very liable to catch the fingers of the setter; and of course all properly set traps want to be set somewhat ticklish. You ought, in any instructions sent out, to remind the instructed the rabbits ought to be allowed a few nights to run through the gaps in the furrow ; they will trap three times as well. A great many inay be caught by a well-ploughed-up furrow so gapped without wire netting. I have, &c, Heney A. Baetlett. Instettctions foe Teappee. Let the trap be adjusted so as to spring lightly. Take care the earth be fine, and free from sticks and long grass with which the table and jaws of the trap are covered. For comfort in setting, slide the link made thus CZ over the spring next the jaws, and remove it when set. Traps of best sort ought to be 365. per dozen. Samuel Geiffiths, Trap-maker, Wednesfield Heath, Wolverhampton.

No. 3. The Hon. C. C. Bowen to the Agent-General, London. Sir, — Colonial Secretary's Office, "Wellington, 23rd January, 1877. I have the honor to acknowledge the receipt of your letter No. 906, of the 22nd November, and to request that you will be good enough to convey to Professor Newton the thanks of the Government for the trouble he has taken in forwarding information as to trapping rabbits. His letters will be printed and circulated in the colony wherever they may be useful. I have, &c, The Agent-General for New Zealand, London. Chas. C. Bowen.

No. 4. The Agent-General to the Hon. the Colonial Seceetaby. 7, "Westminster Chambers, Victoria Street, "Westminster, S.W., Sib,— 12th December, 1876. In continuation of my letter of the 22nd November, No. 90G, I have the honor to enclose you a further letter, which I have received from Mr. Alfred Newton, of Magdalene College, Cambridge, with its enclosure, containing suggestions by Mr. Marlborough Pryor, late Natural Science Fellow of Trinity College in the same University, on the subject of the extirpation of rabbits. I have, &c, W. Tyeone Power, The Hon. the Colonial Secretary, "Wellington. Agent-General.

Man (fSf/tfyfcr mfrAmaMaMtJj

/ $ / CCV&bCCl/ (/TV -Cirt/w \ \ / / \ \ I I <Mmt£> a*ul ea/t/A'/Uacti(/ % \ / / \ \ jj / ervtrie/umv-cO. \ \ I \ \ 3£cusnd; 'ffi/r "/feet * <UUr*ne& tfavcn^A/ cv/Uc/v&aMi6l AaJd 1 ffte/ fyi/v6e>v <j^tfi& vcxVocC 4vzz>n& £>& aJzn*/■notftcuM av&u.

43 sGxAej a/<ny ov&te/u tfi& -unw natZ*tp, u £ec6 4d A<r^£ c/-<^/.

• , J ,

5

H.—2,

Enclosure in No. 4. Mr. Newton to the Agent-Genebax. D eae Sie, — Magdalene College, Cambridge, Bth December, 1876. I beg leave to enclose and to recommend to your notice a letter from Mr. Marlborough Pryor, late Natural (Science Fellow of Trinity College in this University, and an exceedingly good practical naturalist as well as sportsman. He has taken considerable interest in the New Zealand rabbit question, and I forwarded to him for perusal the report you were so good as to have sent me a short time ago. The suggestions contained in his letter seem to be eminently practical, and I may add that Mr. Pryor has a personal knowledge of the class of men of whom he writes, having passed much of his youth with his late grandfather, Mr. W. Birch, of Wortham Hall, near Thetford. My own experience, gained by living over thirty years in the same neighbourhood, where there are perhaps more rabbits than elsewhere in England, entirely bears out Mr. Pryor's, and I have not the least doubt that half a dozen, or even fewer, well-chosen warreners from the neighbourhood of Brandon and Thetford, acting as Mr. Pryor suggests, would in a very short time stop all reasonable complaints of the nuisance. I have, &c, Sir "W. Tyrone Power, K.C.B. Alfbed Newton. Sub-Enclosure to Enclosure in No. 4. Mr. Pbtoe to Mr. Newton. 12, Great Winchester Street, London, My deae Newton, — 6th December, 1876. Thanks for the papers returned. I think that the form New Zealand Government interference ought to take should be to obtain and send out a small number of the most skilled Norfolk and Suffolk rabbit-killers—that these men should work under, say, the Road Board on the open unoccupied and Crown lands, but that their services should be at the disposal of squatters at cost price. These men, with the unskilled labour obtainable on the runs, would work wonders, and train the men on the runs whether they wished to do so or not. The squatters should prepare for the rabbitkiller by cutting down the ragged edges of scrub so as to get fair straightish boundaries to it, so as to be able to make the first clearance by long-netting at night. Types should be used of course, especially on the more open runs. By having a staff of rabbit-catchers for a district the cost of long nets and other tackle would be distributed, and it would be possible to arrange for the rabbits to be taken in suitable vans to rabbit " usines," where they could be made into manure, and their skins worked up so as to be of more value than when roughly prepared. Rabbit fluff fetches a good price for hop manure. I have, &c, A. Newton, Esq. M. R. Peyob. By Authority: Geoege Didsbuey, Government Printer, Wellington. —1877. Price Is. 3d.

This report text was automatically generated and may include errors. View the full page to see report in its original form.I whakaputaina aunoatia ēnei kuputuhi pūrongo, e kitea ai pea ētahi hapa i roto. Tirohia te whārangi katoa kia kitea te āhuatanga taketake o te pūrongo.
Permanent link to this item
Hononga pūmau ki tēnei tūemi

https://paperspast.natlib.govt.nz/parliamentary/AJHR1877-I.2.2.3.3

Bibliographic details
Ngā taipitopito pukapuka

METHODS FOR DIMINISHING THE RABBIT NUISANCE (PAPERS RELATING TO)., Appendix to the Journals of the House of Representatives, 1877 Session I, H-02

Word count
Tapeke kupu
3,445

METHODS FOR DIMINISHING THE RABBIT NUISANCE (PAPERS RELATING TO). Appendix to the Journals of the House of Representatives, 1877 Session I, H-02

METHODS FOR DIMINISHING THE RABBIT NUISANCE (PAPERS RELATING TO). Appendix to the Journals of the House of Representatives, 1877 Session I, H-02

Log in or create a Papers Past website account

Use your Papers Past website account to correct newspaper text.

By creating and using this account you agree to our terms of use.

Log in with RealMe®

If you’ve used a RealMe login somewhere else, you can use it here too. If you don’t already have a username and password, just click Log in and you can choose to create one.


Log in again to continue your work

Your session has expired.

Log in again with RealMe®


Alert