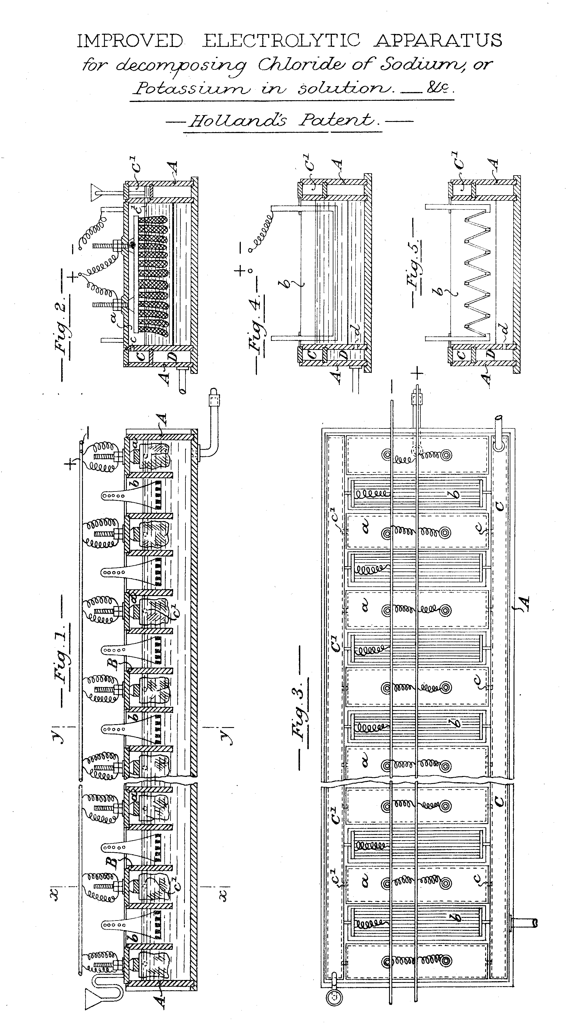
IMPROVED ELECTROLYTIC APPARATUS for decomposing of Sodium, or Potassium in solution.-&c. Holland's Patent.
Use your Papers Past website account to correct newspaper text.
By creating and using this account you agree to our terms of use.
Your session has expired.