Page image
Page image

E.—2

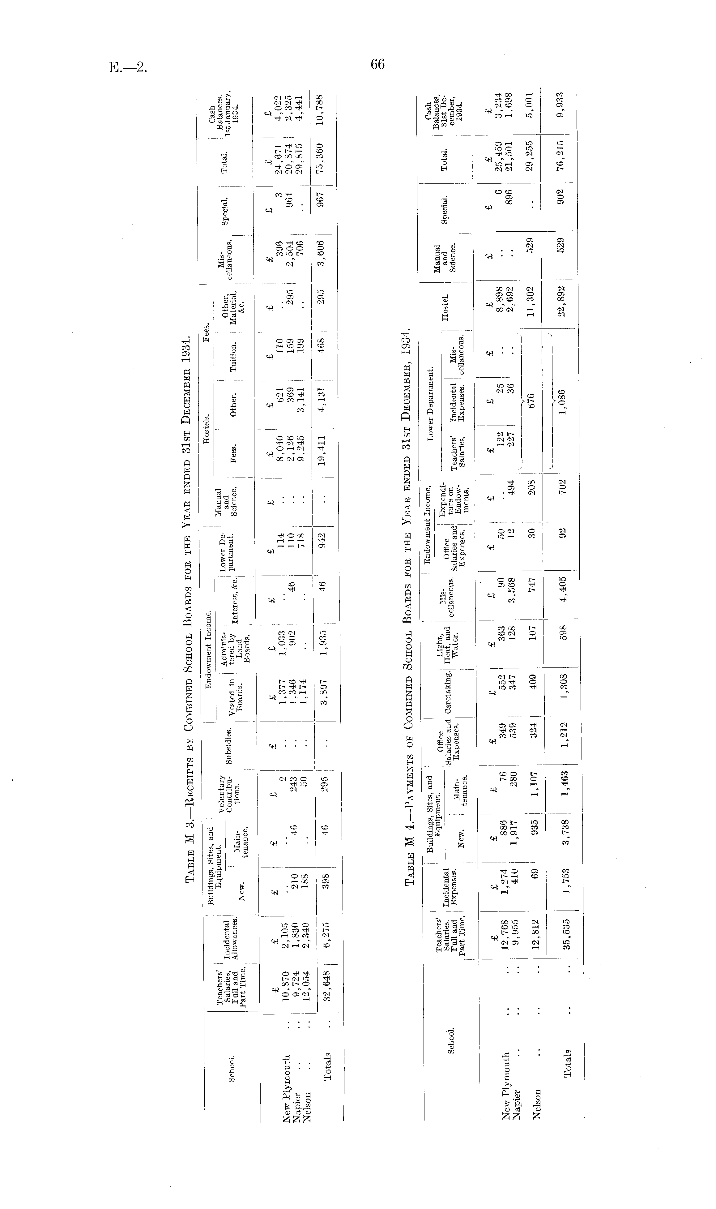
Table M 3.—Receipts by Combined School Boards for the Year ended 31st December 1934.

Table M 4.—Payments of Combined School Boards for the Year ended 31st December, 1934.

66

Buildings, Sites, and | Endowment Income, j Lower Department. I Cash Teachers' Equipment. office i | t, n ; Manual | Balances, . - Salaries, j Incidental j Salaries and Caretakina. Heat and Office | x P en J Hostel. and Special. Total. 31st DeSch ° o1 - Full and Expenses. Main- Expenses. Water. cellaneous. Sa j ar j es an d SFSiJ? Teachers' Incidental Mis- Science. cember, , Part Time. | j New. tenance. i | Expenses. | Salaries. Expenses, cellaneous. ; j 1934. p £ £ £ £ £ £ £ £ | £ £ £ £ £ £ £ £ at "Pi 19 768 1 274 886 76 349 552 363 90 50 i .. 122 25 .. 8,898 .. 6 25,459 3,234 New Plymouth .. .. 12,768 1,274 J86 12g 3;568 12 494 227 36 2,692 .. 896 21,501 1,698 Nelson 12,812 69 935 1,107 324 409 107 747 30 I 208 ~676~ 11,302 529 .. 29,255 5,001 j v Y ) Totals .. .. 35,535 1,753 3,738 1,463 1,212 1,308 598 4,405 92 702 1,086 22,892 529 902 76,215 9,933

Buildings, Sites, and ; Endowment Income. i f . . Hoatete. | | Fees. J , j Cagh Teachers' j I Equipment. Voluntary TnwprT)p- Manual | . | Mis- 0 . , m *«i ! Balances, J» !lu™ Verted in tered by" ! Interest , &c . P-tment. Fee , other . Tuffion . , mS, , »»" ** L ?*%£"' Part Time. I New. tIom " Boards. Ifmg | ; &c . | | p f c £ £ £ £ £i£ f £ £ £ £ £ I £ £ £ £ , T „ ,, ,A 7n 9 £ , n „ 2 1 377 1 033 ! 114 .. 8,040 621 110 .. 396 3 24,671 4,022 New Plymouth .. 10,870 .,105 .. 2 .. , 2g lg0 2g5 25 064 20;874 2>325 Son :: :: JS K m . 1o :: i:m .. .. ™ .. 9 , 2 4 5 s.m .. ■■ 29 > 815 Totals 32,648 398~ 46 295 .. 3,897 1,935 46 942 .. 19,411 4,131 468 295 | 3,606 j 967 75,360 10,788

Log in or create a Papers Past website account

Use your Papers Past website account to correct newspaper text.

By creating and using this account you agree to our terms of use.

Log in with RealMe®

If you’ve used a RealMe login somewhere else, you can use it here too. If you don’t already have a username and password, just click Log in and you can choose to create one.


Log in again to continue your work

Your session has expired.

Log in again with RealMe®


Alert