Article image
Article image
Article image
Article image

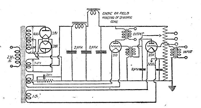
Diagram 1.—Typical two-stage power amplifier.

This article text was automatically generated and may include errors. View the full page to see article in its original form.I whakaputaina aunoatia ēnei kuputuhi tuhinga, e kitea ai pea ētahi hapa i roto. Tirohia te whārangi katoa kia kitea te āhuatanga taketake o te tuhinga.
Permanent link to this item
Hononga pūmau ki tēnei tūemi

https://paperspast.natlib.govt.nz/periodicals/RADREC19290719.2.67.1

Bibliographic details
Ngā taipitopito pukapuka

Radio Record, Volume II, Issue 53, 19 July 1929, Page 36

Word count
Tapeke kupu
5

Diagram 1.—Typical two-stage power amplifier. Radio Record, Volume II, Issue 53, 19 July 1929, Page 36

Diagram 1.—Typical two-stage power amplifier. Radio Record, Volume II, Issue 53, 19 July 1929, Page 36

Log in or create a Papers Past website account

Use your Papers Past website account to correct newspaper text.

By creating and using this account you agree to our terms of use.

Log in with RealMe®

If you’ve used a RealMe login somewhere else, you can use it here too. If you don’t already have a username and password, just click Log in and you can choose to create one.


Log in again to continue your work

Your session has expired.

Log in again with RealMe®


Alert