Page image
Page image
Page image
Page image
Page image
Page image
Page image
Page image
Page image
Page image
Page image
Page image
Page image
Page image
Page image
Page image
Page image
Page image
Page image
Page image

Pages 1-20 of 59

Pages 1-20 of 59

Page image
Page image
Page image
Page image
Page image
Page image
Page image
Page image
Page image
Page image
Page image
Page image
Page image
Page image
Page image
Page image
Page image
Page image
Page image
Page image

Pages 1-20 of 59

Pages 1-20 of 59

H,— 3l.

1936. NEW ZEALAND.

DEPARTMENT OF HEALTH. ANNUAL REPORT OF THE DIRECTOR-GENERAL OF HEALTH.

Presented in pursuance of Section 100 of the Hospitals and Charitable Institutions Act, 1926.

HON. P. FRASER, MINISTER OF HEALTH.

CONTENTS.

Reports of — page Director-General of Health .. .. .. .. . • .. . • • • • • 1-9 Director, Division of Public Hygiene .. .. .. .. .. .. .. . • 9-24 Director, Division of School Hygiene .. .. . . .. .. . • . • • • 25-32 Director, Division of Hospitals .. .. .. .. .. .. . • • • • • 32-34 Director, Division of Dental Hygiene .. .. .. .. .. • • • • • • 35-41 Director, Division of Nursing .. .. .. .. .. • • • • • • • • 41-48 Inspector of Private and Maternity Hospitals .. .. .. .. .. • • • • 48-61

REPORTS.

The Director-General op Health to the Honourable the Minister of Health, Wellington. I have the honour to lay before you the annual report of the Department for the year 1935-36.

PART I.—GENERAL SURVEY. For the year just concluded infectious diseases generally were at a low level while there was no epidemic of importance. Vital Statistics. Death-rate.—The death-rate per 1,000 mean population was 8 22. In 1934 it was 8 48. Infant Mortality.—The infant-mortality rate showed a slight rise to 32-26 per 1,000 live births as compared with 32-11 in 1934. Still-births.--The still-birth rate was 30-8 per 1,000 live births. In 1934 this rate was 28-3. Birth-rate.—Births numbered 23,965 as compared with 24,322 m the preceding year. The birth-rate was 1613 as against 1647 in 1934. This is the lowest rate recorded, a statement which has applied in turn to each of the last ten years. Infectious and othee Diseases. The total number of notifiable diseases reported to the Department in 1935 was 3,349. This is the second lowest figure since accurate records of notifications have been compiled for the Dominion. I—PL 31.

If.--31.

Scarlet Fever.—A total of 868 cases and 8 deaths was reported as against 762 cases and 8 deaths in 1934. Diphtheria.—This disease, which accounted for 747 notifications and 33 deaths, was more prevalent than in 1934, when 436 cases and 26 deaths were recorded. Diphtheria fluctuates from year to year, and a rise in 1935 was not altogether unexpected. Central Auckland and Central Wellington Health Districts accounted for 356 of the notifications. A more wide-spread use of active immunization, particularly in the more densely populated areas, would tend to lower the incidence of this dangerous disease of childhood. The steady diminution of cases of diphtheria in the East Cape Health District since 1933 is regarded as due to the immunization campaign carried out. in 1932 by Dr. Turbott. Dr. Cook, Medical Officer of Health, Whangarei, reports on a minor epidemic of diphtheria in Hikurangi. He states: "The disease has always been endemic in this town with a tendency to flare up into epidemic form during the damp months of the year. The Chairman of the Town Board was very anxious for something to be done and, after a meeting between him and the school committee, it was arranged for the inoculation of the school-children with as many pre-sehool children as possible. There was a very gratifying response, some 260 children receiving preventive treatment. A few cases have occurred since December of last year, all unmodulated children." In consequence of an outbreak of diphtheria at Trentham school, Dr. Heycock of the School Medical Service, with the consent of the parents, immunized 109 children. An outbreak of diphtheria at a maternity hospital involving a mother and two babies illustrated the dangers of any person, other than the patients and the necessary nursing staff, residing in such an institution. The babies were nine and twelve days old respectively, and were both breast fed, although one had supplementary feeds of expressed human milk. Inquiries showed that an unmarried mother who lived at the hospital and worked in the laundry was sent to the fever hospital suffering from scarlet fever. A month later she returned to the maternity hospital and a few days later, developing a sore throat, was again removed to the fever hospital when a swab taken from the throat was positive for diphtheria. It was assumed that this case introduced the infection which was the cause of the three subsequent cases in the hospital. Enteric Fever. —This disease, once one of the principal causes of death in New Zealand, has dropped from its high position to a very low one. Thus, the death-rate in 1875 was 900 per 10,000 of the population compared with 0 07 in 1935. An epidemic of typhoid in South Taranaki entirely amongst the Maoris caused some uneasiness during the year. Thirty-five cases in all were reported after the first case was diagnosed early in September. An intensive campaign for the control of the disease called for the services of all officers in the district. Dr. Hughes, the Medical Officer of Health, Auckland, reports as follows on another outbreak which occurred in the Tauranga - Te Puke area:— " There appeared to be two distinct outbreaks, the earlier arising at the Native settlements near Te Puke, comprising 8 cases, the other comprising 3 cases affecting persons in the neighbourhood of Tauranga. Of the 8 Te Puke cases, all were children who lived in, or frequently visited the Manoeka Pa, where they eithef 1 drank or bathed in the waters of a stream running through the Pa, and probably were infected through a carrier. " The Tauranga group comprised three women, one a European and two Maoris. One of the Maoris worked in the premises of the European and the second Maori lived not far distant from the first Maori. In the household of the European lived a young woman who had typhoid'about three years ago, and was discharged as a carrier. There is a suspicion that the infection may have passed on from the carrier to the European, as she attended to the preparation of the food and undertook the milking in spite of an undertaking given the Department at the time of leaving hospital that she would have nothing to do with milking or the preparation of food. Any patients suffering from suspicious symptoms were removed to hospital and all contacts were inoculated. Only two further cases occurred in the district after these precautions were taken. All pas were visited for sickness during and since the epidemic. In connection with the European case, two further typhoid cases of Europeans were traced at Wairoa, both of whom had been contacts with the European case at Tauranga." Diarrheal diseases in their mode of origin and spread resemble enteric fever closely. It is therefore only to be expected that the death-rate from, this cause will take a course parallel with the death-rate from enteric fever. This is what we find. In 1935 there were 81 deaths from diarrhoeal diseases as compared with 354 in 1900, when the population was rather less than half what it is to'-dav. The decline is due to improved environment, including food and water supplies, to better hygienic habits, and to the work of the Plunket Society amongst the infants. Dysentery.—A minor epidemic of what was regarded as acute bacil.lary dysentery occurred in the Whangarei and Bay of Islands counties. The infection was very severe, many children dying within twelve hours of the onset of symptoms. Although several bacteriological specimens were examined, in no case was an organism of the dysentery group isolated. Unfortunately, difficulty was experienced in obtaining the specimens, and

2

11.-31.

the organism had probably died after the long journey of some of the specimens. Dr. Cook, the Medical Officer of Health for the district, was of the opinion, that these cases belonged to the Flexner group and his opinion has since been confirmed by the isolation of the Flexner bacillus from a further series of cases during the current year. Most of the original cases were in very isolated districts, and considerable difficulty was entailed in getting in touch with them. These cases demonstrated the need for improved sanitary education of the Maori. Influenza. —The death-rate for influenza (all forms) declined from 126 in 1934 to 074 per 10,000 in 1935. Poliomyelitis.—Eight cases were notified in comparison with 14 for the preceding year. Lethargic Encephalitis and Cerebrospinal Meningitis.—Pour cases of the former (14 in 19341 and 10 of the latter (19 in 1934) were notified. Puerperal Sepsis.—ln 1935 there were 8 deaths from sepsis following childbirth, in comparison with 17 in 1934. The deaths due to sepsis following abortion numbered 23 as against 42 in 1934. Whooping-cough and Measles. —The total deaths from whooping-cough numbered 42, while only 1 death was recorded for measles, which had been epidemic the previous year. Tuberculosis. —The death-rate from tuberculosis (all forms) was the lowest ever recorded, being 3-88 per 10,000 (4-20 in 1934). A definite advance has been made in the campaign against this disease by the establishment of tuberculosis clinics in various parts of the North Island, similar to those operating for a number of years in the South Island. In future, the tuberculosis specialists in the employ of the Palmerston North and Waipawa Hospital Boards will pay regular visits to various centres. The co-operation of the medical superintendents of hospitals and the local practitioners' is assured, and it is hoped that when the scheme is fully organized it will materially assist in the selection of cases suitable for sanatorium at an early stage in the disease, and will also ensure that all contacts are kept under regular medical or nursing attention. In Auckland the Hospital Board has its own tuberculosis officer and administers a tuberculosis clinic in connection with the shelters at Costly Infirmary. Wellington Hospital Board's decision to appoint a whole-time tuberculosis officer and to organize the necessary clinic in the city area will also stimulate the campaign against the disease in that city. Hydatid Disease. —In last year's report attention was drawn to the unfavourable position of New Zealand as regards the incidence of hydatid disease, and measures were outlined for its prevention. Arrangements have been made for public hospitals to report upon all admissions of cases of hydatid disease to the Hydatid Research and Prevention Department at the Otago Medical School. A standard record form has been brought into use for this purpose. At the request of the Medical School authorities, several thousand copies of a special poster and pamphlet dealing with hydatid disease were distributed to post-offices, county offices, slaughterhouses, and other places where they would be of educational valueArrangements were also made with the Director-General of Agriculture to distribute a copy of the pamphlet with each of the 30,000 stock returns sent out by his Department. This will ensure that a copy goes to every person in the Dominion owning sheep, and should be a valuable method of propaganda. Goitre. —An investigation into the incidence of goitre in certain districts of the North. Island of New Zealand was carried out in 1928 by Dr. R. A. Shore of this Department with Mr. R. L. Andrew of the Dominion Laboratory. As a result of that study it was found, generally speaking, that where the iodine content of the soil was high, the incidence of goitre was low and vice versa. However, certain anomalies were discovered which on available information could not be accounted for. In order to try and throw some further light on the matter another investigation was undertaken by the same officers in the Taranaki area in 1933. The results again were inconclusive. A most interesting point, however, was brought out—namely, that in the interval between the two investigations the incidence of goitre in the school-children in certain Taranaki areas had increased enormously without any known change in environment (including water and food supply). Whereas in 19-8 the average incidence of goitre in school-children was 7 per cent, in boys and 10 per in girls in 1933 the rates had risen to 82 per cent, and 87 per cent, respectively. No explanation so far can be given for this increase, but further inquiry is proceeding. Cancer. The work of the New Zealand Branch of the British Empire Cancer Campaign Society is now exerting a, widespread influence in control of cancer in this country. There are four Divisions in the Branch —one in each of the main centres. At each of the four main hospitals there are Cancer Consultation Committees to which are referred all. cases of cancer which enter the hospital. The advice of the committee is available also for outside cases which may be referred to it by private practitioners and institutions outside the hospital The personnel of these committees is drawn from the staffs of the hospitals, both honorary and stipendiary, and the hospitals themselves provide accommodation for the meetings of the committees. The Divisions, from their funds, supply the requirements ot the committees in clerical assistance for the maintenance of the record system and for the preparation of the annual reports, and also in respect of some of the technical assistance. Some of the Divisions have a paid registrar, whose salary is also paid by the Division, the Hospital Boards in New Zealand co-operate fully with the society in the maintenance; ot these consultation clinics.

3

11.—31.

The control of the society rests in a Central Committee of twenty members, of which the Chairman of the four main Hospital Boards and the Mayors of the four cities constitute eight. This committee controls the finances and expenditure in connection with the research work in cancer which is being carried out at the Medical School in Dunedin. There is, in addition, a Medical and Research Committee which deals only with technical matters; it consists of representatives from all four centres and from the Medical School, and is the advisory body for the Central Committee. The society has also the fullest co-operation of the Department of Health, and in matters relating to cancer and its treatment and control the Department relies largely on its advice and assistance. The society is affiliated to the British Empire Cancer Campaign Society and works in the closest co-operation with that body, and belongs also to the International Union against Cancer. The incidence of cancer among members of the Native race has been the subject of inquiry by the society, and it is hoped that a statistical study will enable it to get information on this point. The Government Statistician has been generous with assistance on this and allied matters. It was a source of satisfaction to the society that the late King, when offered a Jubilee gift by the people of New Zealand, expressed the wish that the occasion should be used to assist the work of cancer-control in New Zealand. This proposal was given the cordial support of the Government and people of New Zealand, and as a result the funds of the society benefited by over £15,000. Venereal Diseases. —The tables appearing in the public hygiene part, of this report summarize the returns of treatment for venereal diseases at the four main centres. The Health Organization of the League of Nations published a report on the treatment of syphilis, and this has been brought under the notice of the public hospital authorities and should help to make the treatment of syphilis more uniform. Occupational Diseases.—Five cases of chronic lead poisoning were notified (1 in 1934). In the course of new manufacturing processes involving the use of lead there is always the possibility of fresh hazards arising. The growth of industries and the consequent increasing importance of occupational disease in New Zealand is a problem that will call for increased consideration in the future. Food Poisoning.—Fifty-eight cases of food poisoning were notified. Dr. Maclean, Medical Officer of Health, Wellington, reports as follows on such an outbreak:— " In April there was an outbreak of food poisoning involving nine persons. They were members of a party of seventeen which assembled for a meeting and lunched together at a private house, afterwards dispersing to their homes. The persons affected became ill in from eight to twelve hours and were seen by five different doctors, which fact prevented recognition of the size of the outbreak. In no case was the statutory notification made, and when the details were discovered and pieced together, it was too late to carry out satisfactory bacteriological investigation. The origin of infection was almost certainly traced to a " Spanish cream " which had been eaten by all those affected, and had been passed over by most of those who escaped. It had been made forty-two hours before being eaten, and the ingredients were milk, gelatine, and preserved eggs, while the method of cooking did not ensure thorough heating of the whites of the eggs. If the eggs had been infected, there was ample opportunity for multiplication of bacteria. All the patients recovered, but the attack was a sharp one with fever, pain, vomiting, and green watery stools. One patient was ill for a week." Two eases of food poisoning were admitted to the Auckland Hospital from the same house subsequent to eating some fungoid growth mistaken for mushrooms. Deaths from Motor Traffic Accidents.—A depressing feature of modern life is the number of motor accidents which occur, causing death, suffering, decreased efficiency, and economic loss. Eight hundred and sixty-four persons were killed in motor accidents during the five years ended 31st March, 1935. Of these 32 were under 5 years of age, 43 between 5 and 10 years of age, 26 were between 10 and 15 years, 592 were between 50 and 55 years, and 171 were 55 years or over. These striking figures should stimulate the campaign being undertaken to stem the tide of mortality in such accidents. This country cannot afford to lose so many valuable lives. On the economic side an increased burden is also being thrown on our hospital system for provision of facilities and staff for treatment of such cases. Reports op Divisional Directors. Public Hygiene.—Dr. Ritchie in his presentation of statistics relating to some of the important, diseases draws attention particularly to the trend of heart disease, cancer, and tuberculosis in New Zealand. The reports of Medical Officers of Health show a steady improvement in the sanitary conditions generally throughout the Dominion. Local authorities have been active as regards the installation of sanitary works such as water-supplies and drainage. A reference is made to the bored-holed latrine recommended by the Department for Maori districts and other areas where they are suitable.

4

H.—3l.

School Hygiene.—Dr. Paterson visited Great Britain and the Continent and gained an insight into modern developments in child welfare, with special regard to school-children. While abroad, this officer investigated particularly what was being done with special groups of children who were under-nourished, crippled, suffering- from ear troubles, mentally backward, or psychologically abnormal. Dr. Paterson conferred with officers of the Ministry of Health, the London County Council, and other public health authorities in Great Britain, and represented New Zealand at the International Labour Conference at Geneva. There was little variation in the health of the New Zealand school-child during the year as judged by the results of medical inspection. Dr. Paterson in her report shows that close attention was paid to the many factors concerned in the health of our school-children, and particularly so as regards the problem of nutrition. The selection of children for admission to the health camps entailed much work. The finance of these camps benefited to the extent of some £11,000 by the sale of the Christmas health stamps and donations through the Post and Telegraph Department and the willing assistance of various voluntary organizations. The results of the health camps have amply demonstrated what good can be done for such children, and therefore the generous financial help rendered by the public in this direction is most gratifying. Hospitals.—Dr. Shore in his report draws attention to the fact that it has been necessary for many Boards to undertake building extensions so as to provide the necessary accommodation for patients seeking admission. During the year Boards were asked to submit their proposals for a five-year building programme with a view to assisting in planning needs to fit in with probable future extensions, and also to obtain estimates of the amounts required for the work annually during that period. The estimates of Hospital Boards are coming to hand, and a preliminary examination of those so far received indicates in many cases that the actual maintenance expenditure of Boards has been than that provided in the estimates. It is observed that hospital expenditure is still being affected by the factors referred to in my last report, and it seems certain that the requirements for the coming year will also substantially exceed this year's figure, which in many cases will be increased by the deficits being carried forward. Full statistical and financial information in regard to hospitals is published as a special appendix to this report. Nursing Division. —Miss Lambie in her report outlines the various measures taken for the development and improvement of nursing in New Zealand. Among special matters to which attention has been drawn are: The need for training Maoris as assistants to district nurses; the better selection of Maoris for training as nurses and their employment to the best advantage; the factors bearing on the present shortage of nurses; the extension of district nursing; the value of an almoner's department. During the year a committee of the Registered Nurses Association was set up to study the present system of training nurses in New Zealand. Maternal Welfare. —Dr. Paget in his report reviews mattera associated with maternal welfare and, in doing so, comments on the encouraging reduction in the puerperal-mortality rate. (The rate for the year, 421 per 1,000 live births, is lower than the rate of 4-8 for 1934.) He also deals with the most difficult problem of puerperal sepsis following abortion. A close inspection has been maintained of maternity hospitals. The Department has received helpful co-operation from the licensees and it was found, with very few exceptions, that these hospitals were being well administered. The erection of the maternity hospital at Dunedin, designed for obstetrical teaching, will afford better facilities for the training in obstetrics of students at the Otago University Medical School. The New Zealand Obstetrical and Gynaecological Society is showing steady progress and its work is proving of distinct value in the sphere of maternal welfare. Dental Hygiene.—Thirty new probationer dental nurses were appointed in 1935 and 51 additional appointments have since been authorized to meet the growing demands for dental treatment of children. Dental clinics have now been established in 252 centres. One thousand five hundred and ninety schools are now under dental supervision. The number of children who received dental treatment was 84,738. Amongst specM matters reviewed in the Director's report are the work of the Wel 1 iiigton Dental Clinic, the fundamental requirements of a school dental service, dental disease among Maori children, and dental health education. Maori Hygiene.—ln last year's report an account was given of the health activities amongst the Maoris. The estimated Maori population as at the 31st December, 1935, was 75,008—an increase of 1,719 over the figure for the previous year The death-rate was 19-29 (17 51 in 1934). The infant-mortality rate was 103 05 per 1,000 live births (93-5.) in 1934) There has been a further increase in the Maori birth-rate which was 43-34 per 1,000 population as against 40-67 for 1934. The excess of births over deaths gives the Maori race the satisfactory natural increase of 241 per cent. The death-rate for all forms of tuberculosis was 40-26 per 10,000 of population (pulmonary 02-40; other forms 7 86).

5

H.—3l.

The typhoid fever death-rate of 2-53 per 10,000 showed a distinct rise on the previous year's rate of 136. The maternal-mortality rate was 7-38, which represents an increase over the figure for 1934 which was 6-04 per 1,000 live births. Dr. Paget in his section of this report has some comments on the problem of maternal mortality amongst Maoris. For some time the Department has felt the need for inaugurating a better health educational service amonst the Maoris, supplementing the work of the Maori Women's Institutes in this connection, and giving particular attention to the hygiene of the home. The sympathy of the Carnegie Foundation was enlisted, and a grant was made by the Foundation for a scholarship to enable a selected Maori nurse to receive training at the Domestic Science School, Otago University. The nurse selected for the scholarship was Miss E. Kaa, of Rotorua Hospital. At the completion of the course of her training, Miss Kaa was appointed to the Department's staff and stationed in the North Auckland District. Reference to her work and also to the activities of the Maori Women's Institutes is contained in the report of the Director, Division of Nursing. Dr. Cook, Whangarei, in commenting on the health of the Maoris in the North Auckland Health District, states:— " Apart from skin diseases, tuberculosis and other respiratory diseases remain the scourge of the Maori, and despite all our efforts, it sometimes appears that the amount of tuberculosis is increasing, but I am sure that this is not so. " As a result of our educational efforts the Maori is becoming more conscious of his various ailments, and associated with this is the more easy access to the far back settlements. These factors alone account for the apparent increase in tuberculosis. This explanation does not, however, alleviate the distressing condition in any way, and tuberculosis is still the worst side of the Maori health problem. " It appears so easy to say that we ought to do something for this, but I am convinced that real improvement can come only as a result of the efforts of the Maoris themselves, associated with better housing, clothing, and feeding. This is one of the most depressing parts of a Health Officer's work, because it appears so difficult to do anything for these people who do not seem to be able to understand the most elementary ideas of hygiene and sanitation. Accustomed as most of them have been to their present conditions from birth, these conditions have now become part and parcel of their nature, and any sudden improvements that we may introduce only make them feel uncomfortable, with a tendency towards reversion to their primitive conditions. Thus a new house will be of no use without a new mentality to go with it. A great part of our duties, therefore, will be to create this new mentality, which all are endeavouring to do, finding, however a difficulty in making ourselves comprehensible by theoretical teaching. " The Institute work among the women, of which there was a demonstration at Pukepoto in February last, opens up a new field to this work. Its possibilities are very far reaching, and it is pleasing to relate that our nurses are very interested in this work and endeavouring to further it to the utmost of their power." Dr. B. Wyn Irwin, Gisborne, in reporting on Maori Hygiene in the East Coast Health I )istrict, states: — " This problem, the prime consideration in this district, was this year chiefly attacked through the nine district nurses, virtually " Native health nurses and visitors," who, by their continual home, pa, and school visits for treatment, supervision, inoculations, health talks and demonstrations, keep the Department's activities and powers in the Maori eye. They are aided by inspectors who not only deal with infectious diseases but supervise tangis and tribal meetings, see to improvements in the kaingas and meeting-houses, and generally augment the nurses' authority whēh required." General. New Health District.—The South Auckland Health District was constituted and placed in charge of a Medical Officer of Health stationed at Hamilton. This new district comprises the Waikato and Taumarunui Hospital Districts. This step was taken in pursuance of the policy of breaking up the larger districts, especially where there is a fairly large Maori population, in order that more intensive attention may be given to public health matters. National Health Insurance,—All political parties at last general election were in agreement as to the need for a national health insurance system for New Zealand. The present Government has indicated its intention to hold an inquiry at an early date into this question, at which all parties concerned will be given an opportunity of submitting evidence. It is understood that the New Zealand Branch of the British Medical Association, the Pharmaceutical Society, the Registered Nurses' Association, and other organizations are taking special steps to assemble their views on the various phases of the proposal.

6

H— 31.

Housing.—The housing question is one of paramount importance when dealing with the community health in general and the problem of tuberculosis in particular. There undoubtedly exist, particularly in our city areas, many conditions which call for amelioration. Thus Dr. Hughes, Medical Officer of Health, Auckland, instituted a survey of the poorer quarters of Auckland City, on which he reports as follows: — " With a view to checking off the present condition of housing in the poorer portion of the city, a survey was carried out by officers of this Department. This house-to-house inspection revealed the necessity for a more rigid inspection by the City Sanitary Department. Several premises were found to be in a condition which justified their demolition, many others required structural repairs and improvements, and two areas were in such a condition as to justify their reference to the City Council with a view to action being taken under powers conferred by section 305 of the Municipal Corporations Act. The results of these inspections have been submitted to the City Council and their Sanitary Department with the result that the premises recommended for demolition have now been pulled down and a house-to-house inspection of the area by the Council's inspectors is now in progress." Again, Dr. Maclean, Medical Officer of Health, Wellington, writes as follows: — " The problem of housing appears likely to occupy a very prominent position during the coming years, and there can be little doubt that there is a considerable deficiency to be made up. In Wellington City, owing to lack of space and the resultant high purchase and rental value of land, the question of housing always presents difficulties, and this has been further aggravated by the financial difficulties in which many people have been placed during the past few years. There is a considerable amount of land, at present occupied by old and unsatisfactory dwellings, which might be required in the future for industrial and commercial purposes, and this possibility prevents the owners themselves from erecting suitable dwellings or selling the land at a price which is economic for residential purposes. As a result a larger area than will ever be required for business purposes is withheld from fulfilling its proper function. There are difficulties involved in defining clearly what land may be used only for residential purposes, but if it were achieved it would liberate a considerable area at a greatly reduced cost to the eventual householders." Pollution of Streams. —The growth of population and the establishment of industries will require, in the near future, measures for guarding against pollution of rivers and streams. New Zealand is fortunate in the abundance of pure rivers, and streams with which the country is watered, but watchfulness will be required to preserve them from contamination dangerous to public health. A report on this problem received from Dr. Maclean, Medical Officer of Health, Wellington, states: — " Some investigation has been made regarding the pollution of rivers. Up to the present fortunately few of our rivers are badly polluted, but with increasing population the problem cannot be left to look after itself. The Manawatu River is an example of the surprising amount of pollution that a large river can absorb without harmful effect, but this does not lessen the necessity of keeping as much as possible of our industrial wastes out of our rivers. For dairy factories and freezing works, land treatment offers a cheap and satisfactory alternative method of disposing of waste waters, and, if carefully controlled, increases the grazing value of the land used. In time to come the adoption of more scientific methods of sewage treatment by large inland towns will become a necessity." Provision of Milk for School-children. —The Department has co-operated with various efforts for increased consumption of milk among school-children. Dr. Hughes, Medical Officer of Health, Auckland, has submitted a report on this work, from which the following extract is taken:— " During the year, the Milk Committee of the City Council undertook the distribution of free milk to a number of city schools. The scheme was put into operation hurriedly, without proper facilities being made at the schools for storage and distribution of the milk. Numerous inspections have been made of the methods employed in distribution and storage, and recommendations made to schoolmasters and the Education Board with a view of improvements being carried out. Samples of the milk were periodically taken for chemical and bacteriological examination. The various defects in the distribution and storage were discussed with the Milk Committee of the City Council Committee, representatives of school committees, and headmasters, and this year arrangements were made for the distribution of milk in bottles as far as possible, with the aim of extending this as soon as practicable. " It is estimated that the cost of the scheme was a half-penny per day per child.

7

H.—3l.

" Apart from inspections to ensure satisfactory storage and distribution of milk at the schools, a check was kept on the weight and height of 800 children being supplied with milk, and also about 1,000 children at schools which were not supplied with milk. The results were:— Schools which received Milk— Weight. Height. Percentage gained, 58-8 per cent. Percentage gained, 78-3 per cent. Percentage stationary, 13-2 per cent. Percentage stationary, 21-7 per cent. Percentage decreased, 28 per cent. Schools which did not receive Milk— Weight. Height. Percentage gained, 34 per cent. Percentage gained, 79 per cent. Percentage stationary, 12 per cent. Percentage stationary, 21 per cent. Percentage decreased, 54 per cent. " It is interesting to note that the pupils in the schools which did not receive milk held their own as far as height was concerned, but with 'those who received milk a greater proportion gained definitely in weight in comparison with the other group. " I have to point out that the period covered by the investigation was a very short one and there was a possibility of other factors coming into play—for example, the weighings were carried out with the children fully clothed. Steps were taken as far as practicable to allow for this factor, but it is possible that some degree of inexactness in the weights may have been recorded. " The scheme at first arranged to supply about 5,500 children in October, but later the scheme was extended to other schools. The children up to Standard IV were supplied with approximately half a pint of milk; but there was generally a surplus which was given to children in the higher standards who desired it or were of poor physique. " Samples of milk being distributed to the schools were submitted for chemical and bacteriological analysis. The lowest bacteriological count was 650 colonies per c.c. Taking for example twelve samples, ten were under 20,000 bacterial count, one under 30,000, and one about 100,000. " The chemical analysis shows that the milk samples were of a high standard. " It is obvious that the open method of distributing milk from cans is unsatisfactory in any case, and especially pasteurized milk, and in school under the existing conditions it is liable to entail serious risks to health. The pasteurized milk should be delivered only in bottles or other sealed containers at any time. In many parts of the world the milk is supplied to school-children in bottles and " straws " are provided, and the bottles should be returned to the depots as soon as possible for cleansing and sterilizing." Poisons Act and Regulations.—The Poisons Act, 1934, which came into force on Ist April, 1935, is being brought into effective operation. The licensing of wholesalers, or storekeepers selling " farm " poisons, and of storekeepers requiring an extended license when situated more than five miles from the nearest chemist, has been established. Considerable attention has been given to the preparation of regulations relating principally to labelling, packing, storage, and transport, and full opportunity now having been given to all concerned to consider the proposals and to make any representations, the draft is practically ready for submission to the Executive Council. Dangerous Drugs. — The wholesale and retail dealers have co-operated with the Department in the administration of the Dangerous Drugs Act and regulations. Inspection of the registers shows that an endeavour has been made to see that the records are promptly and accurately kept. Health Education. —This sphere of the Department's activities has received close attention. Through the publication and distribution of maternal welfare, school medical service, and dental hygiene literature an endeavour has been made to educate an extensive section of the population in health matters affecting their children and themselves. The weekly health talks from 2YA by the Department's representative and the radio addresses given by the School Medical Officers in the educational sessions arranged by the Broadcasting Board represent an important aspect of this work. Articles of a public health nature have been contributed to the press, and officers have delivered many addresses to various organizations. Information has been supplied on New Zealand public health work to overseas authorities and visitors to the Dominion. The great progress that has been made in the production of cinematograph films suitable for the education of public health workers and the general public suggests that in the future something might be undertaken in this direction. A number of new books and publications have been added to the Department's library, thereby increasing its reference value to officers. Further reference to the subject of health education will be found in some of the divisional reports. The New Zealand Branch of the Royal Sanitary Institute.—The New Zealand Branch of the Royal Sanitary Institute, formed in 1934, is exerting a sound educational influence among its members. " Programmes of lectures and discussions have been carried out in various centres and the Institute's Journal is providing a useful means for the dissemination of technical knowledge on public health subjects. It is a matter of satisfaction that the

8

H.—3l.

membership of the Branch has been considerably augmented and now numbers 204. The members of the Institute residing in Fiji have been linked up with the New Zealand Branch. Boards Associated with the Department. — The various Boards associated with the Department—namely, the Board of Health, Medical Council, Plumbers Board, Opticians Board, Masseurs Board, Nurses and Midwives Registration Board —have continued their work during the year. Reference to the work of the last-mentioned Board will be found in the report of the Director, Division of Nursing. The Department acknowledges its indebtedness to the members of these Boards for their able service. Staff. —I regret to record the death of Dr. W. F. Findlay, an officer who was held in high esteem, and who served the Department with conspicuous ability and loyalty for nearly twenty years. Additions to Staff. —Dr. C. B. Gilberd and Dr. L. R. Davis were appointed as Medical Officers of Health. This much needed addition to the staff will enable the Department more adequately to carry out its complex and ever widening duties and responsibilities. In conclusion, I wish to express my thanks for the support rendered me by officers during the year. M. H. WATT, Director-General of Health.

PAET 11. PUBLIC HYGIENE.

I have the honour to submit my annual report for the year ended 31st March, 1935. SECTION 1: VITAL STATISTICS. (Exclusive of Maori unless otherwise stated.) POPULATION. The mean population of the Dominion for 1935 was estimated to be 1,485,824. This total represents an increase over the corresponding figure for the previous year of 8,836, or a percentage increase of population of 0 60. BIRTHS. The births of 23,965 living children were registered in the Dominion during 1935, as against 24,322 in 1934. The birth-rate for the year was 16-13 per 1,000 of mean population. The general course of the birth-rate during the last five years is shown in the following table: — Births (Number and Rate) in New Zealand, 1931-35. ~ Total Number of Birth-rate per 1,000 ear - Births registered, of Mean Population. 1931 .. .. ~ .. .. 26,622 18-42 1932 .. .. .. .. .. 24,884 17-09 1933 .. .. .. .. .. 24,334 16-59 1934 .. .. .. .. .. 24,322 16-47 1935 23,965 16-13 The birth-rate steadily declines. The natural increase (excess of births over deaths) was 11,748 persons, or only 0 80 per cent, of the total population. Loss during the year in the migration balance accounts for the increase in population being only 0-60 per cent. DEATHS. The deaths registered during the year numbered 12,217, a decrease of 310 over the figure for 1934- (12,527). Crude Death-rates. v Crude Death-rate per v , Crude Death-rate per ar - 1,000 Mean Population. eal " 1,000 Mean Population. 1930 .. .. 8-56 1933 .. .. .. 7-98 1931 .. .. 8-34 1934 .. .. .. 8-48 1932 .. .. 8-02 1935 .. .. .. 8-22 Deaths from All Causes. The total number of deaths was 12,217, the crude death-rate per 1,000 of mean population being 8-22. Standardized on the basis of the age and sex constitution of the population at the time of the census taken in 1911, the rate becomes 6-76. The age and sex constitution of the population is constantly changing, and with an increase in the percentage of elderly people the crude death-rate naturally rises. The effects of this change are eliminated by standardization. When, however, the death-rates for most of the chief causes of death are being considered, another factor which cannot be accurately estimated comes into play—change in the cause of death as certified on the individual death certificates. This change has been very marked of recent years in the case of deaths at the age of 65 years of age and over. In Table A are shown four quinquennial periods from 2—H. 31. <c

9

H.—3l.

1900-04 and in Table B the increases and decreases between the periods given. The most marked changes are the decline in senility and the increase in heart disease as the certified cause of death, but it will be noticed, also, that in respiratory diseases and in other causes not listed, the decline lias been considerable. Many of the changes shown in the table are probably due, in great part, not to increase or decrease in the actual cause of death, but in the recorded cause. The 6-3 per cent, of the population 65 years of age and over contributed 48-25 per cent, of the total deaths. Leaving this section of the community out of account for the moment, there is still a fertile field for preventive medicine in the remaining 93-7 per cent, under 65 years of age.

Table A. —Average Yearly Death-rates per 10,000 for that Section of the Population of 65 Years of Age and over, standardized on the Basis of the Age and Sex Constitution of the Population 65 Years of Age and over at the Time of the Census taken in 1911.

Table B. —Increase or Decrease in the Average Yearly standardized Death-rates shown in Table A for each Quinquennium as compared with the Rate for the previous Quinquennium given.

Still-births. A still-born child is defined as one " which has issued from its mother after the expiration of the twenty-eighth week of pregnancy, and which was not alive at the time of such issue." Still-births have been compulsorilv registrable in New Zealand since March, 1913. In 1935 still-births numbering 738 were registered, an increase of 51 on the figure for the previous year.

10

, Cerebral Pneumonia, 6 ®f es ,, Q .... Haemorr- M , ... Bronchitis, Other All Causes. of the Cancer. Senility. hage and Nephritis. and Heart. Apoplexy. Pleurisy. Males. 1900-0-1.. 715-32 140-30 66-00 161-73 50-05 28-38 81-84 217-02 1910-14.. 750-26 170-64 78-02 150-41 51-12 29-84 60-49 209-74 1920-24.. 713-39 185-94 83-50 131-11 57-56 25-10 65-09 165-09 1930-34.. 689-95 254-81 99-36 48-86 64-98* 36-89 41-23 143-82 . Females. 1900-04.. 637-94 111-88 57-05 165-11 50-46 13-13 74-59 165-72 1910-14.. 644-24 134-73 75-08 144-14 60-19 15-10 57-85 157-15 1920-24.. 627-58 158-26 78-39 116-99 67-37 17-66 54-71 134-20 1930-34.. 589-29 221-51 77-08 41-17 76-47* 31-13 ! 33-39 107-54 Persons. 1900-04.. 700-01 128-31 62-23 163-15 50-22 21-95 78-78 195-37 1910-14.. 705-53 155-49 76-78 147-77 54-94 23-62 59-38 187-55 1920-24.. 677-18 174-26 81-34 125-15 61-70 21-96 60-71 152-07 1930-34.. 647-48 241-18 89-96 45-62 69-83* 34-46 37-92 128-51 * Arterial disease with record of .cerebral vascular lesion included to make figures comparable with earlier quin - quennia.

Cerebral Pnemonia, ,1. „ Diseases Haemorr- AT , ... Bronchitis, Other All Causes. of the Cancer. Senility. hage and Nephritis. an(J Catjses _ Heart. Apoplexy. Pleurisy. Males. 1910-14.. +4-94 +30-34 | +12-02 j -11-32 +1-07 + 1-46 -21-35 - 7-28 1920-24.. —36-87 +15-30 + 5-48 —19-30 +6-44 — 4-74 + 4-60 —44-65 1930-34.. -23-44 +68-87 1 +15-86 I -82-25 +7-42 +11-79 -23-86 -21-27 Females. 1910-14.. + 6-30 +22-85 +18-03 -20-97 +9-73 + 1-97 -16-74 - 8-57 1920-24.. —16-66 +23-53 + 3-31 —27-15 +7-18 + 2-56 — 3-14 —22-95 1930-34.. -38-29 +64-25 - 1-31 -75-82 +9-10 +13-47 -21-32 -26-66 Persons. 1910-14.. + 5-52 +27-18 +14-55 -15-38 +4-72 + 1-67 -19-40 - 7-82 1920-24.. —28-35 +18-77 + 4-56 —22-62 +6-76 — 1-66 + 1-53 —35-48 1930-34.. —29-70 +66-92 + 8-62 —79-53 +8-13 +12-50. —22-79 —23-56

H.—3l.

Last year it was pointed out that the decrease in the number of still-births during 1933-34 was accompanied by an increase in the number of deaths of infants within twenty-four hours of birth. In 1935, there was an increase in still-births but a decrease in deaths within twenty-four hours of birth. In the table below the number of still-births and the rate per 1,000 live births for the last five years are given:— Still-births (Number and, Rate) in New Zealand, 1931-35. Total Number of Rate of Stilly ear . Still-births births per 1,000 registered. Live Births. 193 809 30-4 1932 . .. .. •• ..746 30-0 1933 722 29-7 1934.. .. ■■ •• •• 687 28-3 1935 .. .. ■ ■ • • • ■ .. 738 30-8 (Note. —Still-births are not included, either as births or deaths, in the various numbers and rates given elsewhere in this report.) The Principal Causes of Death. The following table" gives the main causes of deaths during the year and the actual number of deaths therefrom, and also the death-rates per 10,000 of mean population for each of the last five years:-—

Heart Disease (all forms). —The total number of deaths and the crude death-rate per 10,000 of mean population due to some form of heart disease continue to increase. Judged from, these figures, the outlook does not appear promising, but when the figures are analysed and the various factors affecting the number of deaths are considered, the position is found to be more encouraging. . . When the factor of changing age and sex constitution of the population is eliminated by standardizing the death-rate, the rate thus obtained still shows a marked increase, indicating that heart disease as the certified cause of death is increasing. When, however, the population is divided into two groups, those under sixty-five years of age and those of sixty-five years of age and over, and standardized rates calculated, it is found that the increase during the past thirty-five years has occurred in the older age-group.

11

1935. 1934. j 1933. 1932. 1931. Cause. I Number. Rate. Rate. Rate. Rate. Rate. Heart Disease (all forms) . . •• 3,458 23-27 22-67 21-12 20-15 19-50 CaIlcer . 1,656 11-15 11-50 11-07 10-11 10-33 Violence i. .. .. .. 778 5-24 5-71 5-61 6-37 8-06 Chest Disease (total) .. 712 4-79 5-05 4-42 5-23 5-88 Pneumonia .. . . • • • ■ 240 1 • 61 1-73 1-65 1-91 2 • 26 Pneumonia (secondary to influenza), 32 0-22 0-38 0-34 0-35 0-96 Whooping-cough, and Measles Bronchitis . 199 1-34 1-47 1-21 1-42 1-40 Broncho-pneumonia . . . • • ■ 241 1-62 1-47 1-23 1-55 Tuberculosis (all forms) .. .. 576 3-88 4-20 4-16 4-22 4-27 Kidney or Bright's Disease .. .. 528 3-55 3-79 3-82 3-98 4-01 Apoplexy or Cerebral Haemorrhage .. 721 4-85 4-94 4-62 4-20 4-39 Diseases of the Arteries .. 388 2-61 2-57 2-80 3-05 Senility .. .. ■ ■ 354 2-38 3-09 2-30 3-01 2-96 Diabetes .. ■. ■ ■ • • 226 1 -52 1 ■ 69 1-56 1-57 1 ■ 57 Hernia and Intestinal Obstruction.. .. 100 0-67 0-65 0-76 0-65 0-58 Diseases and accidents of childbirth (maternal 101 0-68 0-80 0-74 0-69 0-88 mortality) Appendicitis .. .. 107 0-72 0-78 0-74- 0-69 0-73 Diarrhoea and Enteritis . . . . . ■ 81 0-55 0-39 0-41 0-47 0-51 Epilepsy .. 43 0-29 0-35 0-28 0-28 0-38 Common Infectious Diseases. Influenza (all forms, including Pneumonia) .. 110 0-74 1-26 0-70 0-46 1-53 Diphtheria .. .. .. ■ • 33 0-22 0-18 0-18 0-27 0-38 Whooping-cough .. .. 42 0-28 0-27 0-12 0-30 0-25 Scarlet Fever .. .. •• •• 8 0-05 0-05 0-03 0-04 0-08 Typhoid . •• •• 10 0-07 0-01 0-04 0-05 0-06 Measles 1 0-01 0-31 0-12 0-05 0-06

H.—3l.

12

H.—3l.

In Table C are given standardized death-rates for the two groups mentioned and for the sexes separately. It will be seen that whilst in the case of males under sixty-five years of age the rate has remained practically stationary, the female rate has markedly improved. The male rate is adversely affected by the loss of many healthy men during the war, and probably by the strain of war service beginning to show its effects as those who returned become older. It is probable that the male rate will fail to show improvement for many years to come. The marked rise in the rates for the older groups shown is mainly, if not wholly, due to more accurate certification of the cause of death. That this marked increase has been coincident with a somewhat more marked decrease in deaths certified as due to senility is well shown in the accompanying graph, in which the trend of the death-rates from the two conditions is shown from 1899 to 1935.

Table C. —Averate Yearly standardized Death-rate from Diseases of the Heart by Quinquennial Periods.

Note.—ln the above table, and also wherever in this report standardized rates are given for deaths " Under sixty-five years of age " and " Sixty-five years of age and over such rates have been calculated on. the basis of the age and sex constitution of the population in these respective age-groups at the time of the census taken in 1911. Cancer and other Malignant Tumours. —In Table D are shown the average yearly standardized death-rates for four quinquennial periods from 1900 to 1934, not only for all ages, but for the two sections of population above and below sixty-five years of age. The quinquennia during which maximum and minimum average rates occurred are also shown. These have been extracted from the tables of five-yearly moving average rates used in the preparation of the accompanying graphs. In the population under sixty-five years of age, for males, and for the sexes combined, the maximum average rates occurred daring the period 1911-15, and for females a few years later—l9l7-21. Since then the rate has had a definite downward tendency, with a slight upward trend for males during the past few years. In that section of the population of sixty-five years of age and over, the minimum rates occurred at the beginning of the period, and increased until the maximum was reached during 1920-24 in the case of females and 1926-30 for males and the sexes combined. It appears that the position has been reached where more accurate diagnosis, made possible by advances in medical and other sciences, results in the number of recorded cases corresponding much more closely to the number of actual cases occurring. The figures also give occasion for a certain amount of optimism. The maximum rates for the four groups shown in the tables all occurred some years ago, indicating the probability that some success is attending modern methods of treatment. The publicity given to cancer during the past generation, and the stress laid on the importance of the sufferer seeking advice as early as possible, are no doubt also important factors in this respect. In Table E, two periods (1920-24 and 1930-34) are compared to show the changes which have occurred in the recorded prevalence of cancer and other malignant tumours of various sites. The sites shown are those listed in the International List of Causes of Deaths. In some cases the rates are too low to have any significance, but a perusal of the table shows that there have apparently been some marked changes during the period. Cancer of the liver and biliary ducts has decreased in all groups given, but cancer of the pancreas has increased. The only other site in which an increase is shown in all groups is cancer of the genital organs and this increase is almost wholly due to cancer of the prostate in males and of the ovary in females. A key to the interesting situation that marked changes in site have occurred coincident with a decrease in the rates for cancer as a whole—except in the case of males of sixty-five years of age and over—is to be found on analysis of the cases recorded under " Other organs and site unspecified ". The use of such general terms as thorax, chest, abdomen, disseminated, &c., is decreasing with the inevitable result that other sites now bear the burden of the cases removed from this category. Three examples are given at the foot of the table.

13

Under Sixty-five Years Sixty-five Years of Age of Age. and over. Males. Females. Persons. Males. Females. | Persons. 1900-04 .. .. 5-88 5-58 5-73 140-30 111-88 128-31 1905-09 .. .. 6-26 5-40 5-85 158-45 114-23 139-80 1910-14 .. .. 5-94 5-22 5-60 170-64 134-73 155-49 1915-19 .. .. 5-87 4-79 5-36 163-68 136-17 152-07 1920-24 .. .. 6-29 5-06 5-70 185-94 158-26 174-26 1925-29 .. .. 5-33 4-01 4-71 207-63 180-42 196-15 1930-34 .. .. 5-88 4-06 5-01 | 254-81 222-51 241-18 1935 .. .. 6-04 4-03 5-08 I 276-15 232-15 257-59 I •

H.—3l.

Table D. —Cancer and other Malignant Tumours: Average Yearly standardized Death rates for Quinquennia shown below (per 10,000 of Population).

Table E. —Cancer and other Malignant Tumours: Average Yearly standardized Deathrates per Million of Mean Population (in the Age-groups given) by Site.

Tuberculosis (all Forms).

14

H.—31. 14 Table D. —Cancer and other Malignant Tumours : Average Yearly standardized Death rates for Quinquennia shown below (per 10,000 of Population). Under Sixty-five Years of Age. Sixty-five Years of Age and over. All Ages. Males. Females. Persons. Males. Females. Persons. Males. Females, j Persons. 1900-04 .. 3-82 4-76 4-26 66-00 57-05 62-23 7-03 6-97 7-00 1910-14 .. 4-28 4-72 4-49 78-02 75-08 76-78 8-11 7-70 7-91 1920-24 .. 4-19 4-60 4-39 83-50 78-39 81-34 8-28 7-72 8-02 1930-34 .. 3-84 4-44 4-12 99-36 77-08 89-96 8-80 7-49 8-18 1935 .. 4-02 4-50 4-24 97-79 69-39 85-81 8-88 7-23 8-10 Maximum Rates. 1911-15 .. 4-31 .. 4-56 1917-21 .. .. 4-95 .. .. .. .. .. 8-01 1920-24 .. .. .. .. .. 78-39 1926-30 .. .. .. .. 101-56 .. 90-92 8-96 .. 8-33 Minimum Rates. 1900-04 .. .. .. .. 66-00 57-05 62-23 7-03 6-97 7-00 1905-09 .. 3-71 1929-33 .. .. 4-41 4-09 Table E. —Cancer and other Malignant Tumours : Average Yearly standardized Deathrates per Million of Mean Population (in the Age-groups given) by Site. Under Sixty-five Years of Age. Sixty-five Years of Age and over. Site. Males. Females. Persons. Males. Females. Persons. 1920- 1930- 1920- 1930- 1920- 1930- I 1920- 1930- 1920- 1930- 1920- 19301924. 1934. 1924. 1934. 1924. 1934. 1924. 1934. 1924. 1934. 1924. 1934. Buccal cavity and pharnix .. 41 26 9 8 26 17 | 823 1,079 162 137 844 682 Oesophagus" .. . . 28 19 9 9 19 14 345 511 74 177 231 370 Stomach and duodenum .. 119 110 54 48 88 81 12,254 2,637 1,595 1,588 1,976 2,194 Rectum .. . . .. 28 27 21 19 25 23 I 595 705 456 487 536 613 Liver and biliary ducts .. 34 15 34 13 34 14 744 484 863 600 795 533 Pancreas .. . . .. 14 17 6 13 10 15 199 393 126 350 168 375 Peritoneum . . .. 2 2 4 4 3 3 13 10 5 10 10 10 Other organs of the digestive 37 41 48 41 42 41 903 1,237 1,278 1,249 1,061 1,242 tract Respiratory system.. .. 22 40 18 13 20 27 | 266 401 64 153 181 297 «kin . . .. .. 6 7 2 5 4 6 346 327 218 182 292 266 Urinary system .. .. 16 21 10 10 13 16 276 270 151 224 223 250 Genital 'organs (excluding 8 26 20 41 14 33 715 1,487 232 391 512 1,025 uterus) Uterus . . .. 78 77 37 37 . . .. 752 654 317 276 Breast (female) .. 84 112 40 54 .. .. 905 1,204 382 508 Other organs and site unspeci- 64 33 64 30 64 32 870 401 958 301 907 359 fied Total, all sites .. 419 384 461 443 439 413 8,351 9,942 7,839 7,707 8,135 9,000 Included in " Other Organs and Unspecified " — Abdomen .. . . 4 1 8 2 6 1 102 5 140 59 118 28 Unspecified . . . . 13 3 11 4 12 4 72 32 114 .. 90 19 Disseminated .. .. 21 .. 23 .. 22 .. 289 . . 333 .. 308 l__ ___ Tuberculosis (all Forms). Number of Death-rate from Number of Death-rate from Year. Deaths from Year ' Deaths from Tuberculosis. Tuberculosis. U Z^L. 1930 .. .. 649 4-55 1933.. .. 611 4-16 1931 .. .. j 617 4-27 I 1934.. .. j 621 4-20 1932 .. .. j 615 4-22 : 1935.. .. 576 3-88

H.—31. 14 Table D.—Cancer and other Malignant Tumours : Average Yearly standardized Death rates for Quinquennia shown below (per 10,000 of Population). Under Sixty-five Years of Age. Sixty-five Years of Age and over. All Ages. Males. Females. Persons. Males. Females. Persons. Males. Females, j Persons. 1900-04 .. 3-82 4-76 4-26 66-00 57-05 62-23 7-03 6-97 7-00 1910-14 .. 4-28 4-72 4-49 78-02 75-08 76-78 8-11 7-70 7-91 1920-24 .. 4-19 4-60 4-39 83-50 78-39 81-34 8-28 7-72 8-02 1930-34 .. 3-84 4-44 4-12 99-36 77-08 89-96 8-80 7-49 8-18 1935 .. 4-02 4-50 4-24 97-79 69-39 85-81 8-88 7-23 8-10 Maximum Rates. 1911-15 .. 4-31 .. 4-56 1917-21 .. .. 4-95 .. .. .. .. .. 8-01 1920-24 .. .. .. .. .. 78-39 1926-30 .. .. .. .. 101-56 .. 90-92 8-96 .. 8-33 Minimum Rates. 1900-04 .. .. .. .. 66-00 57-05 62-23 7-03 6-97 7-00 1905-09 .. 3-71 1929-33 .. .. 4-41 4-09 Table E.—Cancer and other Malignant Tumours : Average Yearly standardized Deathrates per Million of Mean Population (in the Age-groups given) by Site. Under Sixty-five Years of Age. Sixty-five Years of Age and over. Site. Males. Females. Persons. Males. Females. Persons. 1920- 1930- 1920- 1930- 1920- 1930- I 1920- 1930- 1920- 1930- 1920- 19301924. 1934. 1924. 1934. 1924. 1934. 1924. 1934. 1924. 1934. 1924. 1934. Buccal cavity and pharnix .. 41 26 9 8 26 17 | 823 1,079 162 137 844 682 Oesophagus" .. . . 28 19 9 9 19 14 345 511 74 177 231 370 Stomach and duodenum .. 119 110 54 48 88 81 12,254 2,637 1,595 1,588 1,976 2,194 Rectum .. . . .. 28 27 21 19 25 23 I 595 705 456 487 536 613 Liver and biliary ducts .. 34 15 34 13 34 14 744 484 863 600 795 533 Pancreas .. . . .. 14 17 6 13 10 15 199 393 126 350 168 375 Peritoneum . . .. 2 2 4 4 3 3 13 10 5 10 10 10 Other organs of the digestive 37 41 48 41 42 41 903 1,237 1,278 1,249 1,061 1,242 tract Respiratory system.. .. 22 40 18 13 20 27 | 266 401 64 153 181 297 «kin . . .. .. 6 7 2 5 4 6 346 327 218 182 292 266 Urinary system .. .. 16 21 10 10 13 16 276 270 151 224 223 250 Genital 'organs (excluding 8 26 20 41 14 33 715 1,487 232 391 512 1,025 uterus) Uterus . . .. 78 77 37 37 . . .. 752 654 317 276 Breast (female) .. 84 112 40 54 .. .. 905 1,204 382 508 Other organs and site unspeci- 64 33 64 30 64 32 870 401 958 301 907 359 fied Total, all sites .. 419 384 461 443 439 413 8,351 9,942 7,839 7,707 8,135 9,000 Included in " Other Organs and Unspecified " — Abdomen .. . . 4 1 8 2 6 1 102 5 140 59 118 28 Unspecified . . . . 13 3 11 4 12 4 72 32 114 .. 90 19 Disseminated .. .. 21 .. 23 .. 22 .. 289 . . 333 .. 308 l__ ___ Tuberculosis (all Forms). Number of Death-rate from Number of Death-rate from Year. Deaths from Year ' Deaths from Tuberculosis. Tuberculosis. U Z^L. 1930 .. .. 649 4-55 1933.. .. 611 4-16 1931 .. .. j 617 4-27 I 1934.. .. j 621 4-20 1932 .. .. j 615 4-22 : 1935.. .. 576 3-88

H.—31. 14 Table D.—Cancer and other Malignant Tumours : Average Yearly standardized Death rates for Quinquennia shown below (per 10,000 of Population). Under Sixty-five Years of Age. Sixty-five Years of Age and over. All Ages. Males. Females. Persons. Males. Females. Persons. Males. Females, j Persons. 1900-04 .. 3-82 4-76 4-26 66-00 57-05 62-23 7-03 6-97 7-00 1910-14 .. 4-28 4-72 4-49 78-02 75-08 76-78 8-11 7-70 7-91 1920-24 .. 4-19 4-60 4-39 83-50 78-39 81-34 8-28 7-72 8-02 1930-34 .. 3-84 4-44 4-12 99-36 77-08 89-96 8-80 7-49 8-18 1935 .. 4-02 4-50 4-24 97-79 69-39 85-81 8-88 7-23 8-10 Maximum Rates. 1911-15 .. 4-31 .. 4-56 1917-21 .. .. 4-95 .. .. .. .. .. 8-01 1920-24 .. .. .. .. .. 78-39 1926-30 .. .. .. .. 101-56 .. 90-92 8-96 .. 8-33 Minimum Rates. 1900-04 .. .. .. .. 66-00 57-05 62-23 7-03 6-97 7-00 1905-09 .. 3-71 1929-33 .. .. 4-41 4-09 Table E.—Cancer and other Malignant Tumours : Average Yearly standardized Deathrates per Million of Mean Population (in the Age-groups given) by Site. Under Sixty-five Years of Age. Sixty-five Years of Age and over. Site. Males. Females. Persons. Males. Females. Persons. 1920- 1930- 1920- 1930- 1920- 1930- I 1920- 1930- 1920- 1930- 1920- 19301924. 1934. 1924. 1934. 1924. 1934. 1924. 1934. 1924. 1934. 1924. 1934. Buccal cavity and pharnix .. 41 26 9 8 26 17 | 823 1,079 162 137 844 682 Oesophagus" .. . . 28 19 9 9 19 14 345 511 74 177 231 370 Stomach and duodenum .. 119 110 54 48 88 81 12,254 2,637 1,595 1,588 1,976 2,194 Rectum .. . . .. 28 27 21 19 25 23 I 595 705 456 487 536 613 Liver and biliary ducts .. 34 15 34 13 34 14 744 484 863 600 795 533 Pancreas .. . . .. 14 17 6 13 10 15 199 393 126 350 168 375 Peritoneum . . .. 2 2 4 4 3 3 13 10 5 10 10 10 Other organs of the digestive 37 41 48 41 42 41 903 1,237 1,278 1,249 1,061 1,242 tract Respiratory system.. .. 22 40 18 13 20 27 | 266 401 64 153 181 297 «kin . . .. .. 6 7 2 5 4 6 346 327 218 182 292 266 Urinary system .. .. 16 21 10 10 13 16 276 270 151 224 223 250 Genital 'organs (excluding 8 26 20 41 14 33 715 1,487 232 391 512 1,025 uterus) Uterus . . .. 78 77 37 37 . . .. 752 654 317 276 Breast (female) .. 84 112 40 54 .. .. 905 1,204 382 508 Other organs and site unspeci- 64 33 64 30 64 32 870 401 958 301 907 359 fied Total, all sites .. 419 384 461 443 439 413 8,351 9,942 7,839 7,707 8,135 9,000 Included in " Other Organs and Unspecified " — Abdomen .. . . 4 1 8 2 6 1 102 5 140 59 118 28 Unspecified . . . . 13 3 11 4 12 4 72 32 114 .. 90 19 Disseminated .. .. 21 .. 23 .. 22 .. 289 . . 333 .. 308 l__ ___ Tuberculosis (all Forms). Number of Death-rate from Number of Death-rate from Year. Deaths from Year ' Deaths from Tuberculosis. Tuberculosis. U Z^L. 1930 .. .. 649 4-55 1933.. .. 611 4-16 1931 .. .. j 617 4-27 I 1934.. .. j 621 4-20 1932 .. .. j 615 4-22 : 1935.. .. 576 3-88

H.—3l.

Of the 576 deaths from tuberculosis last year, 471 (=317) were assigned to pulmonary tuberculosis and 105 to other forms of the disease. Other Forms of Tuberculosis.—The 105 deaths last year from other forms of tuberculosis were distributed as follows:-— Tuberculosis of the meninges and central nervous system . . . . 40 Tuberculosis of intestines and peritoneum . . .. 22 Tuberculosis of vertebral column .. .. .. 14 Tuberculosis of bones and joints .. .. .. .... Tuberculosis of lymphatic system . . . . . . .... Tuberculosis of genito-urinary system .. . . . . 7 Tuberculosis of other organs .. .. . . .. 4 Disseminated tuberculosis .. . . . . • • . . 18 105 Tuberculosis of the Respiratory System.—The downward trend continues, the number of deaths, 471, being 20 lower than in 1934 and 5 lower than in 1933. It is necessary to go back to the early " eighties," when the population was under half a million, to find a lower number of deaths. The average crude death-rate per 10,000 of mean population for the period 1880-84 was 9-49, compared with 317 for 1935. The accompanying table (Table F) gives the standardized death-rates for every fifth year from 1910 to 1930, and for each year thereafter, for tuberculosis of the respiratory system and some of the forms of non-pulmonary tuberculosis. Tuberculosis other than of the Respiratory System.—Deaths from other forms of tuberculosis decreased by 25 from 130 in 1934 to 105 in 1935. Although very little investigation of the type of bacillus responsible for cases of tuberculosis other than pulmonary has been carried out in New Zealand, the small amount of information available points to approximately 80 per cent, of the cases being due to human type and 20 per cent, to the bovine type of bacillus. The decline in pulmonary tuberculosis inevitably leads to lessened risk of contacts contracting non-pulmonary tuberculosis due to the human type of bacillus, and the campaign against pulmonary tuberculosis is therefore the method of attack likely to have the greatest effect on the morbidity and mortality from these non-pulmonary forms of the disease. Disease due to the bovine type of bacillus can be prevented by the elimination of tuberculous cows from the herds supplying milk to the community and enlightened public opinion throughout the world is demanding that steps be taken in this direction. A greatdeal of valuable work in this respect has already been carried out in New Zealand by the Department of Agriculture. Proper pasteurization of milk for human consumption eliminates the risk of this disease, but such method of treatment of milk is only available in the larger centres of population. Several local authorities have recently taken an interest in the question of a tubercle-free milk-supply, and a.re taking steps to see that only such milk is supplied in their areas. The deaths from " Other forms of Tuberculosis " give no indication of the amount of sickness and suffering caused by the disease. In 1934 the number of cases treated in the public hospitals of the Dominion was 765. The number of deaths recorded was 130. These figures are not comparable, as the number of cases treated in public hospitals is not necessarily the total number of cases under treatment; and, in addition, the hospital figures include Maoris, whereas the deaths do not.

Table F.—Tuberculosis: Standardized Death-rates per Million of Mean Population.

15

«*— "gK» »——• S£ wJSzr'l «"»• Males. 1910 .. 756 617 21 63 27 28 1915 .. 637 528 18 48 10 33 1920 .. .. 723 571 33 59 18 42 1925 .. 557 448 15 53 17 24 1930 .. .. 467 387 14 31 14 21 1931 .. .. 437 348 9 50 9 21 1932 .. .. 419 328 26 34 11 20 1933 .. .. 401 310 18 30 4 39 1934 .. .. 427 326 17 57 4 23 1935 .. .. 398 312 10 38 20 18

H.—3l.

Table F. —Tuberculosis: Standardized Death-rates per Million of Mean Population.continued.

Infant Mortality : 773. The infant mortality rate for 1935 was 32-26 per 1,000 births.

Infant Mortality in New Zealand, 1930-35 (per 1,000 Live Births).

It will be seen from the above that there was a slight rise last year in the death-rate of infants. Analysis of Deaths of Infants under One Month of Age, 1935. The following table gives the causes of these deaths during the year:—

16

H.—31. 16 Table F.—Tuberculosis : Standardized Dkath-rates per Million of Mean Population.— continued. I I | ~ i Year. All Forms. | M e d , Meninges | Intestines and System. and C.N.S. | Peritoneum. J Females. 1910 .. .. 714 535 28 58 51 42 1915 .. .. 626 473 51 52 30 20 1920 .. .. 713 558 33 66 21 35 1925 .... 483 399 8 48 9 19 1930 .. .. 456 355 23 55 9 14 1931 .. .. 416 340 17 31 11 17 1932 .. .. 422 328 12 45 19 18 1933 .. .. 404 302 35 38 10 19 1934 .. ... 395 309 21 29 21 15 1935 .. .. 344 287 13 23 9 12 Persons. 1910 .. .. 736 578 24 60 38 36 1915 .. .. 632 502 34 50 20 26 1920 ... .. 718 565 33 63 20 37 1925 .. .. 522 425 12 51 14 20 1930 .. .. 462 372 18 42 12 18 1931 .. .. 427 344 13 41 10 19 1932 .. .. 420 328 19 39 • 15 19 1933 .. .. 402 306 26 34 7 29 1934 .. .. 412 318 19 44 12 19 1935 .. .. 372 300 12 31 15 14 I I J _ Infant Mortality: 773. The infant mortality rate for 1935 was 3226 per 1,000 births. Infant Mortality in New Zealand, 1930-35 (per 1,000 Live Births). ' ■ i .T A ! One Month and „, , , , TT , | One Month and m , , Vear Under j , T , Total under „ Under I , „ , Total under Year - One Month. \ Months Twelve Mouths - One Month - : Months Twelve Months I I I 1930 .. I 21-03 10-45 34-48 1933 .. 22-81 8-79 31-64 1931 .. I 22-69 9-46 32-15 1934 .. 22-86 9-25 32-11 1932 .. j 21-30 9-92 31-22 1935 .. | 22-03 10-23 32-26 It will be seen from the above that there was a slight rise last year in the death-rate of infants. Analysis of Deaths of Infants under One Month of Aye, 1935. The following table gives the causes of these deaths during the year:— Cause of Death. J™£ \ «§ & !* § g ' JS § * M| Total. Diphtheria .. .. .. .. .. .. 1 ,. .. 1 Whooping-cough . . . . .. . . . . 1 . . .. 1 Influenza . . . . .. .. .. .. 2 .. . . 2 Syphilis :. . . . . . . . . 1 .. .. 1 Convulsions .. .. .. .. .. 5 1 .. .. 6 Broncho-pneumonia . . . . .... 3 2 4 1 10 Pneumonia .. .. .. .... 4 2 .. .. 6 Diarrhoea and enteritis .. .. .. .. 1 1 .. .. 2 Congenital malformations .. 14 39 14 9 4 80 Congenital debility .. .. .. 6 9 2 2 .. 19 Injury at birth .. .. . . .. 21 35 2 3 .. 61 Premature birth . . . . .. 139 , 87 16 10 2 254 Other diseases of early infancy .. .. 13 42 6 4 .. 65 Accidental mechanical suffocation Other causes .. .. .. .. 3 7 4 3 3 20 ! i ' i Totals, 1935 .. .. .. 196 233 54 35 10 528 Totals, 1934 .. .. .. 221 235 64 17 19 556

H.—31. 16 Table F.—Tuberculosis : Standardized Dkath-rates per Million of Mean Population.— continued. I I | ~ i Year. All Forms. | M e d , Meninges | Intestines and System. and C.N.S. | Peritoneum. J Females. 1910 .. .. 714 535 28 58 51 42 1915 .. .. 626 473 51 52 30 20 1920 .. .. 713 558 33 66 21 35 1925 .... 483 399 8 48 9 19 1930 .. .. 456 355 23 55 9 14 1931 .. .. 416 340 17 31 11 17 1932 .. .. 422 328 12 45 19 18 1933 .. .. 404 302 35 38 10 19 1934 .. ... 395 309 21 29 21 15 1935 .. .. 344 287 13 23 9 12 Persons. 1910 .. .. 736 578 24 60 38 36 1915 .. .. 632 502 34 50 20 26 1920 ... .. 718 565 33 63 20 37 1925 .. .. 522 425 12 51 14 20 1930 .. .. 462 372 18 42 12 18 1931 .. .. 427 344 13 41 10 19 1932 .. .. 420 328 19 39 • 15 19 1933 .. .. 402 306 26 34 7 29 1934 .. .. 412 318 19 44 12 19 1935 .. .. 372 300 12 31 15 14 I I J _ Infant Mortality: 773. The infant mortality rate for 1935 was 3226 per 1,000 births. Infant Mortality in New Zealand, 1930-35 (per 1,000 Live Births). ' ■ i .T A ! One Month and „, , , , TT , | One Month and m , , Vear Under j , T , Total under „ Under I , „ , Total under Year - One Month. \ Months Twelve Mouths - One Month - : Months Twelve Months I I I 1930 .. I 21-03 10-45 34-48 1933 .. 22-81 8-79 31-64 1931 .. I 22-69 9-46 32-15 1934 .. 22-86 9-25 32-11 1932 .. j 21-30 9-92 31-22 1935 .. | 22-03 10-23 32-26 It will be seen from the above that there was a slight rise last year in the death-rate of infants. Analysis of Deaths of Infants under One Month of Aye, 1935. The following table gives the causes of these deaths during the year:— Cause of Death. J™£ \ «§ & !* § g ' JS § * M| Total. Diphtheria .. .. .. .. .. .. 1 ,. .. 1 Whooping-cough . . . . .. . . . . 1 . . .. 1 Influenza . . . . .. .. .. .. 2 .. . . 2 Syphilis :. . . . . . . . . 1 .. .. 1 Convulsions .. .. .. .. .. 5 1 .. .. 6 Broncho-pneumonia . . . . .... 3 2 4 1 10 Pneumonia .. .. .. .... 4 2 .. .. 6 Diarrhoea and enteritis .. .. .. .. 1 1 .. .. 2 Congenital malformations .. 14 39 14 9 4 80 Congenital debility .. .. .. 6 9 2 2 .. 19 Injury at birth .. .. . . .. 21 35 2 3 .. 61 Premature birth . . . . .. 139 , 87 16 10 2 254 Other diseases of early infancy .. .. 13 42 6 4 .. 65 Accidental mechanical suffocation Other causes .. .. .. .. 3 7 4 3 3 20 ! i ' i Totals, 1935 .. .. .. 196 233 54 35 10 528 Totals, 1934 .. .. .. 221 235 64 17 19 556

H.—31. 16 Table F.—Tuberculosis : Standardized Dkath-rates per Million of Mean Population.— continued. I I | ~ i Year. All Forms. | M e d , Meninges | Intestines and System. and C.N.S. | Peritoneum. J Females. 1910 .. .. 714 535 28 58 51 42 1915 .. .. 626 473 51 52 30 20 1920 .. .. 713 558 33 66 21 35 1925 .... 483 399 8 48 9 19 1930 .. .. 456 355 23 55 9 14 1931 .. .. 416 340 17 31 11 17 1932 .. .. 422 328 12 45 19 18 1933 .. .. 404 302 35 38 10 19 1934 .. ... 395 309 21 29 21 15 1935 .. .. 344 287 13 23 9 12 Persons. 1910 .. .. 736 578 24 60 38 36 1915 .. .. 632 502 34 50 20 26 1920 ... .. 718 565 33 63 20 37 1925 .. .. 522 425 12 51 14 20 1930 .. .. 462 372 18 42 12 18 1931 .. .. 427 344 13 41 10 19 1932 .. .. 420 328 19 39 • 15 19 1933 .. .. 402 306 26 34 7 29 1934 .. .. 412 318 19 44 12 19 1935 .. .. 372 300 12 31 15 14 I I J _ Infant Mortality: 773. The infant mortality rate for 1935 was 3226 per 1,000 births. Infant Mortality in New Zealand, 1930-35 (per 1,000 Live Births). ' ■ i .T A ! One Month and „, , , , TT , | One Month and m , , Vear Under j , T , Total under „ Under I , „ , Total under Year - One Month. \ Months Twelve Mouths - One Month - : Months Twelve Months I I I 1930 .. I 21-03 10-45 34-48 1933 .. 22-81 8-79 31-64 1931 .. I 22-69 9-46 32-15 1934 .. 22-86 9-25 32-11 1932 .. j 21-30 9-92 31-22 1935 .. | 22-03 10-23 32-26 It will be seen from the above that there was a slight rise last year in the death-rate of infants. Analysis of Deaths of Infants under One Month of Aye, 1935. The following table gives the causes of these deaths during the year:— Cause of Death. J™£ \ «§ & !* § g ' JS § * M| Total. Diphtheria .. .. .. .. .. .. 1 ,. .. 1 Whooping-cough . . . . .. . . . . 1 . . .. 1 Influenza . . . . .. .. .. .. 2 .. . . 2 Syphilis :. . . . . . . . . 1 .. .. 1 Convulsions .. .. .. .. .. 5 1 .. .. 6 Broncho-pneumonia . . . . .... 3 2 4 1 10 Pneumonia .. .. .. .... 4 2 .. .. 6 Diarrhoea and enteritis .. .. .. .. 1 1 .. .. 2 Congenital malformations .. 14 39 14 9 4 80 Congenital debility .. .. .. 6 9 2 2 .. 19 Injury at birth .. .. . . .. 21 35 2 3 .. 61 Premature birth . . . . .. 139 , 87 16 10 2 254 Other diseases of early infancy .. .. 13 42 6 4 .. 65 Accidental mechanical suffocation Other causes .. .. .. .. 3 7 4 3 3 20 ! i ' i Totals, 1935 .. .. .. 196 233 54 35 10 528 Totals, 1934 .. .. .. 221 235 64 17 19 556

H.—3l.

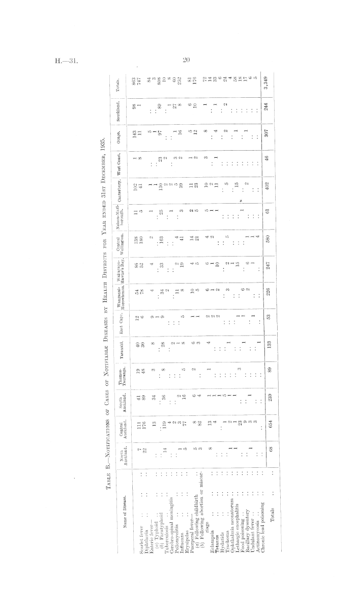
SECTION 2,—NOTIFIABLE DISEASES. Attached are four tables showing the notifications of infectious and other notifiable diseases in the Dominion for the year 1935. Tables A, B, and C, and unless otherwise stated, the comments and tables in this section deal with Europeans only. General. Except for epidemics of measles and whooping-cough, which are not included in the list of notifiable diseases, New Zealand has been remarkably free from epidemics during the past four years, the total number of notifications received being in each year less than 4,000. In 1935 the notifications numbered 3,349, an increase of 327 over those of the previous year. Increases occurred in the following common infectious diseases: Scarlet fever (101), diphtheria (311), enteric fever (36), and to a less extent, in the cases of erysipelas, trachoma, ophthalmia neonatorum, actinomycosis, chronic lead poisoning, and puerperal fever following abortion or miscarriage. Tables and comments regarding certain of the more common infectious and notifiable diseases are given below: —

(a) Scarlet Fever.

The year 1928 was the " peak " year of the last epidemic experienced. It will be noticed that the incidence rapidly declined until 1934, but that it rose in 1935. Although the incidence is still low, other indications point to the probability of a further increase occurring, with the possibility of the disease becoming epidemic within the next year or so. The number of deaths for the year was 8, giving a case-fatality rate of 0 93 per cent.

(b) Diphtheria.

The remarkable drop in the number of notifications in 1934 was followed by a rise of 311 to a total of 747 in 1935, which total is, however, the second lowest recorded since the epidemic of 1917-19, and the incidence per 10,000 of mean population is the lowest except for 1934, since 1902, the earliest year for which records are available. The period for which records of notifications are available is not sufficiently long for any deductions to be drawn as to the periodicity of epidemics of this disease in New Zealand, only the one epidemic of 1917-19 having been experienced during that time. A study of the death-rate prior to 1902 shows that the rate was very high prior to 1895, with a marked peak in 1874, and smaller peaks in 1882 and 1892. Treatment of the disease by the use of anti-diphtheric serum was first introduced into New Zealand in March, 1895, and the rapid drop in the death-rate between that date and 1903 may have been due to the success of the new method of treatment in spite of a high incidence of the disease or to that cause combined with the declining portion of an epidemic wave.

3—H. 31.

17

Deaths. Y ear Number of — Notifications. I Rafes per 10000 of Case-fatality um er. | jj ean population. Rate per Cent. 1928 .. .. .. 6,127 57 0-40 0-93 1929 .. .. .. 4,848 27 0-19 0-56 1930 .. .. .. 2,244 16 0-11 0-71 1931 .. .. .. 1,304 11 0-08 0-84 1932 .. .. .. 829 6 0-04 0-72 1933 .. .. .. 783 4 0-03 0-51 1934 .. .. .. 762 8 0-05 1-05 1935 .. .. .. 863 8 0-05 0-93

Deaths. Y ea[ , Number of Notifications. Rates per 10,000 of Case-fatality m . Mean Population. Rate per Cent. 1930 .. .. .. 1,440 58 0-41 4-03 1931 .. .. .. 1,327 55 0-38 4-14 1932 .. .. .. 802 40 0-27 4-99 1933 .. .. ".. 963 27 0-18 2-80 1934 .. .. .. 436 26 0-18 5-96 1935 .. .. .. 747 33 0-22 4-42

H.—3l.

The dramatic success which has attended the preventive measures of the past generation or two in the case of typhoid fever and other intestinal diseases has not been achieved in the case of those diseases, of which diphtheria is one, spread by droplet infection. But an efficacious method of control is now available in preventive immunization. This method has been extensively tried out in many countries, but so far only to a limited extent in New Zealand, with, however, satisfactory results. Untoward incidents which occurred in some countries after the introduction of this method of preventive treatment led to considerable apprehension on the part of the public, but the advances made in recent years now leave no reason for any such apprehension. (c) Enteric Fever. In the returns this year a change has been made in the method of tabulating enteric fever, typhoid fever and paratyphoid fever being shown separately. During 1935 there was an increase in the number of cases of typhoid fever notified, both amongst Europeans and Maoris. When the difference in population of the two races is considered, enteric fever is very much more prevalent amongst the Maoris. This is to be expected where the Native race is living under more primitive conditions than the white. Until such time as Maori housing and sanitation can be improved and the people brought to realize the importance of sanitary habits, the most satisfactory method of control is by anti-typhoid inoculation. This is being very extensively carried out, and without doubt is responsible for the incidence of typhoid being as low as it is. Considerable success is being attained in sanitation by the provision of bore-hole latrines in those areas where the conditions are suitable. These have also proved satisfactory in several motor-camps in the north.

(d) Pulmonary Tuberculosis.

Infectious Diseases amongst Maoris. Table D attached gives the number of notifications of infectious disease received for members of the Maori race. These figures are not included in the European figures, _as a large number of cases amongst Maoris are missed, due to the fact that a large proportion of Maoris fail to obtain medical assistance when they become ill. The figures, while very inaccurate, serve their purpose in indicating to what extent the Maori people are attacked by disease. Of the 326 notifications received, 134 or over 41-10 of the total, were pulmonary tuberculosis, a disease to which the Maori is very susceptible. The next disease in order of importance of the number notified is typhoid fever, for which disease 107 cases were notified. Here, again, we have a disease which has a peculiar affinity for the Maori race, due, for the most part, to their lack of sanitation and the ease in which infection can and does spread. The only other diseases to reach double figures were influenza, puerperal fever (ordinary), and diphtheria.

18

Deaths. Year. Number of Notifications. 7 , T , Rates per 10,000 of Number. Mean Population. 1930 .. .. .. 1,244 529 3-71 1931 1,109 501 3-47 1932 .. .. .. 904 488 3-35 1933 .. .. .. 890 476 3-24 1934 824 491 3-32 1935 .. .. .. 808 471 3-17

H.—3l.

Table A.-Notifiable Diseases in New Zealand for Year ended 31st December, 1935, showing Distribution by Months.

19

£ Enteric Fever. . g Puerperal Fever. g .a f Dysentery. | » g> j » <D ®8 *23 ft'-S . : j £ 7- . eg £ S g — J fcOoS „,310 rjj CO 5 I I «I 1 s| ! I t |l lit t * I I la f| | & * ! I ill , Jfi s S s 1 f I II ! !l 1 I f if Is! I ! i 1 II II S I I I I, I ê i ! lit I i -§ February " " 37 fl 1 o ?? ? } ' j £ J ® f 3 5 3 i " • 3 1 19 2 275 212 255 .. ôl ZL 9 2 71 1 1 1 20 5 21 4.. 2.. 3.. 3 3 22 90S 990 97« Match •• •• 82 56 18 .. 75 .. 1 2 23 6 23 4 4 1 2 2 .! 15 1 " ! 1 «7 255 3-9 Apnl .. .. 106 90 13 .. 50 1 1 2 24 9 16 2 1 1 10 3 1 330 274 40- •• 77 80. 5 .. 63 17 5 15 6 2 2 1 4 1 5 1 " 1 i 1 og? lit o! ■■ ■■ 74 97 2 .. 59 .. :. 1 25 10 10 6 .. 3 .. 2 .! . .. " 11 2W 272 352 J ul y .. 95 83 6 .. 56 2 .. 2 34 5 16 10 .. 4 .. 1 3 1 318 317 3?? st , •• -• I? « 5 •' 59 •' 1 8 19 4 10 6 1 3 1 1 1 •• 2 •• 2 :: 273 350 308 September.. .. 71 58 2 .. 61 .... 11 25 7 15 14 .. 2 .. 3 .. 1 2 1 "" '>73 217 99? October .. .. 83 56 4 .. 81 3 2 28 17 5 10 7 1 7 .. 1 1 ' " 306 266 252 November.. .. 52 38 3 .. 78 1 .... 16 8 4 4 .. 4 1 2 .. 6 4 1 2 ™ f® 2 December .. .. .. 66 .. 1 5 17 7 13 4 2 3 1 2 .. .. 1 ! 4 .. ! !! !! !! 247 241 228 Totals, 1935 .. 863 747 84 3 808 10 8 60 252 81 176 72 14 33 6 24 4 58 18 .. 17 6 5 3,349 ~ Totals, 1934 .. 762 436 .. 51 824 19 14 71 239 128 171 81 21 35 3 18 14 77 20 .. 34 2 1 1 ~ ~ Totals, 1933 .. 783 963 .. 106 890 12 43 41 226 105 115 84 15 46 8 25 26 42 63 1 18 4 1 .. 1 1 ~ ~ 3,619

H,— 3l

Table B.-Notifications of Cases of Notifiable Diseases by Health Districts for Year ended 31st December, 1935.

20

XAUUJi J-* • ī : . . I i : : ■' if " I ~ „ . . „ nilth Thames- m , • u » n.„„ Wanganui- i Wairarapa- Central i Nelson-Marl- Canterbury . West Coast. Otago. Southland. Totals. Name of Disease. A Snd. Auckland, j Auckland. Ta'Sanga. ™' Cape. Horowhemia Bay. WeHington. I borough. 7 m 41 19 40 12 54 86 138 11 102 1 143 98 863 Scarlet fever .. •• g9 48 30 6 78 52 180 5 41 8 Diphtheria ....•• Enteric fever— o 8 9 4 4 2 1 1.. , " q (а) Typhoid 13 34 3 i .. .. .. .. 1 •• J •• 3 (б) Paratyphoid -• •' " 8 " 2 8 9 34 33 163 25 130 23 97 Tuberculosis ...... 14 __ 2 .. •• 2 2 J-V Cerebrospinal meningitis . • ■ • » • • '' " 2 _ _ _ .. .. 1 2 .. • • j_ » Poliomyelitis .. •• 2 " 1 •• 11 2 4 " t 1« a 25" Influenza * 3 16 5 8 5 8 19 41 3 39 2 16 8 2o2 Erysipelas ° Puerperal fever— K a fi 2 6 1 10 4 14 2 11 1 ° ° (а) Following childbirth 5 8 3 1 5 5 21 5 23 2 12 10 (б) Following abortion or miscar- 3 „ riage a 13 i i 4 2 6 6 4 5 10 3 8 7 Eclampsia ....•• 8 . 2 1 1 2 1 2 .. •• •• 1 Tetanus 4 1 " !! 2 2 10 1 H 1 4 1 33 Hydatids .. •• •• j 5 .. .. .. .. •• •• •• " " 2 04 Trachoma ........ £ ° x _ 3 2 5.. 5.. 2 2 /4 Ophthalmia neonatorum .. .. 1 * '' .. 1 .. .. .. .. • • ■ • * Lethargic encephalitis .. 1 * 1 ' ! .. 15 .. .. 15 .. 1 •• Food poisoning .. .. • • • • '' " x 1 6 .. .. 1 * .. . • • • • • j Bacillary dysentery .. • • ° *' " __ 2 6 1 .. 2 •• 1 •• ' Undulant fever .. •• 1 1 .. 1 1 .. .. •• •• •• ° Actinomycosis .. •• •• •• " " " . .. .. 4 Chronic lead poisoning .. •• •• " — ToUls .. .. ST 239 89 133 53 226 247 580 61 402 46 307 244 3 ' 349

H.—3l,

Table C.—Notifiable Diseases in New Zealand for Year ended 31st December, 1935, showing Distribution by Age and Sex.

21

,V i Under ' 1 to 5 5 to 10 10 to 15 15 to 20 20 to 25 25 to 30 30 to 35 35 to 40 40 to 45 45 to 50 50 to 55 55 to60 60 to05 0 70 to 75 75 to80 80 Years Total Disease. I 1 Year . Years. Years. Years. Years. Years. : Years. : Years. Years. | Years. Years. Years. Years. Years. years. lears. lears. M. F. M. F. M. F. M. 3?. M. I F. M. F. M. F. M. F. M. F. M. F. M. F. M. F. M. F. M. F. M. F. M. F. M. F. M. F. M F Scarlet fever .. .. 1 5 79 115 137 210 67 103 10 26 5 29 4 17 3 16 3 15 1 8 2 3 2 1 .. 1 .. .. • m Diphtheria .. .. 1 7 105 74 154 166 48 70 9 25 4 35 6 9 1 5 1 6 5 4 4 2 1 1 2 1 ■CJSSST. 22 » , , , « , » 4 1 1 " " T»wSS Ph °' d " ' S 3 3 7 10 25 44 »7 «7 54 65 53 58 44 33 36 15 41 18 33 14 23 14 16 4 11 5 6 3 1 1 ■■ 1 423 385 Cerebrospinal meningitis 3 .. .. 1 2 .. 2 .. 2 4 4 Poliomyelitis .. 1 1 1 2 1 1 1 • • ■ • • •• •• •• •• '' \ o 47 13 ssz :: '2 I S ? 5 I f ! 'j 5 'i J .1 S w S a 5 « J .1 £ £ .? ■» i . "i J • "i 2 2 :: :: ™ » Puerperal fever — .... 81 (а) Following childbirth 7 .. 26 .. 25 .. 10 .. 10 .. 3 .. .. •• •• •• 176 (б) Following abortion or 14 .. 44 .. 54 .. 32 .. 26 .. o .. l miscarriage • 72 Eclampsia .. .... 11 .. 25 .. 15 .. 11 .. » .... 11 3 Tetanus .. 1 •• 3 J 6 i i 1 i 'ō i '9 9 " '2 " " 2 1 3 2 2 1 •• ■■ •• 18 15 Hydatids .. 1 X 1.. 1 1 4 2 2 3 2 2.. 2 .. .. 2 I.. d / .. g x Trachoma .. 1 1 1 * * 13 n Ophthalmia neonatorum .. 13 11 2 2 :: :: :: V :: 7 '2 1 s i :: '« '« « :: 'j 2 » 2 » 1 :: ■ :: :: 1 :: :: :: :: :: ;i :: :: » » Bacillary dysentery .... 1 1 2 .. 3 1 1 1 •• 1 •• 1 1 • * •• 13 4 Undulant fever .. 1 1.. 1 1 1 2 Actinomycosis .. * •' 1 • • 1 1 • • 1 J * " '' * * # < 5 Chronic lead poisoning 1 •• 2 .. 1 1 Totals .. M. 25 .. 206 .. 326 .. 153 . . 64 .. 98 .. 87 .. 73 .. 73 .. 57 .. 75 .. 65 .. 42 29 .. 14 .. 12 .. 3 .. .. ■■ 1,402 - P ..26 .199 .. 399 .. 197 .. 144 ..268 ..214 .. 149 .. 122 .. 63 .. 47 .. 52 .. 25 .. 16 .. 10 .. 10 .. 4 .. 2. ■■ 1,94/ !

H.—3l

Table D.—Maoris: Notifications of Cases of Notifiable Diseases for Year ended 31st December, 1935.

22

Name of Dfsease. Auckland. Auckland. Auckland. toraga. Taranaki. East Cape. H™Sy. .Welltagton. Martborough. Canterbury. West Coast. Otago. Southland. Total. Scarlet fever .. .. .... .. 2 I Diphtheria .. .. .. 4 _ 5 ' j , '' •• •• •• •• .. .. 2 Enteric fever — *' • * • • • • • • .. .. 12 (o) Typhoid 11 27 2 29 20 2 10 1 (6) Paratyphoid ...... .. .. 1 103 Tuberculosis .. .. .. 20 'l3 "31 "5 "ll 17 "13 "11 " « " " "■ •• 4 Cerebro-spinal meningitis .... .. .. j , 5 .. .. 2 134 Influenza .. .. .. 19 .. '' '' j '' „ • • ■ ■ ■ ■ ■■ .. .. 2 Erysipelas .. .. .. .. ,. _ _ ' ' ' ' • ■ • • • • • • .. .. 26 Puerperal fever — '' '' '' "' • • • • • - .. .. 1 (a) Following childbirth .. 2 6 .. 2 9 (b) Following abortion or mis- .. 1 1 . . '' 5 '' " • • • • • • ■ ■ .. 12 carriage '' '' "' • • ■ • • • • • .. 2 Hydatids ...... 2 3 Trachoma .. .. .. .. 4 '' ' j '' • • •• •• 2 .. .. 7 Ophthalmia neonatorum .. .... 1 1 '' '' ' • • • • ■ ■ • .. 5 Lethargic encephalitis .. .. 2 .. .. .. " 1 '' "' '■ • • •• 2 Bacillary dysentery .. .. 6 .. '' '' '" • • • • ■ • 3 Undulant fever .. .. .. .. .. j '' j '' '' • • •• .. .. .. 6 Actinomycosis .. .. .. .. ., _ p '' '' 2 '' '' '' '' • • • • • • 3 T ° tal • • • • 55 26 76 7 43 50 24 7 7 5 ' 3 1 3 ~

H.—3l.

PART 111. SCHOOL HYGIENE.

I have the honour to report on the work of the Division of School Hygiene for the year ended 31st, March, 1936. Staff. The personnel of the School Medical and Nursing staff consists of a Director, ten School Medical Officers, and twenty-three School Nurses. During the year the Director was absent for a period of eight and a half months, which time was spent in a visit to England and the Continent, opportunity being taken to gain an insight into advances made in school medical work. To an infrequent visitor the improvement noted during the last twenty-five years on the personal care, clothing, nutrition, and general vitality of the London elementarvschool child affords striking testimony to the success of the comprehensive measures undertaken to ensure the removal of physical defect and to provide opportunity for healthy growth and development. Sincere appreciation is expressed of the kind reception and generous assistance given by the Health authorities in Great Britain and elsewhere. Dr. Helen Bakewell held the position of Acting Director of School Hygiene during Dr. Paterson's absence. Dr. Elizabeth Gunn attended the Conference of the British Medical Association in Melbourne last year, being also, when in Australia, New Zealand delegate to the Conference of School Medical Officers (Australian and New Zealand). On the East Cape Dr. Wyn Irwin acted as Medical Officer of Health and School Medical Officer, taking Dr. Turbott's place while he was absent in Samoa, and carrying out the inspection of Native schools among other duties. Dr. Ellen Heycock was appointed to the School Medical Staff, and, after some work in Wellington and Canterbury Districts, is now stationed at Gisborne. It was regretted that Miss Cherry, School Nurse, Christchurch, should after many years of good work be obliged to retire on account of ill-health. Miss Lorimer, School Nurse, Christchurch, retired on superannuation after many years of good service, Miss Taine being transferred from Nelson to take up duty at Christchurch. Miss Doneghue was transferred from the position of Matron of the Otaki Health Camp, which she filled most competently for a period of two years and a half, to the position of School Nurse, Nelson. Miss I. Kohn was appointed to Dunedin to replace Miss McCormick, who was seconded for duty in Samoa. The arrangement by which District Nurses (whether officers of this Department or of Hospital Boards) carry out School Nursing duties has proved most satisfactory, ensuring a better supervision of local problems. District Nurses and School Nurses have worked with interest and capability. Figures relating to Work accomplished in 1935. The following summary serves to indicate the extent of work accomplished during the school period, February to December, 1935: — Schools inspected— Of roll under 100 . . . . .. .. 936 Of roll 100 to 500 . . . . . . .. 329 Of roll over 500 . . . . . . . . 104 1,369 Children examined — Complete examinations . . . . . . . . 64,397 Partial examinations .. . . . . . . 35,761 100,158 Number of notifications sent to parents . . . . . . 41,807 Number of addresses to school-children . . . . . . . . 446 Number of parents interviewed . . . . . . . . 11,121 Number of lectures or addresses to parents . . . . . . 25 The figures for the work of the Schools Nurses are as follows:— Number of days assisted Medical Officer in schools . . . . 1,559|Number of children examined for medical schedule (H. Sch. 14) .. . . ■ • • • .... 94,842 Number of days engaged wholly in clerical work . . . . .. 909| Number of children re-examined after Medical Officer's inspection .. . • • • • • • ■ • ■ 31,855 Number of children examined by special request . . . . . . 9,541 Number of visits to homes in— Large towns .. ■ ■ • • • • • • 5,964 Small country towns . . . . • • • • 1,598 Scattered districts . . •. • • ■ • 1,835 9,397 Number of children taken personally to hospital, &c 615 Number of children taken personally to dental clinic . . . . 151 Number of health talks given .. . . . . . . ■ ■ 823 4 —H. 31.

25

H.—3l.

Summary of Complete Examinations. European. Maori. Number of children examined . . . . . . 58,279 4,396 Percentage found to have defects .. . . 75-38 70-00 Percentage with defects other than dental . . 55-76 52-57 Percentage of children showing evidence of— Subnormal nutrition . . . . . . 6-65 4-19 Pediculosis .. . . . . . . 0-61 4-64 Uncleanliness . . . . . . . . 1-33 1-64 Skin— Impetigo .. . . . . . . 0-97 3-09 Scabies . . . . . . . . 0-78 18-84 Ringworm . . . . . . . . 0-13 0-39 Other skin-diseases . . . . . . 1-70 1-98 Heart— Organic disease . . .. . . 0-69 0-68 Functional disturbance .. . . 1-06 3 66 Respiratory disease . . . . . . 1-10 1-09 Total physical deformities . . . . . . 12-17 8-00 Mouth— Deformities of jaw or palate, including irregularity .. . . . . 4-25 7-78 Dental caries . . . . . . . . 36-17 38-65 Extractions of permanent teeth.. . . 7-00 4-39 Fillings .. .. .. .. 52-21 11-58 Perfect sets of teeth . . . . . . 2-60 15-76 Nose and throat— Nasal obstruction .. . . . . 3-51 2-39 Enlarged tonsils . . . . . . 16-00 12-22 Enlarged glands . . . . . . . . 9-02 7-05 Goitre — All degrees .. . . . . . . 19-86 12-13 Incipient . . . . . . . . 16-34 10-90 Small . . . . . . . . 3-13 114 Medium . . .. . . . . 0-35 0-09 Large . . . . . . .. 0-04 EyeExternal eye-disease . . . . . . 1-68 2-05 Total defective vision . . . . . . 4-23 2-57 Corrected . . .. . . . . 2-23 0-14 Uncorrected .. . . . . . . 2-00 2-43 Ear — Otorrhoea . . . . . . . . 0-21 1-25 Defective hearing .. . . . . 0-65 0-43 Defective speech . . . . . . . . 0-73 009 Mental— Feeble-mindedness . . . . . . 0-33 0-21 Epilepsy .. . . . . . . 0-05 0 02 Other nervous defects . . . . . . 0-29 Tuberculosis— Total . . . . . . . . 0-06 0-46 Pulmonary .. . . . . . . 001 0-23 Other tissues . . . . . . . . 0-05 0-23 The amount of work carried out does not differ materially from that of recent years. We are glad to note some increase in the number of parents personally interviewed by School Medical Officers, 11,121 being seen this year. School Medical Officers and nurses carried out a considerable amount of work in co-operation with various philanthropic and relief agencies during the recent period of depression, assisting in such activities as arrangements for distribution of milk at school, organizing and staffing of health camps, &c. This work has been most satisfactory, since it brought immediate practical assistance to children in need of it. In Dunedin a very satisfactory arrangement was made with the Employment Bureau, by which cases of subnormal nutrition were referred to Dr. Stevenson for investigation and examination, extra rations being provided as indicated. School Medical Officers have co-operated with the Cripple Children's Society in the work of ascertainment of cases and in regard to arrangements made for the welfare of individuals. Personal Hygiene.—The standard of clothing and cleanliness is on the whole good, and the incidence of skin-disease slight, difficulty in this respect being met with most frequently where facilities are inadequate, as in crowded city areas or in the backblocks. Incidence of Defect. —The incidence of defect (nose, throat, eye, ear, speech) as noted in figures above shows little variation from that of last year. As a result of the excellent work of the Division of Dental Hygiene, the percentage of children with clean mouths and filled teeth is steadily increasing, which makes generally for improved health. Treatment returns are not yet available, but it is evident that with the arrangement now in operation for securing the co-operation of District Nurses, treatment will be more readily arranged.

26

H.—3l.

Nutrition. The question of nutrition has been given special attention, 6-6 per cent, of children receiving complete physical examination being classified under the heading of " Subnormal Nutrition." Gross malnutrition is extremely, rare, and this percentage refers rather to a group of children who for various causes fail to reach a satisfactory standard of physical fitness and general vitality. Last year's annual report gave the result of a recent Height-Weight-Age survey of some 40,000 New Zealand children, which demonstrated that our children are both taller and heavier than they were twenty years ago. This fact undoubtedly is a general indication that nutrition is satisfactory. (" Good nutrition promotes good growth " —Sir George Newman.) Many children, however, for various reasons do not reach " optimum nutrition," to use a phase now widely current in Great Britain —that is, they fall short of their potential level of positive health and vitality as compared with mere absence of defect. Good nutrition implies the correct use and development of bodily functions and powers. The simple essentials for healthy growth—that is, food of the right type and amount, adequate sleep and rest, fresh air, sunlight, wholesome exercise—should be as readily available in New Zealand as anywhere in the world. It is their right distribution and usage that merits consideration. The question of maternal efficiency is vital, the capabilities of the mother and the facilities at her command being of first importance. This undoubted difficulty of balancing the family budget in hard times is fully recognized, and it must be emphasized here that the subject is discussed 011 general lines from the Dominion viewpoint. Causes contributing to under-nutrition as assigned by individual School Medical Officers may be quoted: Debility resulting from neglected physical defect, as enlarged tonsils and adenoids, dental caries, &c.; or from, underlying susceptibility to disease, as tuberculosis; over-fatigue from too little sleep; nervous exhaustion following on over-stimulation and exploitation of talents; excessive demand of work outside, as on country farms or as newsboys, &c,, in the city; unsatisfactory sleeping-conditions due to overcrowding and housing problems. Inadequate Diet.—The inadequacy is much more often in quality than quantity, cheaper or ill-chosen dietaries being as a rule deficient in those food essentials indicated below. Impressive committees have been set up in many countries to report upon the condition of the people and to make recommendations towards the improvement of the general nutrition by bettering the diet. The findings and recommendations of these committees are essentially in agreement. The League of Nations Health Organization Report on the Physiological Bases of Nutrition, 1935, states: — " The Commission recognizes the fact that the deficiencies of modern diets are usually in the protective foods (foods rich in minerals and vitamins) rather than in more strictly energy-bearing foods (rich in calories). Among the former are, first and most important, milk and milk products, eggs, and glandular tissues; then green-leaf vegetables, fruit, fat fish and meat (muscle). Among the energy-bearing foods of little or no protective power are sugar, milled cereals, and certain fats. " Of energy-giving foods, unmilled cereals are not rich in protective nutrients, and the more they are refined the less is their protective power. Many fats, especially when refined, possess little or 110 protective constituents. Refined sugar is of value only as a source of energy; it is entirely devoid of minerals and vitamins. The increasing habit of large sugar-consumption tends to lessen the amount of protective foods in the diet and is to be regarded with concern." Extracts from the annual report of the Division of School Hygiene, 1924, may also be noted as follows: — " School Medical Officers continue to record that tea, white bread, and meat play the chief part in the dietary of many homes. Fresh fruit and vegetables, even in rural areas, are not eaten sufficiently. ... A noteworthy fact is that in New Zealand the consumption of sugar per head per annum is 117 lb., as against rather more than half that quantity in Britain, and much less in other countries. Apart from its directly deleterious influence 011 the teeth, the alteration of foodvalues in the dietary necessitated by the inclusion of so much sugar results in digestive troubles and disturbed nutrition. In this country, with its many sources of supply, eggs, milk, cheese, butter, fresh fruit, and vegetables should be available in sufficient abundance and at low enough prices to displace to a greater extent the meat that is such a prominent article of diet in many households." This and similar reports from health officers everywhere may be quoted to show that enough lias long been known of the general principles of dietetics to provide practical guidance. In New Zealand the essentials for an adequate diet should be within the purchasing-power of all classes of the community. In addition we need more discipline and intelligence in the choice of our food and more skill in its preparation. The necessity for popular education is evidenced by the fact that tinned and prepared foods are often bought at greater expense and with less benefit than would be derived from the purchase of the home-grown article, and also by such an anomalous situation existing as that in country districts numbers of farmers' children (estimated in one investigation as at 10 per cent.) do not drink milk. On some farms practically all the milk is sent to the factory, the farmers' children getting little or none. The value of skimmed milk is not sufficiently recognized, though its protein, vitamin, calcium, and other mineral content make it a cheap protective food.

27

H.—3l.

The average consumption of milk (see the Monthly Abstract of Statistics, June, 1936) has, however, _ recently gone up from £ pint per person to § pint per day, presumably as a result of wide-spread propaganda and of schemes for milk-distribution at school. The following extract from the " New Zealand Official Year-Book " for 1936 (page 690) is of interest:— Average Annual Consumption of certain Articles of Foodstuffs. Amount available for Local Article. Consumption, per Head. lb. Butter .. .. . . ~ . . 40 Cheese . . .. .. .. .. .. 5 Fresh Meat— Beef .. . . .. .. . . . . 117 Mutton .. . . . . .. .. 87 Lamb .. .. .. .. . . 23 Pork . . .. .. .. ~ .. 6 Bacon and ham .. . . .. ~ .. 11 Sugar .. .. .. . . .. . . 104 Potatoes .. .. .. . . .. .. 181 The annual average consumption of butter (according to the Monthly Abstract of Statistics, June, 1936) has gone up from 371b. to 401b. per head within the last year, attributable probably to the low level of butter prices for the greater part of the last three years. Cheese, a source of first-class protein, calcium, and other minerals, could with advantage be more freely used. It would serve to replace to some extent the meat which is so generously eaten by a section of the people. The Department issued last year two pamphlets for the guidance of its officers in the field—" Hints 011 Health," and " Hints on Diet," which are proving of use in popular education. Consideration of other essentials for health—that is exercise, fresh air, and sunlight— brings us to the subject of— Physical Deformity and Faulty Posture. — Though the marked bony deformities associated with deficiency disease, as rickets, are practically never seen in New Zealand, minor deformities resulting from errors of diet and regime'may be noted. Several School Medical Officers refer to the frequency of flat feet, and draw attention to the necessity for appropriate exercise and suitable shoes. Faulty posture, a common defect, readily develops in the fed and insufficiently rested child. Consideration must be given to the daily routine, since it is often a combination of factors, fatigue, wrong feeding, &c., which is responsible. Excessive homework is to be strongly deprecated. The importance in the school curriculum of a comprehensive scheme of physical education (that is inclusive of health education and physical training) cannot be over-emphasized, since it encourages not only sound health and physical development, but promotes poise and balance, affording wider capability and greater happiness. The importance of swimming may be mentioned in passing. All children should have knowledge of the simple and fundamental laws which must be observed to ensure individual health and racial survival. Girls should know something of home-management, and the teaching should be such as to be applicable with the least possible equipment so that it may be readily used where most needed. Manual training and skill at handicraft encourage better home-makers and citizens (note the potentialities for the development of cottage gardens, often far distant from fruit and vegetable markets). Though sport and active games are widely available in New Zealand and are generally much loved, with the growth of towns on the one hand and the development of motor-cars 011 the other, there is a tendency in some places for enjoyment to become sedentary. The cinema, for instance, rightly used is of great educational value, but playingfields, swimming-pools, and opportunities for rambling should not be forgotten. Much attention is paid to the rules of the road for motorists, but little to the right of pedestrians to go long walks. The Youth Movement now manifesting itself with enthusiasm for tramping, mountaineering, &c., is a hopeful sign, and merits generous encouragement. Milk-distribution. During the • year a considerable amount of work was carried out in connection with extensive arrangements for supplying children at school with half-pint of milk daily free of charge. Space does not permit of detailed information regarding the many schemes adopted. Government and municipal subsidies, the generosity of voluntary organizations, and private philanthropy gave material assistance. In Auckland City over 5,000 children participated, and in Wellington City some 2,400 children were provided with a daily milk ration by the Smith Family, other schemes on a smaller scale operating in the Hutt district. In Dunedin 1,064 children were given a daily free-milk ration, and in other cities and also in rural areas provision on similar lines was widely adopted. From observations in New Zealand schools (including height and weight statistics) and in view of the mass of evidence available from Great Britain and elsewhere, it may be regarded as proven that the addition of pint of milk to the usual daily dietary' of children will, generally speaking, result in improved nutrition and health. The benefit of such a measure is most obvious where the food-supply is inadequate in quantity or quality. It is essential that all schemes of milk-distribution be carried out under the strict surveillance of the Department of Health.

28

H.—3l.

Health Camps. The Health Camp Movement shows vigorous progress; public interest and support being more widely manifest each year. The proceeds from the sale of health stamps (1935-36 holiday season) reached the sum of approximately £5,000, which, together with the donations raised concurrently, gave a total of over £11,000, and the various health-camp organizations accordingly received substantial benefit in proportion to local contributions. This excellent result must be attributed to the efficient organization of the Post and Telegraph Department, and to the whole-hearted efforts of voluntary workers and organizations, including especially the Rotary Club. Health camps during the year were held by the following organizations: Wellington Children's Health Camp Association; Community Sunshine Association, Auckland; Waikato Children's Health Camp League; Sunlight League of New Zealand, Christchureh; Otago Health Camp Association, Dunedin; Nelson Health Camp Association; South Canterbury Health Camp Association, Timaru; Southland Health Camp Association, Invercargill; Marlborough Health Camp Association, Blenheim. A great deal of work was carried out by School Medical Officers and nurses in regard to the selection and medical examination of children; also in practical assistance and advice re camp arrangements. One or more School Nurses were in residence in six camps, their work being greatly appreciated by camp organizers. Some 2,350 children in all benefited from these camps, the period of stay varying from three weeks to six weeks or (at Otaki) even longer. The duration of most camps varied from one to two months. The Community Sunshine Association camps were in operation approximately half the year, the Wellington Children's Health Camp at Otaki being permanently open. Undoubtedly the best advertisement for the various health camps is the obvious benefit they confer upon the health and happiness of their inmates. It is now recognized that, to ensure the best results from the generous support and widespread enthusiasm on the part of the public, the time has come for the Health Camp Scheme to be placed on a Dominion basis, and for the various organizations to be joined into a National Federation of Health Camps. This question is therefore receiving consideration, care being taken to ensure the integrity and independence of action (within desirable limits) of the various associations. Tuberculosis. The percentage of tuberculosis found on routine examination is approximately the same as last year (0-06 for European children and 0-46 for Maori, as against 007 European and 06 Maori last year). The work of supervision of tuberculosis contacts has been continued, exa,ct records being available for over one thousand children. Co-operation is maintained with tuberculosis specialists attached to sanatoria and hospitals to ensure periodic expert examination. The value of this work is demonstrated by the opportunity it gives, not only for early and appropriate treatment when required, but also more generally by measures for improving health and nutrition, thus preventing the onset of disease. Sunshine School, Auckland, under the auspices of the Community Sunshine Association, continues to give excellent service in the interest of delicate and under-nourished children. Similar good work is carried on by the Kew Open-air School, Dunedin, valued co-operation being received from the Home Science School, Otago University, in the provision of an adequate mid-day meal. Kindergartens. The routine medical examination of kindergartens was carried out in Auckland, Wellington, and Dunedin, as well as in one or two smaller towns. The result of the examination of 496 kindergarten children is as follows: — Number of children examined, 496. Percentage found to have defects, 85-69. Percentage with defects other than dental, 66-53. Percentage of children showing evidence of —Subnormal nutrition, 4-03; pediculosis, 121; uncleanliness, 5-24. Skin—lmpetigo, 3-23; scabies, 0-6; ringworm, 0-2; other skin diseases, 4-64. Heart—Organic disease, 0-2; Respiratory disease, 2-42. Total deformities of trunk and chest, 13-19. Mouth—Deformity of jaw or palate, including irregularity, 0-81; dental caries, 55-44; fillings, 3-02; perfect sets of teeth, 25-4. Nasal obstruction, 2-42. Enlarged tonsils, 29-84. Enlarged glands, 16-94. Goitre— All degrees, 3-63. Eye—Total defective vision, 286; corrected, 1-01; uncorrected, 0-4. Ear—Otorrhoea, 0-2; defective hearing, nil. Defective speech, 0-6. Notifications to parents, 55-65. School Medical Officers and nurses pay tribute to the wisdom and devotion of kindergarten teachers. The kindergarten school functions not only as an educational centre for its pupils, but as a social centre for parents who learn to co-operate cheerfully in measures for the welfare of their children. Native Schools. In regard to Native schools the work of Medical Officers of Health and District Nurses is being carried out with interest and energy. The system of utilizing the Junior Red Cross as a medium for health education is proving successful. The result of the medical examination of some 4,396 Maori children shows, as in previous reports, that the Maori

29

H.—3l.

child, generally speaking, is in nutrition and posture superior to the pakeha. The percentage of Maori children with perfect teeth is much greater (15-76 Maori, 2-76 European). The percentage of Maori children with evidence of goitre is less (12-13 Maori, 19-86 European), by far the greatest proportion of goitre noted in both cases being incipient. It has been remarked that the Maori child in remote areas retains his superiority more easily, but when he comes to live in close proximity to the European and alters his habits accordingly he tends to develop the defects of his pakeha brother. The Maori shows a greater incidence of skin-diseases, and the lack of acquired racial immunity makes him a readier victim to tuberculosis. Community methods of living assist in the spread of infection. The following are extracts from Dr. Wyn Irwin's report:— " Several Native - school teachers and those District Nurses with longest experience, are emphatic that the encouragement of a diet containing liberal amounts of green vegetables such as puha, cress, &c. —e.g., ' protective foods ' — keeps skin affections at a lower level in their charges than mere application of specific ointments. " The same general findings as yearly statistically reported by Dr. Turbott emerged—viz., the Maori superiority in physique, first-class nutrition, perfect sets of teeth, healthy throats, and freedom from goitre, coupled with the greater incidence among them of skin-infections, respiratory disease, gingivitis, nasal catarrh, and eye and ear troubles." Dr. Cook, Medical Officer of Health (North Auckland), reports: — " If possible Native schools have received increased attention both from myself and from the District Nurses. I have mentioned already that another thousand Native children were weighed and measured for research purposes. "If anything, the amount of skin-disease is decreasing in Native schools. This has not been accomplished without a good deal of opposition from the Maori adults, but this has been overcome, and now both the teachers and the Natives themselves appreciate more what has been done for them. " On the whole it can be said that nutrition of Native school children has very much improved during the past year: this is probably accounted for by the increasing amount of work available for Natives, and perhaps by better food habits. " Special attention was paid to the two most northerly Native schools in New Zealand—namely, Te Kao and Te Hapua. Te Hapua is noteworthy in that there are no cows in the settlement, and consequently no milk, so that it is probably unique for New Zealand to have a school of 100 pupils who are not receiving milk in any form. These children were weighed and measured, and at the present moment a comparison is being attempted between their heights and weights and those of Native children in other schools. " A special visit was paid to Te Kao and Te Hapua schools in September, that being the worst month of the year from the point of view of nutrition. In the Te Hapua school a very small proportion of malnutrition was discovered, and in Te Kao also a negligible amount. There is no doubt that this splendid result has been achieved by the two teachers in these schools, who have a great interest in the welfare of their pupils. Reports were sent to the Education Department regarding the splendid work of these teachers. " As there is no milk available in the Te Hapua area, and as it would not be possible to distribute fresh milk there, I recommend that a supply of dried milk be provided for this school, and this can be issued as part of a mid-day meal." Goitre. The problem of goitre shows little variation, the incidence for European children noted being 19-86 per cent., of which 16 34 per cent, is incipient. Attention has been drawn to the less incidence among Maoris. Dr. Champtaloup has forwarded a further report on observations in Taranaki, where, in spite of a high iodine content of soil, an increased goitre incidence was recorded in recent years:— " As in past years a careful check has been kept on the incidence of goitre— a total of 2,496 were examined. It is of interest to note that the figure appears to be almost identical with that of 1933, indicating a slight fall from that of 1934. " Figures for 1935 are as follows: — Per Cent. "Normal; .. 2.3-6 "X ..36-4 .. palpable"] «fix ■ ■ 3 n>°-° • • visibie j" 76 ' 4 per cent ' totaL " Comparing the last three years:— Normal. Palpable. Visible. Total. Per Cent. Per Cent. Per Cent. Per Cent. "1933 .. .. 23-2 35-8 42-0 77-8 "1934 .. .. 11-3 37-1 51-6 88-7 " 1935 .. .. 23-6 36-4 40-0 76-4

30

H.—3l.

" I have searched for factors which would give an apparent decrease. Some factors possibly influencing the figure, however, would appear to operate in the reverse direction. The incidence in South Taranaki is considerably higher than in other areas, while North Taranaki is lowest, with the central area midway between." " From consideration of the classes of children examined this year, it appears probable that the actual incidence is rather lower than in 1934, and approximates very closely to that of 1933. It is at least apparent that there is no further increase in incidence." With reference to goitre in Maoris, Dr. Wyn Irwin states, — " The lower incidence of this deficiency disease in Maori children (in complete examination—all grades goitre 11 18 per cent., as compared with 2449 per cent, in pakehas) is probably not due to racial immunity. The primitive water-supplies of many goitre-free Maori settlements are adverse to the ' contaminated water ' theory, while all facts in this district go to support the belief that an inadequate supply of iodine to the thyroid gland relative to its demands is the determining factor. The racial difference in this district is due to geographic distributions and personal tastes—viz., a large proportion of the coastal population are Maoris, who eat more sea foods than pakehas with same opportunities, and especially a greater variety of these, their diets including pipis, mussels (kuku), pawa, sea-egg (kina), crayfish (kaura), and, in East Cape region, seaweed (parengo). This relationship of low-goitre endemicity to pre-pakeha marine dietary can be shown by comparing the following two groups of Maori children examined this year in this district:— " A. from 13 semi-isolated coastal settlements. "B. from 15 semi-isolated inland settlements (8 in or on the border of Urewera).

"Incidence of Goitre.

" Not only is total incidence lower in former group, but marked enlargements are entirely absent. A like comparison between groups of pakeha children would be of no value, as, besides the pakeha's different dietetic habits, few live in semiisolated coastal settlements. However, high endemicity rates for both races were observed in certain inland regions, where marine fish were difficult to obtain, and the geological formations—e.g., limestone, sandstone, or gravels—-were suggestive of a low soil iodine; examples of these have been given in several monthly reports, as well as of the absence of goitre at Morere, a subcoastal settlement with iodine-rich hot springs. Besides encouraging the more general use of iodized salt (whose table use was already common), the new seaweed food preparations were repeatedly brought to the notice of nurses, teachers, and parents." Special Classes. School Medical Officers continue to co-operate with officers of the Education and Mental Hospitals Departments in measures for the welfare of children requiring special methods of education—as the mentally backward, or those suffering from deafness or speech defect. Though there are in New Zealand no " Child Guidance Clinics " as such, a considerable amount of Child Guidance work is carried out in the ordinary duties of School Medical Officers, special cases being referred for consideration to the psychological experts associated with mental hospitals. Infectious Disease. Mild epidemics of various non-notifiable infectious diseases have occurred during the year. The work of immunization against diphtheria has been continued, Dr. Cook, Medical Officer of Health, Whangarei, immunizing some five hundred children in North Auckland; Dr. Wilson immunizing the inmates of the Papatoetoe Orphanage; and Drs. Heycock and Moir carrying out immunization of some 109 children at the Trentham School.

31

Incipient. Total, all Forms. Group. Number ; I examined. Number, j Per Cent, j Number. Per Cent. A .. .. .. .. 399 11 2-75 11 2*75 B .. .. .. .. 275 65 23-65 70 25-45

H.—3l.

Schools and School Buildings. School Medical Officers continue to report on School Sanitation and to draw attention to conditions requiring remedy. The reports note an improvement in this direction. The newer type of school, which approximates more to the open-air type, is an undoubted advance. Medical Examination of Applicants for Entrance into the Teaching Profession. With the reopening of Training Colleges, the work of examination of entrants into the teaching profession was substantially increased, some one thousand being examined. Attention is drawn in several cases to the fact that a certain number of candidates presented themselves for examination while suffering from such remedial defect as dental caries; a large percentage of defective eyesight was also noted. Generally speaking, the reports of School Medical Officers were favourable with regard to the type of applicant. Arrangements for the examination during their last year of school life of those secondaryschool pupils who wish to enter the teaching profession have been resumed, the object being to give those applicants found to be unsuitable an opportunity while yet at school of qualifying for some other profession. Secondary and Denominational Schools.—Secondary schools and Church schools were examined by School Medical Officers in accordance with request. The Division of School Hygiene wishes to express appreciation to the Education Department, Mental Hospitals Department, various Education Boards, School Committees, and teachers for valuable co-operation. A. G. Paterson, Director, Division of School Hygiene.

PART IV,— HOSPITALS.

Ī have the honour to submit my annual report for the year 1935-36. Building Operations. Building activities of the various Hospital Boards continue to show an increase. This is a natural sequence to a period of comparative inactivity and postponement of capital works. The number of people seeking admission to public hospitals is increasing, with the result that in many eases the available accommodation is insufficient to meet demands. For some years attention has been drawn to the overcrowding of hospital wards and the use of verandas as permanent bed accommodation. In order to obtain a rough estimate of the extent of building operations considered necessary during the next five years Hospital Boards have been urged to set out " a five-year building programme" for the various institutions. Some of the Boards have not yet complied with this request, but a perusal of those to hand indicates that in some instances a good deal of consideration has been given to the proposals. The estimated requirements show considerable variation —from a complete reorganization and rebuilding of the main hospital to comparatively small additions. Throughout the coming year an endeavour will be made to assist Boards in this matter, and, indeed, this has already been done for some. When giving consideration to present building requirements the Boards are urged to consider their future needs in order that any additions made will fit in with probable future extensions. Unfortunately this has not always been done in the past, and consequently many difficulties arise when additions are being planned. The following are the chief items which are either in progress or should be ready to commence during the next year:— Wallace Hospital Board. —Installation of heating and steam services. Southland Hospital Board.—The new hospital at Kew is still not completed. This, however, should be ready for occupation during next year. Otago Hospital Board.—The new administration block is completed, and building operations on the new Queen Mary Maternity Hospital should shortly be commenced. Plans and specifications have now been prepared for a new connecting corridor and a lecture hall. Waipiata Sanatorium Committee. — Additional accommodation for both nurses and patients is to be undertaken during the coming year. Waitaki Hospital Board. —Additions to the Annex for tuberculosis patients is proceeding. South Canterbury Hospital Board.—This Board has a large programme of building operations in progress at Timaru. The additions to the Nurses' Home are under way, and during next year the new ward block, theatre block, engine-house and laundry, &c., should be in "progress. At Waimate Hospital a new theatre block is proposed. Butter Hospital Board. —The installation of steam and heating services at the Buller Hospital is proceeding.

32

H.—3l.

Nelson Hospital Board. —The additions to the Nurses' Home have been completed. Wellington Hospital Board.—Reorganization and additions to the eye ward have been completed. Palmerston North Hospital Board. —The new administration block is in course of erection. Wanganui Hospital Board. —The office block has been extended. The tuberculosis annex has been built and additional rooms added to the Nurses' Home. Taranaki Hospital Board. —Additions to the Nurses' Home are proceeding. Waikato Hospital Board.—Additions to the Nurses' Home at Hamilton Hospital are in course of erection. At Matamata Hospital a new nurses' home is being built. Wairoa Hospital Board.—Additions are being made to the women's ward. Hawke's Bay Hospital Board. —The erection of an administration block at the Napier Hospital is under way. Waipawa Hospital Board.—Extensive reorganization of _ the existing building is _at present being done. A new theatre block and medical administration block are also being erected. The heating and steam services are being reorganized. Auckland Hospital Board. —The extra storey to the women's block at Costley Infirmary is now completed. Bay of Islands Hospital Board.—The erection of a new ward, kitchen block, and additions to the Nurses' Home are proceeding. Bay of Plenty Hospital Board.—The additions to the Nurses' Home are completed. In addition to the above there are other proposals at present under consideration by Hospital Boards and the Department. The more important of these are— (1) Addition to the Westland Hospital and a new nurses' home. (2) Additions to the Grey Hospital and Nurses' Home. (3) Additions to the Masterton Hospital and Nurses' Home. (4) Additions to the Buchanan Home at Grey town. (5) Additions to the Wanganui Hospital. (6) Additions to the Dannevirke Hospital and Nurses' Home. (7) Additions to the Cook Hospital Board and additional accommodation for nurses. (8) New laundry at Whakatane Hospital. (9) Extensions to the wards at Tauranga Hospital and additions to the Nurses' Home. (10) Reorganization of and extensions to the Whangarei Hospital. (11) Reorganizing and extending the Te Kopuru Hospital. (12) A new administration block and a new office block at the Hamilton Hospital. (13) Tuberculosis annex at New Plymouth. In addition to the above the Wellington Hospital Board and the Auckland Hospital Board have for some time been discussing large extensions of available hospital accommodation. The expenditure under new equipment and hospitals is also showing increase. In order to keep step with the advancement of medical and surgical treatment, new and more equipment is constantly being budgetted for. Tuberculosis. During the year, in co-operation with the Palmerston North and Waipawa Hospital Boards, visits were paid to all the Hospital Boards in the North Island from Waikato southwards in order to interest various Boards in the setting-up in the various districts a travelling tuberculosis clinic. All the Boards interviewed showed great interest in the scheme, and expressed their utmost willingness to co-operate. Following this there is now in operation throughout this area of the North Island a system whereby a tuberculosis specialist visits the various centres in the Hospital Boards districts at regular intervals, and in co-operation with the medical superintendents and local medical practitioners examines and gives an opinion on any cases referred to him. It is hoped by this means to achieve the following objects: — (a) To follow up and keep under observation cases that have been discharged from sanatoria. (b) To follow up and keep under observation the contacts of actual cases of tuberculosis. (c) To arrive at an earlier diagnosis in the case of suspected cases so that sanatorium treatment may be instituted at the most favourable period. The services given by the tuberculosis expert are entirely free, and the two Boards administering the "two sanatoria pay all the travelling-expenses. The institution of this travelling clinic has involved the various Hospital Boards in no additional expenditure. They will, however, have some extra expenditure with the increased number of cases suitable for sanatorium treatment that must inevitably be discovered. Hospital Stores. —Purchase and Control. The Department finds it more and more necessary to direct attention to the importance of instituting rigid control both in the purchase of hospital stores and in their issue either within or without the hospital. The necessary routine in order to establish a reasonable 5—H. 31.

33

EL—3l.

check on both purchase and distribution is not very elaborate, whilst an effective stores system facilitates economical buying, avoids errors in ordering and losses from dead stock or excessive stocks, and also assists the financial control of the institution's activities. There is considerable room for improvement in the purchasing methods adopted by some of the Hospital Boards, and it is satisfactory to learn that at the instance of the Hospital Boards Association steps are being taken towards the introduction of uniform specifications covering articles of common use in hospitals with the object ultimately of bringing about greater economy in buying. It is recognized that " standardization " of supplies requires careful investigation and study, and that it may take some little time to achieve agreement on the part of those concerned as to what is to constitute the future standards for various articles. However, the necessary inquiries are being actively pursued, and it is expected that standard specifications in respect of a number of textiles will be shortly made available. Apart from the question of standardization there is need for a wider adoption of the practice of obtaining and accepting quotations for supplies on a " line for line " basis. Stores Accounting. Stores should be defined as including any article of a consumable or non-consumable nature required in carrying out the services of any institution. Accounts for stores should be kept in such a form as will enable a properly classified and continuous record to be maintained of all stores. Wherever practicable the principle should be observed—that it should require concurrence and action on the part of two or more officials to complete a transaction. The main points in a proper stores system are that all stores should be recorded both for receipt and issue, and every entry supported by proof of its accuracy. This envisages the following minimum requirements:— (a) Store ledgers. . (b) Official order forms. (c) Internal requisitions. (d) Inventories for non-consumable stores and their periodical check. (e) Proper regard to writing-off unserviceable stores and breakages. (/) Yearly stocktaking. The system for the larger institutions would naturally involve greater detail than for the smaller institutions, and extra subsidiary records applicable to special sections or departments. Hospital Inquiries. During the year serious administrative trouble developed at Grey and Waihi Hospitals. The dissension at Grey has been in evidence for the past two or three years, and it was hoped that with the changes in executive officers and the personnel of the Board that the institutional administration would proceed smoothly. Unfortunately the reverse happened, and culminated in February, 1936, in the resignation of the Medical Superintendent, Matron, and six Sisters. Endeavour was made by the Board to hold an inquiry, but owing to the fact that the ex-Matron had left Greymouth immediately on handing in her resignation and also that the six Sisters declined to make any statement before the Board, proper investigation was not possible. At Waihi the troubles arose owing to the action of a majority of the Board insisting on the reinstatement of a Hospital Aid who, in the opinion of the Medical Superintendent, was incompetent. This Hospital Aid had been suspended by the Medical Superintendent in July, but in the same month the suspension was removed by the Board. In view of subsequent action on her part she was given notice of dismissal by the Medical Superintendent in August. While she was under notice of dismissal the Board held an inquiry into the circumstances, and decided to terminate the services of the Matron and to order the Superintendent to reinstate the Hospital Aid. Following this, the entire nursing and domestic staff tendered their resignations. The Medical Superintendent and the Assistant, consequent 011 the Board s insistence on the reinstatement of the Aid, also resigned. Unsuccessful endeavours were made by the Department to bring about a reconciliation. Subsequently the Board experienced considerable difficulty in obtaining a suitable nursing staff, and only one application was received for the position of Medical Superintendent. It is noteworthy that in both the Hospital Boards controlling these institutions there has been and is intense difference of opinion among the members of the Board and, in my opinion, where the lack of harmony exists on a Board, troubles such as these are very likely to arise. Under existing legislation the Department's jurisdiction is distinctly limited, and however unreasonable may be the decisions of the Board, prôvided they do not involve any illegality, the Department appears to have no power actively to interfere. Queen Mary Hospital, Hanmer. The work at this hospital continues to increase. The women's block is practically always at full capacity. A new block for men has been approved and plans and specifications are being prepared. E. A. Shore, Director, Division of Hospitals,

34

H.—3l.

PART V,— DENTAL HYGIENE.

I have the honour to submit the following report on the work of the Dental Division for the year ending 31st March, 1936: — The work of the School Dental Service has been maintained with some difficulty during the year. The reduced numbers entered for training during the last few years have made it increasingly difficult to maintain the staff in the field at the necessary strength, and had not several married ex-dental nurses been available to assist the Department, there would have been no option but to abandon the work in certain districts until such time as more staff was available. As it is, the work at several centres is tending to fall into arrears. The situation has been further complicated by the decision to re-admit five-year-old children to the primary schools this year. Consequent on the large influx of these children at all centres when the schools reopened in February, 1936, the dental nurses are working under high pressure, and it will be some time before the initial treatment is completed for all this year's new entrants. Many centres require assistance, but this cannot be given until more staff is available. The problem is a serious one, for the reason that the longer revision is delayed, the greater is the amount of treatment required. Dental defects are found to develop to an extent out of- all proportion to the time involved. Since the number of patients allotted to each dental nurse is based on revision at six-monthly intervals, the position of the work becomes progressively worse if, through reason of excessive numbers of patients, the revision falls into arrears, and no assistance is _ forthcoming. Thus the necessity for building up an adequate reserve of dental nurses is apparent. When not required in the field, the nurses comprising the reserve would be stationed at the Wellington Clinic, and their services utilized with advantage for the treatment of Wellington patients. The position will be relieved in due course by the decision to appoint an increased number of student dental nurses in April, 1936. Fifty-one nurses, including two specially selected Maoris, will enter the training-school then, but their services will not, of course, be available in the field before April, 1938. _ The service is now in operation at 252 centres, of which 144 are main centres and 108 are sub-bases. A list of treatment centres is included in this report. No new districts have been opened up during the year, but a certain amount of local extension and reorganization has been carried out in connection with established clinics. have been established at Glen Eden and Mamaku, and are treated by the officers in charge of Henderson and Rotorua Clinics respectively. For convenience of operation, the main treatment centre at Te Kopuru and its sub-base at Ruawai are now organized as sub-bases of Dargaville, which has been raised to the status of a double clinic. Shirley, which was previously the sub-base of St. Albans, is now operated as a main treatment centre. To further facilitate the work, a regrouping of schools under treatment has been carried out at Palmerston North, a new clinic having been established at Terrace End School for the treatment of schools in that district which were formerly treated at the Palmerston North City clinics. No increase of staff was involved in any of these reorganizations. Staff op Dental Division. On the 31st March, 1936, the staff, disposed as under, numbered fourteen dental officers, 219 dental nurses, and one dental attendant: —

35

Dental School Dental Dental Officers. Nurses. Attendant. Director .. .. ■ ■ • • • ■ 1 District Dental Superintendents . . .... 4* Administrative and training staff, Wellington Clinic .. 5 2 Stall: of school dental clinics — Auckland District .. .. 50 Wellington District .. • • • • • • 2 48 Canterbury District . . .. • • ■ • • • 38 Otago District . •• •• •• : - 24 ... . 1 In training . . . • • • • • • • 53$ -On extended leave .. .. .. .■.... ' •• ' - 14 219 1 * The Dental Superintendent of the Otago District is also in charge of the Central Clinic, Dunedin. f Includes two Native Dental Officers working among Native schools in Bay of Plenty and East Coast districts. J Of this number, twenty-four will shortly complete their training and will be drafted for service in the field. Ihe appointment of fifty-one additional student dental nurses has been authorized and is being proceeded with.

M.—3l.

Statistics. Operations performed in the field and in the training-school from Ist January to the 31st December, 1935: — Fillings — In permanent teeth .. .. ~ .. 205,012 In deciduous teeth .. .. .. .. .. 245,745 450,757 Extractions— Of permanent teeth .. .. ~ . . . , 1 964 Of deciduous teeth .. .. ~ ~ .. 70 818 — 72,782 Other operations .. .. .. .. 150,835 Total operations .. .. .. .. .. 674,374 _ The following figures illustrate the progress of the Service during the last six years

These figures include the years of acute financial stringency, during which the annual extension of the service to new districts became impossible. It is satisfactory to note that no ground has been lost, and that, on the contrary, the figures disclose a small, but steady, increase each year. Total number of operations since the inception of the service: 5,239,279. The Training of Dental Nurses. . For the year under review there were twenty-nine dental nurses in their first year of training and twenty-four nurses in, their second year. The final examination for this latter group was held during March, 1936, the examiners being Dr. R. E. T. Hewat, D.D.S. (N.Z.), of Wanganui, and the Acting Superintendent of the Training-school (Mr. A. D. Brice, 8.D.5.). Of the twenty-four candidates, all were successful except two, who obtained a partial pass, and who at a later date will be afforded a further opportunity of satisfying the examiners. Thirty new probationer dental nurses were appointed in July, 1935, but one was retired almost immediately. Of the remaining twenty-nine all were successful in passing the primary examination held during November, the examiners being Dr. Helen Bakewell and Dr. Phyllis Moir, of the School Medical Service. Wellington Dental Clinic. The following is an extract from the report of Mr. A. D. Brice, 8.D.5., who is Acting Superintendent during the absence abroad of the Superintendent, Mr. J. B. Bibby, B.A. Attendance and Operations.—Attendances recorded and operations performed in the Dental Clinic, Wellington, for the year ending 31st March, 1936, are shown below, with the 1934-35 figures in parentheses. Attendances. Fillings. Extractions. Other Operations. 29,645 20,790 1,822 17,485 (29,565) (15,139) (1,700) (19,046) Total attendances recorded and operations performed since the opening of the Wellington Clinic to 31st March, 1936, are— Attendances. Fillings. Extractions. Other Operations. 428,970 286,312 67,929 231,260 Number of Patients under Treatment.-—At the 31st March, 1936, the number of patients under treatment was 3,440. Various factors, including a purging of the list of patients for whom treatment had been suspended owing to failure to return within a specified time, have combined to reduce the number of patients on the register from 4,775, as shown in the previous year. Annual Registration Fee.—Re-registrations of patients during the twelve months ended 31st March, 1936, totalled 2,633. Exemption from payment of the annual registration fee of 2s. 6d. was granted in 452 cases, or 14-3 per cent, of the total re-registrations. This does not include orphanage patients, who are also exempted from payment. Waiting List.—At present the list of children awaiting admission to the Wellington Clinic stands at 3,526. Nine hundred and twenty-five applications for treatment have been

36

Number of Schools Number of Children „ , , ,, , , Year. under Systematic receiving Systematic iotal .Number of Treatment. Treatment. Operations. 1930 930 67,652 463,204 1931 •• •• •• •• 1,118 68,995 562,759 1932 1,297 72,584 619,390 1933 •• •• •• 1,430 78,391 623,625 1934 •• •• •• 1,551 83,433 626,878 1935 ■■ •• •• 1,590 84,738 674,374 — I

H. —31.

received during the twelve months Ist April, 1935, to 31st March, 1936. An examination of the waiting list shows that — Twenty-four children have had their names on the list over three years; 1,346 children have had their names on the list over two years; 1,231 children have had their names on the list over one year; and 925 children have had their names on the list under one year: Total number of names on waiting list at 31st March, 1936, 3,526. Various steps have been taken to hasten the time when it will be possible to commence the treatment of children whose names are on the waiting list. It is obvious, however, that it is only by the maintenance of a greatly increased staff of dental nurses that the requirements of Wellington City can be met. Methods and Results. As long ago as 1918, Sir George Newman, until recently Chief Medical Officer of the Ministry of Health in Great Britain, said in the course of his annual report:— " The dental problem remains, after ten years of the School Medical Service, one of the most important, urgent, and difficult. All over the country there is prevalent, as I have pointed out for some years, a high degree of dental defect, deleterious in itself and far-reaching in its injurious effects on the health of the children, adolescents, and adults. The problem stands in the front rank of the questions of preventive medicine with which the country is faced." Since then, Sir George Newman has on more than one occasion set out what he considered the fundamental principles that should be observed in the organization of a satisfactory school dental service. It is of interest to note that, approaching the subject independently from an entirely different angle, a number of the principles formulated in this country are on the same lines as those laid down by Sir George Newman. Not only were these principles adopted here as something to aspire to, but they have definitely been incorporated in the organization of the New Zealand School Dental Service. Among those enunciated by Sir George Newman and applied in the New Zealand Service are— (1) The aim of the School Dental Service should be to secure that as many children as possible shall leave school without the loss of permanent teeth, free from dental disease, and trained in the care of the teeth. (2) Regular re-inspection (with treatment if necessary) of every child brought into the scheme. (3) Until sufficient staff is available to deal with the pupils of all schools, the scheme must temporarily be restricted to certain districts in order to carry out the principle enunciated in (1). (4) If much time is devoted to the treatment of children other than those who attend in connection with systematic dental inspection, routine work is disorganized, and efficiency is impaired. (Note. To this might be added that the giving of casual treatment indiscriminately tends to remove the incentive for parents to accept regular— and therefore preventive—treatment for their children). (5) A dental scheme should include some provision for educating children in the need for care of the teeth. (6) The treatment should be conservative in character, and accordingly the bulk of the treatment should be by filling rather than by extraction. These principles are being applied in New Zealand, and their soundness can best be demonstrated by the results obtained. In previous reports, the ratio of fillings to extractions has been commented on, and the table is repeated here, with the addition of the figure for the year under review. It is also shown in graph form. It is gratifying to find that there is a still further reduction in the number of extractions compared with fillings. This can be interpreted broadly as the ratio of unsaveable to saveable teeth, and a record of only 16-1 teeth extracted for every 100 fillings performed is evidence that the application of the principles enumerated above is attended with good results. A comparison with statistics from other countries shows the New Zealand figures in a very favourable light. The following table shows the steady reduction that has taken place in this ratio since the service was first established. -|7i , ~ Ratio: extractions Fillings. Extractions. per Hundred Ffflings . 1.921-22 13,047 14,939 114-5 1922-23 24,603 25,436 103-3 1923-24 47,610 37,978 79-7 1924-25 .. •• •• 59,322 43,181 72-6 1925-26 •• •• •• 61,506 41,339 67-2 1926-27 '. •■ •• 84,723 53,232 62-8 1927-28 .. •• ■■ 116,916 66,523 56-8 1928-29 .. •• 146,354 76,555 52-3 1929-30 .. •• •• •• 190,934 71,128 37-2 1930-31 •• •• 258,546 75,973 25-5 1931_32 " .. 334,827 80,389 24-0 1932-33 .. •• 382,289 74,633 19-5 1933_34 397,437 69,208 17-4 1934-35 399,560 70,207 17-5 1935-36 450,757 72,782 16-1

37

īī. —3l

Showing the ratio of Extractions per 100 Fillings.

Dental Disease among Maori Children. : ";V In view of the fact that the modern Maori no longer enjoys the immunity .to dental caries that was characteristic of past generations, the remarks quoted below from a report prepared by Mr. L. Rangi, Dental Officer to Native Schools, with reference to one of the schools under his care in the Bay of Plenty District, are of special interest, as touching on some of the dietetic factors which, it can be assumed, have a bearing on this well recognized deterioration of dental tissues among Native races in civilized communities.

38

H.—3l.

In order to provide a basis of comparison, I would first of all quote the results of an examination of fifteen Maori skulls and jaws which I personally carried out at the Auckland War Memorial Museum through the courtesy of the Director. They are as under:— (1) From Opunake —skull and mandible ; 21 | 12367 missing (dropped out) ; remainder show attrition, but perfectly free from caries. (2) From Ivawa Ivawa —skull only ; only 76 |67 present; attrition ; free from caries. (3) From Waiuku —skull only ; 6ED | DE6 present; attrition ; free from caries ; 7 j erupting. (4) From Whangarei heads—skull and mandible ; full dentition, but | E retained and | 5 absent; no attrition ; darkening in fissures, but no caries. (5) From Muriwai —mandible only ; all teeth present except 8 | , of which no sign ; marked attrition of all except 7 j 78 ; 7 j showed dark fissures, but no caries. (6) From Muriwai—mandible only ; marked attrition, especially of 6 | (3, but none of 7 | 7 ; latter showed dark fissures, but no caries. 8 I 4 (7) From Chatham Islands —skull and mandible ; | dropped out; no sign of ( 8 having been present; very marked attrition ; incisors as sharp as chisels ; 6| 6 worn down until pulp exposed ; | 6 shows signs of alveolar abscess ; no caries. (8) From Chatham Islands—skull and mandible ; 1 | 1 missing ; no sign of 8 [ ; attrition, especially of first molars ; no caries. (9) From Chatham Islands —skull only ; | 278 dropped out; remainder worn flat, except 87 | carious fissures in 8| . (10) From Muriwai —skull only ; 4| 1 dropped out; slight attrition ; high polish ; darkened fissures in 8 | 8, but no caries. (11) From Kaipara Heads —skull only; I| 1 dropped out; attrition, especially of 6| 6, which exhibit jagged edges of enamel; no caries. (12) From Paratutai —skull and mandible ; all teeth present; attrition, especially of first molars ; third molars dark fissures, ? carious. (13) From Hokianga—mandible only ; large and well developed ; all teeth present; attrition ; distal cavity in 6 | . (14) From Panmure —mandible only ; 87 j 678 had been removed ; marked attrition of remainder ; no caries. (15) From Waiuku—mandible only ; very large ; marked attrition of 6 | 6 ; slight attrition of remainder, except 8| 8 which showed none at all; no caries. These skulls and mandibles exhibited altogether only two definitely carious teeth (specimens 9 and 13), and four (specimen 12) in which the presence of caries was doubtful. Mr. Bangi's figures, showing 6-3 carious teeth per Maori child, form a striking contrast. Furthermore, the attrition common to all these specimens will not be found in the modern if the diet described below is adhered to. The following is a summary of his report on one of the best of his schools:— Examination of Maori Children at Te Paroa-Totara Native School (no previous treatment). Number of children examined . . .. . . . . .. 87 Percentage of children with dental caries .. .. .. .. 94-25 Total number of teeth examined .. .. .. .. ..2,125 Total number of carious teeth . . . . .. . . .. 549 Percentage of carious teeth .. . . .. . . .. 25-83 Average number of carious teeth per child .. .. .. .. 6-3 The following comments offered by Mr. Rangi in regard to the above figures are of more than passing interest— Living Conditions.—The standard of the living conditions of the Maori parents in this school district is very high, and is reflected in the personal appearance of the children attending school. It is the best in my area. The children are well nourished, and are of good physique. Indulgent parents, who, out of mistaken kindness, shower their children with sweets and other luxuries, could be easily identified; on oral examination being carried out, their children have most carious teeth. On the other hand, children who hardly ever enjoy these luxuries have little or no dental work at all. These facts are borne out by my dental examinations of other schools in my group. Distribution of Caries. —Mostly in deciduous teeth. Of the permanent teeth, lower first molars are the most affected —especially on the buccal aspects at first, then on the fissures occlusally later. Last of all, upper anteriors become affected, both mesially and distally. This state of upper anteriors is prevalent throughout the area. Oral Cleanliness.—Very lax or none at all. Toothbrush never used. Diet. —Maori children of the present day are brought up on soft pappy foods. Most live on tea and bread, usually white bread. Tea is taken well sweetened, and the bread eaten after being steeped in the tea. Children cannot help but eat in this manner, because soon after being weaned their mothers fed them thus, till they were quite big, and hence it has become a habit. This is borne out by the awful conditions of the mouths of some new entrants being treated not only at this school, but at all the schools in my district

39

H.—3l.

Dental Health Education. Last year I was able to record a marked increase in the number of talks and addresses given, as compared with the previous year—42s as against 286. For the year under review a still further substantial increase can be recorded. There was a gratifying response to an appeal for increased activity in this direction, and officers report having given 742 talks and addresses. The usual chair-side instructions has been continued, and educational pamphlets have been distributed very freely. General. Dental Clinic Committees continue to function successfully, and their activities undoubtedly are instrumental in stimulating local interest in the work of the School Dental Service. A few committees, but relatively very few, experience difficulty in meeting their financial obligations. The District Dental Superintendents keep in close touch with all committees, and their experience and advice are always at the disposal of those that desire assistance. It is with pleasure that I acknowledge the continued co-operation of headmasters and teachers, whose ready and whole-hearted support greatly facilitates the work of the School Dental Service. To Education Boards and their staffs, I also wish to express my thanks for their help throughout the year. Within the Division, the district staffs and the officers in the field have responded loyally to the extra calls that have been made on them during a somewhat difficult year, and I am glad to have this opportunity of acknowledging their services. J. Ll. Saunders, Director, Division of Dental Hygiene.

Centres at which School Dental Clinics were established as at 31st March, 1936.

40

Main Treatment Centres. j Authorized Sub-bases. | Main Treatment Centres. | Authorized Sub-bases. Auckland District. Avondale .. ■ • Avondale South. Ngatea .. .. Kaihere, Kerepehi, Turua, Birkenhead . . .. • ■ Waitakaruru. Cambridge • • • • • ■ Onehunga Dargaville .. . . Te Kopuru, Ruawai. Opotiki .. .. Maraenui, Taneatua, Torere. Devonport .. ■. • • Otahuhu Wellesley .. •• •• Paeroa.. Normal School, Mount .. Papakura Eden Ponsonby Gisborne No. 1 .. • • • • Pukekohe Gisborne No. 2 .. .. • • Rotorua .. .. Mamaku. Gladstone Road, Auckland Mount Albert. Sandringham Grey Lynn .. ■ • Tauranga .. Te Puke. Hamilton East .. • • Te Aroha Helensville • • ■ • Huapai. Te Paroa - Totara . . Maketu, Matata, Poroporo, Henderson .. Glen Eden. Pukehina, Ruatoki, Huntly • ■ • • Pukemiro, Te Kauwhata. Tawera, Te Teko, WaioManurewa .. •. • • h au - Matamata .. .. • • i Thames .. .. Coromandel Maungawhau, Auckland ■ • Tikitiki .. .. Ruatoria, Te Araroa. Morrinsville .. ■ • • • Waihi Mount Eden .. .. • • Warkworth . . .. Wellsford. Mount Roskill .. .. • • Whangarei .. . . Horahora, Whau Valley. New Lynn .. •• •• Whangarei Ngaruawahia .. •. Glen Massey, Raglan. Whitiora, Hamilton Wellington District. Blenheim .. .. • • Palmerston North (KingsCarterton .. .. Greytown. way) Dannevirke .. .. • • Palmerston North (College Eketahuna .. ■ • Tiraumea, Woodville. Street) Eltham . • • • • • Palmerston North (Terrace Eeatherston . . .. Martinborough. End) Feilding .. • • • • Patea .. .. . . Waverley. Gonville • ■ • • • • Petone.. . • . . Hastings •. • ■ • • Picton .. .. Havelock, Rai Valley. Hastings (Country) .. . • St. John's Hill, Wanganui Country schools from TuraHawera .'. • ■ ■ • (Mobile Clinic) kina to Nukuma.ru. Inglewood .. . • • • Shannon . . .. Eastbourne. Levin .. .. • • Stratford Lower Hutt .. ■ • • • Taihape . . .. Mangaweka. Manaia . • • • • • Taumarunui . . .. Kakahi. Marton . . ■ • Hunterville. Te Awamutu Masterton .. .. ■ • Te Kuiti .. .. Waimiha. Masterton (Country) .. .. Upper Hutt Napier • - ■ • ■ • Waipawa .. . . Otane New Plymouth .. .. ■ • Waipukurau .. .. Porangahau. New Plymouth (Country) .. Wairoa Ohakune • ■ • • Raetihi. Waitara . . .. Awakino. Ormondville . • • • Takapau, Otaki. Wanganui (Keith Street) Otorohanga .. •. Piopio. Wanganui East Pahiatua ., . • Pongaroa. Wellington

H.—3l.

Centres at which School Dental Clinics were established as at 31st March, 1936 —contd.

PART VI.—DIVISION OF NURSING-,

I have the honour to submit the report for the Division of Nursing for the Year ended 31st March, 1936. The year has heen an extremely busy but a fortunate one in that nothing of an unforeseen nature has occurred to disturb the routine work of the office. Studies. Health of Nurses. —Last year, in conjunction with an International Committee set up by the International Council of Nurses, it was decided to begin a five-year study of the health of nursing staffs in New Zealand. Questionnaires were issued to all training-schools and summarized; the same method of procedure has been followed this year except that the questionnaire was simpler in form and has resulted in much more accurate data being supplied. From the findings it is obvious that much yet remains to be done in this field of investigation: Total Number of Training-schools : 26. 1935. 1936. Number of applicants examined .. .. .. .. 350 678 Number of rejections for physical reasons .. . . 42 53 Number of training-schools conducting X-ray examination of chest 8 19 Number of training-schools including Mantoux tuberculosis test. . 5 4 Number of training-schools carrying out routine annual physical examination and weight recording .. .. 15 23 Average number of days sickness — Per pupil nurse for the total pupil staff .. .. .. 7 7 Per registered nurse for the total registered staff . . 6 4 Average duration of each case of sickness — Per individual pupil nurse .. .. .. .. .. 14 Per individual registered nurse .. .. . . . . .. 13 6—H. 31.

41

Main Treatment Centres. Authorized Sub-bases. Main Treatment Centres. Authorized Sub-bases. Canterbury District. Ashburton West .. .. Rangiora .. Ashburton East .. Tinwald. Reef ton .. .. j Inangahua Junction, MurBeckenham .. .. Opawa. I chison, Waiut.a. Brightwater .. .. Richmond, Stoke, Tahuna- Runanga .. .. : Blackball, Taylorville. nui, Wakefield. St. Albans .. ... Christchurch East .. .. Shirley .. Fairlie . . .. Pleasant Point. Somerfield School, ChristGeraldine .. .. .. church Greymouth .. .. .. Southbridge .. .. Leeston. Hawarden . . .. Hanmer Springs, Kaikoura. Sumner Hokitika . . .. Harihari, Kokotahi, Ross, Sydenham Waiho Gorge, Wataroa, Takaka .. .. Collingwood. Weheka. Temuka .. .. Winchester. Hornby .. .. .. Timaru (Main) .. . . West School. Kaiapoi .. .. Waimairi. Timaru (Waimataitai) Linwood .. . . .. Waimate Lyttelton .. . . .. Westport .. .. Denniston, Granity, Hector, Motueka . . .. Upper Moutere. Karamea, Millerton, SedNelson . . . . .. donville, Stockton, WaiNew Brighton .. . . .. mangaroa. Papanui .. .. .. Woolston Rakaia .. .. Methven. Otago District. Alexandra . . .. Clyde, Cromwell, Pembroke, Oamaru Queenstown. Oamaru (Country) .. Kurow. Balclutha .. .. .. Otautau . . . . Nightcaps, Ohai. Dunedin Central . . .. Palmerston, Otago .. Seacliff. Dunedin (Macandrew Road) .. Port Chalmers Forbury .. . . .. Ranfurly .. .. Middlemarch, Naseby, OmaGore .. . . . . Mataura. kau, Oturehua. Invercargill . . .. . . Tapanui .. .. Lawrence, Roxburgh. Kaitangata . . . . Clinton. Winton Milton .. .. . . Woodlands .. .. Bluff, Stewart Island. Mosgiel .. .. Green Island. Wyndham .. .. Edendale.

H.—3l.

From a detailed examination of the above it is obvious that while definite improvement has been made in regard to the method of physical examinations there remains much to be done:— (1) The standard of physical examination for applicants in some hospitals is too lenient. (2) Much more can be done in regard to tuberculosis skin tests. (3) Though most hospitals have some record of weights of pupil nurses regularly kept quite a number do not yet carry out an annual physical examination. (4) The incidence of influenza and septic minor conditions such as boils, sores, &c., should give grave reason for consideration as to the need for better isolation of early cases. (5) Twenty-four cases of pulmonary tuberculosis and pleurisy out of a total of 2,000 nurses is a heavy incidence rate and should make for closer investigation of nursing technique. Apart from better physical medical examinations other factors bearing on the well-being of nursing staffs which need thought are— (1) Excessive terms of night duty. Terms of two or three months in the winter for instance mean that these nurses see little sunlight during that period. (2) Better supervision of the feeding of nurses: In the majority of hospitals the food is good and well cooked, and because nurses invariably put on weight authorities are satisfied, but the question to be asked is not " whether the nurse is receiving her caloric requirement" but rather "is she receiving a properly balanced meal with correct food requirements." It is questionable whether dinner should not be a compulsory meal unless special permission is given for exemption. In some hospitals catering is done allowing for 25 per cent, to 30 per cent, of the staff being absent. As there was quite a large group of nurses in 1935 (451 pupil nurses and 81 registered nurses) receiving some form of medical treatment while on duty, it can easily be seen that this whole question is one of grave economic importance to the controlling authorities. It would appear that the time has arrived when the conditions governing physical examinations should be laid down by regulation. Nursing Technique. For the fourth year running the system of investigation of nursing technique by means of questionnaires has been again followed. This year the subjects chosen were— (1) The Management of a Venereal Disease Clinic. (2) The Nursing of Skin Diseases. (3) The Technique of Sterilization in an Operating Theatre. The replies showed the need for very definite principles to be laid down in connection with certain aspects of each question dealt with, but owing to various difficulties it was decided to carry out further investigations before publication. Scholarships. Miss E. Kaa, who was awarded a Carnegie Scholarship to enable her to follow a special course of study in Home Science, completed her course last October and has since been loaned to the Education Department for one term to carry out health propaganda in Native Schools in the North Auckland District. At the termination of this engagement it is hoped to use her services in a somewhat similar manner in connection with the District Nurses health work. Miss E. Hughes of Fiji, who was awarded a Rockefeller Scholarship to take a post graduate course in hospital administration and teaching of nursing has returned to Fiji, and is Assistant Matron on the staff of the Colonial War Memorial Hospital, Suva, where her duties include assisting with the teaching of the pupil nurses, both European and Native. The New Zealand Registered Nurses' Association, together with the New Zealand Red Cross Society, raised a Florence Nightingale Memorial Scholarship of £250 towards sending a nurse to take this post graduate course at Bedford College, London. This amount was subsidized from the post graduate funds and by the Government to the extent of a further £250 to cover the cost of travelling and exchange on the condition that the candidate should be chosen by the Public Service Commissioner and employed by the Health Department on her return to New Zealand. Miss E. R. Bridges, the Assistant Matron of Invercargill Hospital, was chosen. She, in addition to being a registered nurse and midwife, also holds the New Zealand Post Graduate Diploma and the Plunket certificate. She took up residence last August at 15 Manchester Square—the International Hostel attached to this course—and reports received concerning her w T ork in England are very satisfactory. Overseas Exchange. The system of overseas exchange of nursing sisters has now been firmly established. Two Sisters from New Zealand have exchanged with Sisters from the Melbourne Women's

42

H.—3l.

Hospital each for a period of six months. The experience has been greatly appreciated by the New-Zealanders, and will be a definite benefit particularly where the senior nursing staff is concerned with assisting in the training of medical students. It is hoped in the near future to extend this system of exchange to include one of the large Sydney hospitals on the general side of the hospital administration. Five staff nurses have been sent during the past year for service under the Shanghai Municipal Council. Experience in the East is so varied and differs so considerably from New Zealand that these nurses, too, are greatly appreciating the opportunity thus afforded them. The agreement between Fiji and New Zealand is now thoroughly established. Three Sisters from New Zealand, in addition to the Matron are on the staff of the Colonial AVar Memorial Hospital, Suva, and several candidates from this hospital have also passed the New Zealand State examination. Arrangements are being made for nurses trained at Suva to come to New Zealand for their obstetrical training, and it is hoped to also assist the recruitment of pupil nurses for training in the Suva Hospital as required from the staffs of the small North Auckland Hospitals where suitable candidates are offering. Tropical Nursing Service. During the year Miss Roberts, the Matron of the Government Hospital, Apia, Western Samoa, while she was on furlough, was relieved by Miss A. J. North, Nurse Inspector from the Poverty Bay Health District. In conjunction with one of the Mission Schools opportunity was taken to establish a short course of training in Baby Welfare for senior Native nurses and consultation centres have been started under the guidance of these girls supervised by the Matron. While in New Zealand Miss Roberts undertook a refresher course in obstetrics and infant welfare and since her return to Apia, ante-natal clinics are in course of establishment in the same way. At Rarotonga, in the Cook Islands, a second Sister was appointed, an experienced Maori nurse —Miss E. Paora —being sent. It is hoped in this way to extend the function and usefulness of the Polynesian nurse. Nurses and Midwives Registration Board. The personnel of the Nurses and Midwives Registration Board has remained the same. This has been of definite advantage as experienced members have been able to give valuable advice. Meetings of the Board were held in April, July, and November. Reports covering twenty-four General Hospitals and nineteen Maternity Hospitals which are used for trainingschool purposes were received, and suitable action was taken where it was considered necessary. This action comprised requests for reduction of hours of work where thought excessive; cancellation of a small hospital as a training-school because there was not sufficient domestic assistance; requests for alteration in the type of medical lectures and for better teaching equipment. Following on recommendations made to the Board from a conference of training-school Matrons, a careful review of the syllabus was undertaken and a review of the present system of State examinations. As a result of this study recommendations have been drawn up which are being submitted to a further meeting of Matrons in April of this year. These are as follows: — (1) The introduction of a Preliminary State Examination to be held at the completion of the first year of training and before nineteen months of training. This examination to consist of two papers—a paper on anatomy and physiology to be set by a Medical Examiner and a paper on Elementary Nursing and Hygiene to be set by a nurse examiner. The fee for this examination to be 10s. (2) The substitution of the present Oral Section of the Final State Examination by a practical examination in) the wards of the hospital by a nurse examiner who will be in uniform. The reason for these two recommendations is to bring about a standardization of the preliminary teaching of pupil nurses and to lay more emphasis on the detailed finish of a nurse's practical work. Both examinations should tend to strengthen the clinical instruction of the nurse. The Staffing of General Hospitals which are Training Schools.—During the latter part of this year there lias been a shortage of staff nurses and some Hospital Boards are of the opinion that this has been caused by cancelling the smaller hospitals as training-schools. In point of fact the only hospitals which have been cancelled as training-schools during the past four years are Patea—with an occupied bed rate of twenty-four and a total pupil nurse staff of ten —and Rotorua —with ail occupied bed rate of forty-four and a total pupil nursing staff of sixteen. Between the two there would not have been more than ten nurses a year qualifying. In addition, five hospitals have been regraded from " A " to " Bgrade .training-schools because of lack of clinical instruction, but this action tends to increase the pupil nursing staff as an additional nurse has to bei carried to allow for the nurse who is away doing duty in the " A " grade hospital.

43

H.—3l.

The following tables show the position over the last five years in regard to the total average occupied bed rate for training-school purposes; the total nursing staff over the same period; the total number of nurses sitting for the State Examinations, and the number who have passed:— A. Daily Average Occupied Beds for all Training-schools. 31st December, 1931. 31st December, 1932. 31st December, 1933. 31st March, 1935. 31st March, 1936. 3,981-71 3,981-72 4,059-3 4,220-05 4,467-41 B. Total Nursing Staff for all Training-schools. 1931. 1932. 1933. 1934. 1935. Total nursing staff .. .. 1,740 1,769 1,967 2,116 2,264 Total pupil nurses on staff .. 1,223 1,257 1,412 1,502 1,640 Total registered nurses on staff .. 517 512 555 614 624 C. Total Number of Nurses Sitting and Passing State Examinations. 1931. 1932. 1933. 1934. 1935. Number sitting .. .. 412 385 448 403 354 Number passed . . .. 328 272 338 280 262 A comparison of these three tables shows that while the total number of average occupied hospital beds for training-school purposes and the total number of nurses employed has increased, the number of nurses sitting for the State Examinations has decreased. This is because during the year 1931-32 at the time when there was much unemployment amongst nurses Hospital Boards retained registered nurses and decreased the intake of pupil nurses in many instances. The present shortage is exaggerated by the fact that approximately one hundred nurses have gone to England during the past year. A further point to be considered is that of the total average occupied beds for trainingschool purposes 1,155-3 beds are in hospitals which still only give two days off a month. If the nursing staff in these hospitals is to be increased to allow one nurse to two occupied beds—which is necessary to allow a day off a week—another one hundred nurses in training will be required. The graph opposite shows the position in regard to nursing staffs employed in trainingschools as at 31st March, 1936. Obstetrical Training-schools. The work of the obstetrical hospitals on the whole has been satisfactory. Owing to the increased use of maternity annexes, several staffs have been increased with the result that there is an increase in the number of registered nurses qualifying as maternity nurses and midwives. The number of women who are not qualified nurses who are taking obstetrical training remains much the same. The examiner for the obstetrical examinations in December remarked that the standard of work both professional and educational was considerably higher than on the last occasion on which he had examined. During the year an obstetrical refresher week was held both in Wellington and Christchurch with great success, and it is intended during 1936 to establish more refresher weeks of this nature. In the meantime both at the St. Helens Hospitals and at the Jessie Hope Gibbons Maternity Hospital in Wanganui, many practising maternity nurses and midwives have availed themselves of the opportunity of a clinical refresher course. The number of experienced nurses willing to specialize in obstetrics is limited, and several times during this year Hospital Boards have had difficulty in obtaining the right type of women for charge positions. In many instances the salaries,' both for charge positions and for junior Sisters, are small in comparison with ward Sisters' positions in general hospitals in spite of the fact that these nurses must hold additional qualifications. * There is no doubt that the time has arrived when larger salaries must be paid for this type of nursing if the standard is to be maintained. Examination Results :— MATERNITY NURSES. Registered Nurses. 1932. 1933. 1934. 1935. Number sitting . . . . 152 158 170 190 Number passed . . . . 143 148 108 180 Unregistered Women. 1932. 1933. 1934. 1935. Number sitting .. 35 43 33 34 Number passed .. 30 35 30 33 MIDWIVES. Registered Maternity Nurses who are also Registered Nurses. 1932. 1933. 1934. 1935. Number sitting .. 45 48 53 57 Number passed .. 39 44 47 53

44

H.—3l.

Registered Maternity Nurses who are not Registered Nurses. 1932. 1933. 1934. 1935. Number sitting . . 14 14 18 14 Number passed . . 11 12 13 13 It is hoped during the coming year to raise sufficient money to establish an obstetrical prize for practising midwives who intend to continue in the practise of their profession. A midwife carries grave responsibility, and it is considered advisable to establish a scheme which will encourage practising midwives to study, and thus extend their usefulness to the community.

Showing (per 100 occupied beds) Particulars of Nursing Staff Employed at Training Schools as at 31st, March, 1936.

The Nursing Staff. With the exception of the staff at Queen Mary Hospital, Hanmer Springs, there ha.ve not been many changes in the personnel of the nursing staff. At Queen Mary Hospital the Department sincerely regrets losing the services of Miss Meddins, Miss James, and Miss Owen, all of whom have been on the staff for many years. These resignations, together with some resignations from the junior staff, have necessitated many changes and, largely, a reorganization of the nursing staff.

45

H.—3l.

By permission of the Director-General of Health a most useful conference of Nurse Inspectors was held in "Wellington in September, 1935. It was the first one ever held, and it proved extremely useful in assisting to draw up definite standards for their work throughout New Zealand. Quite apart from this aspect such a meeting together makes for a team spirit as nothing else can do. Subjects chosen for discussion were— The requirements of a Private Hospital; Inspection of maternity nurses, midwives, and district nurses; Standardization of the district nurses' uniform; A general survey of the Nurse Inspectors' duties. It is hoped to hold meetings of this kind from time to time. District Nursing. The following table covers the statistical summary of the district nurses' work for this year as compared with the work of the nurses during the past year. The number of nurses has been increased by three owing to the Department taking over the control of the nurses under the Wairoa Hospital Board and the placing of a nurse at Whangaroa. 1934. 1935. Total number of nurses .. . . 25 28 European. Maori. European. Maori. Total number of individuals treated .. 844 30,023 1,095 31,977 Total number of treatments given .. 1,369 41,733 1,633 44,107 Maternity cases — Confinements .. . . . . 255 18 215 During puerperium .. . . . . 483 20 525 Complicated maternity oases .... 49 .. 45 Maternal deaths .. .... 5 .. 5 Ante-natal and post-natal — Number of ante-natal cases .. .. 1,782 .. 2,169 Number of post-natal cases .. .. 1,924 .. 2,054 Infant welfare — Number of infants seen .. .. 5,404 .. 7,472 Number of attendances .. . . 7,318 .. 10,352 Number of visits paid to pas .. .. 5,445 .. 6,165 Schools visited — With doctor .. .. .. 248 43 202 67 Without doctor .. .. 943 633 1,360 610 For the year 1935 the figures in the case of one nurse are for eight months only and in the case of two others for five and six months- respectively. The work is steadily growing, and the Department appreciates the difficulties under which much of this work is carried out. The year has had peculiar difficulties in that in many districts floods have been severe and several of the staff have been in the unpleasant position of having their homes flooded out and having to vacate the premises for a term. The North Auckland District has given a great deal of time and thought to the development of health work by means of the Maori Women's Institutes. They have been helped in this phase of their work by gifts of demonstration material from several of the large institutes in the Auckland Province which has made possible an extension of subjects. In February a most excellent exhibition of the work done daring the year was held at Pukepoto in the Kaitaia district. Every Maori Institute in the North Auckland district was represented, and the varied nature of the exhibits was very wonderful. Handwork of all kinds, including clothing, knitting, and box furniture; Maori arts and crafts • cooking —including bread, cakes, jams, preserved fruit, &c.—-vegetables and plants for the garden, were exhibited. This very practical teaching must slowly and inevitably influence the lives of the Maori women to take a wider interest in their homes and the welfare of their children. Just as in the case of any European home the success or failure of the family lies largely in the hands of the mother, so it is in the case of the Maori. There is no doubt as to the value of extending health work along these lines because it forms a valuable link to the- home, but as the Institute work requires regular supervision it is very difficult for the district nurse to include this, as she must, with her routine curative and preventive duties which are after all her function. A further difficulty is that in a very large number of districts the areas to be covered are so large and scattered that a great deal of time is spent in travelling. How to balance and develop new work is one of the problems of the future, and it would appear that not only are more district nurses required but also a new type of worker (preferably a Maori) with special training in home science and infant welfare who can work in conjunction with the district nurse, but concentrate on the problem of housecrafts in the home. This year the district nurses' uniform has been standardized, and in future these uniforms will be obtained from one firm on order from a Medical Officer of Health. A certain amount of difficulty was found at first in regard to fitting, but it is hoped that this has now been overcome.

46

H.—3l.

The Post Graduate Course. Arrangements were made this year to include as a section of this course, a training for hospital almoners; the period of training to be ten months —six months theoretical instruction combined with observation work, and concluding with four months practical work in the office of the Hospital Almoner at Wellington Hospital. Hospital Boards were circularized informing them of the advantages of such an officer with special training, and pointing out the necessity for the careful selection of any intending applicant as personality would play an important part in establishing a new service. Fourteen nurses are attending the course this year—nine taking Hospital Administration and Teaching and five Public Health Nursing—but there are no students so far offering for the Almoners' course. Problems for the Future. The Training of the Maori Nurse. During this year, partly owing to one or two typhoid epidemics, there has been a certain amount of publicity in regard to the health needs of the Maori people. Demands have been made for— (а) Hospitals or hostels for Maoris only; (б) The training of more Maori women as nurses. Hospitals for Maoris would only immediately raise a racial bar which the Maoris themselves would be the first to resent. On the whole the old antagonism to hospital treatment, though still existing, is gradually disappearing, and another generation should ensure complete absence of this prejudice against existing hospitals. The training of Maori nurses is a different problem. It is only fair that Maori girls who have prepared themselves should be given an opportunity to equip themselves to assist their people, but certain conditions must be faced. In the first place these girls must be carefully selected—they should be of good family and have received a good secondary education in addition to being of a quiet, steady personality. The arrangement in existence between the Hultarere School and Napier Hospital is a very suitable one. The girls remain for a year resident in the school and attend the hospital for eight hours daily. If at the end of the year they are regarded as suitable, they are taken into the hospital to train in the usual way, the year in the school counting as three months of the period of training. Unfortunately in other localities there is not the provision for an arrangement of this kind. Having commenced training the Maori needs special consideration and understanding by her tutor and ward Sisters. For instance, she frequently thinks in Maori, and therefore is slower in grasping new instructions —and when she does think in English it must be remembered that her background of experience is often very different to her fellow nurses. The next problem comes when she is qualified. She leaves presumably "to work among her people," but this is not possible until she has gained experience in accepting responsibility and exercising authority; this she can only acquire in an institution. Next, her own people cannot pay her, and she has no standing among them unless she is in the employ of some public body with the authority of that body behind her. It is unjust to train Maoris unless we are prepared to employ them after registration in our hospitals. In addition, before they are suitable to work by themselves it is essential that they also should have a full obstetrical training. Domiciliary Nursing Service. In the Wellington district during 1 the year a very satisfactory agreement has been made for the care of early discharged cases, and for the home conditions when bearing on the welfare of the patient, by District Nurses through the Almoner's Office at Wellington Hospital. The Almoner visits the wards every day and gets from the ward Sister the names of patients about whom it is necessary to make inquiries, and in the same way the District Nurses have one person to refer to who can obtain the necessary information for them in regard to changes in treatment for their patients, or, if medical attention is required on the district, who can make the necessary arrangements. There is no doubt that many patients can be cared for in their own homes provided thera is a competent service, and at the same time much useful information bearing on the patients' condition can be obtained for the use of the doctor if a system of this kind is in operation. Some hospitals have done much more than others to develop a service of this kind, but there is no doubt that with better organization its possibilities are enormous and it has much to commend it to every Hospital Board. The Training of Nurses. Recently in New Zealand, as in other countries, the whole question of our present system of training nurses has come under criticism. Some authorities are advocating the university training of a nurse along the lines of a medical student. Whether this is entirely sound is questionable for many reasons. For instance, immediately arises the question " How is the ordinary nursing service of our public hospitals to be maintained? "

47

H.—3l.

It is true that much more might be done if Hospital Boards realized that they were responsible for a school as well as a nursing service, and if the finance of the training-school was adjusted accordingly. New Zealand should develop along its own lines, and should not necessarily slavishly follow what has been done elsewhere. This is a most important study, therefore lam pleased to be able to report that a committee on nursing education is being set up through the Registered Nurses' Association to study the whole question. In conclusion, I would again like to express my grateful thanks to my fellow officers in the Department, to the Matrons and hospital authorities through New Zealand, to the voluntary public health organizations, and to the New Zealand Registered Nurses' Association for the ready assistance and co-operation given to me throughout the year. M. I. Lambie, Director, Division of Nursing.

PART VII. —MATERNAL WELFARE.

REPORT OF INSPECTOR OF MATERNITY AND PRIVATE HOSPITALS. T. L. Paget, L.R.C.P. (Lond.), M.R.C.S. (Eng.). I have the honour to present my annual report for the year ended 31st March, 1936. PART I.—MATERNITY SERVICES. Maternity Hospitals. The maternity services established in New Zealand by public and private enterprise consist of five State (St. Helens) Hospitals, providing 98 beds. These hospitals were established primarily for the training of midwives and at the same time supplementing the public maternity hospitals established and controlled by Hospital Boards in the five centres —namely, Auckland, Wellington, Christchurch, Dunedin, and Invercargill; 1,868 women were confined' in these hospitals. Seventy-two public maternity hospitals under the local Hospital Boards provide 535 beds, and 6,609 women were confined in these hospitals. Two hundred and eleven private maternity hospitals provide 1,002 beds; of these hospitals 36 also admit medical and surgical patients, mostly with the restriction that septic surgical cases_ are excluded. In these hospitals 10,557 women were confined, making a total of 19,034 patients confined in maternity hospitals or over 75 per cent, of the total of 24,395 confinements. Fuller numerical results of the work of these hospitals are given in Tables I and 11. The maternal mortality rate recorded in Table II is in relation to the number of confinements and not to the number of live births. Also, neither abortions nor ectopic gestations are admitted to these hospitals except in extreme emergency. For these reasons the death-rate is not comparable without adjustment to the general maternal mortality rate of the whole country. The necessary adjustment has been made by excluding abortions and ectopic gestations from Group V in calculating the death-rate and a case of Acute Miliary Tuberculosis accompanied by abortion has been excluded from the deaths in Group I. The resulting rate for all hospitals and Group Y may therefore lie regarded as an indication of the respective risk of maternity cases attended in maternity hospitals and those attended elsewhere. In connection with Table 11, I wish to call attention to the elimination of the special danger of the " mixed " hospitals, Group IV, as shown by the lower death-rate. In 1929 the death-rate in these hospitals was 8-23, in comparison with 3 03 for all other hospitals. This high death-rate was due to puerperal sepsis transferred from septic surgical cases. In the following year septic surgical cases were excluded from all of this group of hospitals with the exception of those having separate nursing staffs and conveniences for the proper separation of the two classes of cases. To this must be ascribed the improvement in this group, the maternal mortality of which is now 2-74 in comparison with 2-78 for all maternity hospitals. There can be no' question that this result justifies the precautionary measures that it was found necessary in the first instance to impose upon them, but which are now act by the licensees as necessary.

48

H.—3l.

Table I. —St. Helens Hospital, General Statistics, 1935.

Til. 31.

49

d O a C3 'S S S d » SN .1 5 _cj .2 "2 I I I I -8 ! g Totals. ggg O «2 3 1 <D " 12 § t£ '5 3 6 go« <1 £ g o j & ph « A. Intern Department. Total deliveries .. .. 584 513 360 174 237 1,868 Primiparae .. .. .. 173 106 103 45 62 489 26-18 Multipa,rae .. .. .. 411 407 257 129 175 1,379 73-82 Presentations — Vertex normal rotation .. 539 490 332 162 212 1,735 92-88 Occipto posterior (persistent) .. 25 18 19 8 17 87 4-66 Pace .. .. .. 1 2 2.. 3 8 0-43 Brow .. .. .. .. .. .. .. 1 1 o-05 Breech .. .. .. 25 10 17 4 8 64 3-43 Transverse .. ..- .. 2 1 .. .. I 4 0-21 Twins (sets) . . .. . . 8 7 10 1 5 31 1-66 Complications of pregnancy — Hypermesis .. .. .. .. .. .. 1 .. ] 0-05 Hydramnios .. .. .. 3 2 1 7 1 14 0-75 Pre-eclamptic toxaemia ..23 25 8 3 12 71 3-80 Eclampsia . . .. . . 5 1 1 . . .. 7 0-37 Nephritic toxaemia .. .. .. 2 4 1 2 9 0-48 Haemorrhages— Unavoidable .. .. 3 1 3 3 1 11 0-59 Accidental, external .. . . 4 .. 2 1 2 9 0-48 Accidental, internal .. .. 2 .. .. .. .. 2 0-11 Post-partum, atonic .. . . 10 3 4 4 3 24 1-28 Post-partum, traumatic .. .. 1 .. 1 .. 2 0-11 Lacerations of genital tract— Perinseum .. .. .. 69 65 54 23 19 230 12-31 Cervix .. .. .... 1 5 .. .. 6 0-32 Uterus Contracted pelvis, inlet . . . . .. .. . . . . 1 1 0-05 Contracted pelvis, outlet .. .. 4 8 .. .. 12 0-64 Prolapse of cord . . . . 6 .. . . .. . . 6 0-32 Complications of puerperium— Sepsis, local .. .. .. 1 .. .. 1 7 9 0-48 Sepsis, general .. .. .. .. .. .. 2 2 0-11 Pulmonary embolism .. .. .. .. .. 1 .. 1 0-05 Insanity .. .. .. .. 3 . . . . . . 3 0-16 Crural phlegmasia, venous .. 2 .. .. .. .. 2 0-11 Crural phlegmasia, lymphatic Mastitis .. .. .. 4 2 1 .. 1 8 0-43 Operations— Internal pelvimetry Induction of labour .. .. 31 25 26 23 7 112 - 6-00 Episiotomy .. .. .. 6 9 3 1 1 20 1-07 Impacted shoulders .. . . 2 1 4 .. .. 7 0-37 Suture of perineal lacerations— Complete .. .. .. 1 .. .. .. .. 1 0-05 Incomplete .. .. .. 68 56 54 23 19 220 11-78 Suture of cervical lacerations .. . . I 5 .. . . 6 0-32 Forceps .. .. .. 17 22 14 9 14 76 4-07 Version, external .. .. 4 3 1 1 1 10 0-53 Version, internal .. .. 3 .. 6 .. 3 12 0-64 Version, combined . . .. 1 .. . . .. ,. 1 0-05 Manual removal of placenta .. 3 1 2 4 ■ 3 13 0-70

IL—3l.

Table I.—St. Helens Hospitals, General Statistics, 1935—continued.

50

r-d _H* C) O i—i © rr> a In I g '& jf3I 45 I I § Totals. § £ £ 3 .2 s s S „ £ M O U r* t> f-H O 0 j I g I a A. Intern Department.—continued. Csesarian section— Abdominal conservative .. 5 2 2 .. .. 9 0-48 Abdominal radical Pubiotomy Craniotomy .. .. .. . . 1 . . , . .. 1 0-05 Cleidotomy Decapitation Morbidity .. .. .. 17 20 12 5 13 67 3-59 Mortality .. .. .. 2 .. .. .. 1 3 0-16 Infant statistics — Total births .. .. .. 592 514 371 175 242 1,894 101-39 Premature— Alive .. .. .. 17 13 13 8 13 64 3-43 Dead — Recent .. .. .. 7 .. 5 1 .. 13 0-70 Macerated .. .. 3 1 .. .. .. 4 0-21 Putrid .. .. .. .. .. .. .. 1 1 o-05 Pull term— Alive .. .. .. 549 488 352 163 223 1,775 95-02 DeadRecent .. .. .. 14 4 8 3 3 32 1-71 Macerated .. .. 2 8 .. .. 2 12 0-64 Putrid Children born alive who died 6 6 8 2 1 23 1-23 in hospital Total born dead . . .. 26 13 13 4 6 62 3-32 B. Extern Department. Total attendances .. .. 91 27 62 .. .. 180 Primiparae .. Multiparae .. .. .. 91 27 62 .. .. 180 100-00 Forceps application .. .. 2 .. 1 .. .. 3 1-67 Morbidity .. .. .. 2 1 3 .. .. 6 3-33 Mortality C. Ante-natal Clinics. First visits— Primiparae . . .. .. 192 131 108 44 80 555 Multiparae .. .. .. 571 435 358 131 180 1,675 Return visits .. .. ..3,879 2,649 2,298 505 749 10,080 Outside visits .. .. .. 178 501 457 .. 3 1,139 Outfits sterilized .. .. 149 73 99 67 48 436 Average number of attendances per 6-08 5-68 5-93 3-89 3-88 5-52 patient

H.—3l.

STATISTICS OF MATERNITY HOSPITALS. Table II.—Summary of Maternity Cases in all Hospitals, 1935.

51

— — — — g Number of "g >; A .ā|fl Number of Operations. Hemorrhages. w « # trans- g | * . =■ ® o-2ca ____ ~ -a -umiils _uoxu f erred to other «§ t 2 h |i| S ?'•?! ' r £: T W 1 Ovarian ® J & 1 §2 j3| -g 8 S „ *"°§ i S&a - Version. ° » rf Section. « 9 $9 S af n «?.' t• ■ Jp 63 S h a cs „ ga § «sg-g : a ag g „-g 1-s . * s ! i . - . x • 2S s 12 ® -a -• 5-1 "gs ® c • o »3 sA S 68 M *-• ō 2 +3 Jh .2 »h 5"^3' Q £3'' c bo« ,, «3 ° t v, mSIh § £a® a £ ■3 ■a ® £ a 3 no °§sa Sa a Sa »§e S§° : S-9 1 « & S3 s I 1 sg || §S Q fê e a | « ê gs § | .2 51# ?1 a f! Us Sis its« i> I! -a a b "ga a||= « a s| s s a -s .§ 8 § l m aR ~ s M I s a = M,C 1 "s- Iss £ ° I I r g" 1 ST 1° s I I n° g a 1 ō e> j £ 3 * * I» b T «- hTl- fi Maternity Hospitals —i.e., admitting maternity cases and urgent miscarriage cases only — Group I: 1-100 cases per annum- 14 32 i 06 31 10 109 122 64 36 60 7 17 I" • 3 . 3 ■ ' . 9 19 0-M 0-S »-0« »•»' 1-»» C-Oi .. 0-07 .■» »■« « 0-« 0-1»» 1-51 1« »-■» »-50 »■» »■<>»' <■« Group II: Over 100 cases per annum gg jg 113 107 42 116 9 27 S. 1 :!..,." ,0 7,39 - »« olS o-!S o-oi o-si 0.77 o-b .. 00« k o-m i-u o-« .-a. ■•«! 145 i-m o-»4 in o-n. 0-348 Group III: St. Helens Hospitals- 1 10 13 8 1 1 11 11 26 7 2 23 35 27 10 25 1 3 Percentages to total confinements ,. 6 1 . 7M 4-07 Q-k 0-64 0-05 0-54 0-70 0-43 0-05 0-05 0-59 0-59 1-39 0-37 0-107 1-23 1-87 1-45 0-54 1-34 0-054 0-161 Totals Groups I, II, and III- 786 16 843 74 1 510 61 54 6 57 147 28 1 11 58 86 220 72 30 257 270 198 88 201 17 47 Percentages to total confinements .. '.. .. '.. .. 8-97 0-36 0-32 0-03 0-34 0-87 0-16 0-01 0-07 0-34 0-51 1-30 0-43 0-178 1-53 1-60 1-18 0-52 1-19 0-101 0-279 Mixed Hospitals —i.e., admitting maternity and medical and surgical cases — GroupIV: Mixed Hospitals- 44 171 1 6 1 8 20 9 4 1 8 7 36 5 6 46 48 29 6 24 .. 6 Percentages to total confinements 73 2,191 44 HI q 1 q * q B q 20 q q Qg q q 2 . 1Q 3 , 19 0 . 27 x . 1() 0 , 2?4 All Hospitals —Groups I, II, III, T^ IV 07 a iQQOfi 18 175 859 19 034 118 1 690 62 60 7 66 166 37 5 12 66 93 256 77 36 303 318 227 94 225 17 53 Percentages to totai confinements : ' 8 88 0-Hi 0-32 0-04 0-35 0-87 0-19 0-03 0-06 0-35 0-49 1-34 0-04 0-189 1-59 1-67 1-19 0-49 1.18 0-089 0-278 Cases confined in Private Houses and/ or General Wards of Public Hospitals — Group V— 13 Totals .. • • • • • ■ • • • • 5,361 . . .. ■ ■ . • • • • • • • • • • • ■ • • • • • • ■ • • '' '' .. 0 • 242 Percentages to total confinements

H.—3l.

Ante-natal Clinics. Accessory to the State and public hospitals there are 37 ante-natal clinics available for free advice and attention to all women applying. Table 111 gives the attendances at these clinics, and shows their gradual extension over a period of eleven years.

Table III.

6,725 women who attended these clinics represent 27-5 per cent, of the total confinements. The clinic records show that the following conditions were detected and, when necessary, treated or referred for treatment: Albuminuria, 205; pre-eclamptie toxaemia, 439; goitre, 475; varicose veins, 1,212; dental deficiencies, 1,147; hyperemesis, 62; hydramnios, 70; multiple pregnancy, 84; suspected contracted pelvis, 100; malpresentations, 150. General Hospitals (Medical and Surgical). Public and private medical and surgical hospitals also admit maternity patients in the case of emergency or complications arising in private practice, and pyrexial or septic cases transferred for isolation purposes from maternity hospitals. The cases, both European and Maori, admitted to the medical and surgical hospitals are classified as follows:— Admissions before delivery— For ante-natal treatment .. . . . . . . 34 For delivery—Emergency cases without complications . . . . 33 For Complications arising before or during labour . . . . 269 Admissions after delivery— For complications of the puerperium . . .. . . . . 204 One hundred and twenty-five of the 269 patients admitted before delivery were delivered by Cesarean section, 138 by obstetrical methods, and 7 died undelivered. The extreme gravity of the conditions dealt with in these hospitals is shown by the fact that 22 of the above-mentioned 269 patients died, giving a death-rate of 818 per cent. Of the 204 patients admitted after delivery for complications arising during the puerperium, there were 9 for eclampsia, 10 for post-partum haemorrhage, 81 for puerperal sepsis, and 104 for other pyrexial conditions not diagnosed as puerperal sepsis and recorded as mastitis, pyelitis, pneumonia, tuberculosis, &c. Eighteen of the 204 patients admitted after delivery died, 11 (including Maoris) from puerperal sepsis, 3 from tuberculosis, 1 from pneumonia (non-septic), 2 from post-partum haemorrhage, and 1 from eclampsia. The above record shows the very grave nature of the cases admitted to these hospitals, and that they require a very high degree of obstetrical knowledge and skill both by the medical attendants and nurses to give them adequate treatment. The majority of the public hospitals admitting cases prior to delivery do so for the reason that they have no maternity hospital attached to them, but most of them have made fairly adequate provisions by the appointment of obstetric specialists and midwives and the establishment within the hospital of small obstetrical departments. There are, however, two outstanding cases of hospitals admitting such patients which have failed to make this provision. Endeavours have been made and will continue to be made by the Department to remedy this deficiency by persuading the Boards to appoint obstetric specialists to the staff and, where possible, to establish special wards staffed by midwives for attendance on these patients. This matter will be again referred to in discussing the treatment of patients by Csesarean section. Supplementary to the maternity hospital services which provide for over 75 per cent. of deliveries, and to the ante-natal clinics, which in conjunction with the patient's medical attendant, give advice to 27-5 of expectant mothers, the remainder being dependent upon their private medical advisers alone, there are 28 District Nurses employed by the Health Department and 28 employed by Hospital Boards. The details of this branch of the obstetric services are shown in the report of the Director, Division of Nursing. In spite of the deficiencies noted above, New Zealand has a well-organized maternity hospital service, and the majority of Hospital Boards and the licensees of private hospitals are

52

Nnmhpr nf T t l Average Number Year - Clinics. New Cases. Return Visits. Atten^lces . of Attendances Live Births. per Jratient. I ___L • 1925 .. .. 16 2,289 7,816 10,105 4-41 28,153 1926 .. .. 20 3,238 12,554 15,792 4-88 28,473 1927 .. .. 20 3,919 15,406 19,325 4-93 27,881 1928 .. .. 21 5,050 20,740 25,790 5-11 27,200 1929 .. .. 24 5,177 17,555 22,732 4-39 26,747 1930 .. .. 25 6,027 22,078 28,105 4-66 26,797 1931 .. .. 28 6,306 22,869 29,175 4-63 26,662 1932 .. .. 31 5,882 22,594 28,476 4-84 24,884 1933 .. .. 33 5,978 25,794 29,772 4-98 24,334 1934 34 6,191 24,929 31,120 5-03 24,322 1935 .. .. 37 6,725 26,662 33,389 4-96 23.935

H.—3l

to be commended for the very considerable part they are playing in bringing the maternity services in New Zealand up to a satisfactory standard. The maternity services of New Zealand are distributed so evenly over the country that, in spite of the population of about a million and a half being scattered over an area of 103,285 square miles —approximately the same area as Great Britain —there are few if any women so far removed from essential maternity services that they are unable to get skilled attendance in time of need. Obstetrical Societies. This report would be incomplete without mention of the New Zealand Obstetrical and Gynaecological Society (N.Z. Branch, 8.M.A.) and the more recently formed Obstetrical Branch of the New Zealand Registered Nurses' Association. The former has already had a very great influence upon the practice of obstetrics in New Zealand, providing keen and enlightened criticism of the Health Department's activities and the general methods of obstetrical practice amongst their confreres. Enlightened criticism is educative in the best sense of the term, and representing as it does the best obstetrical opinion in New Zealand its value cannot be over-estimated. The sister association representing the Obstetrical Branch of the Registered Nurses Association, though in existence less than a year, is already doing excellent work in providing exceedingly valuable information to midwives in practice. It will undoubtedly have a great influence in promoting maternal welfare. Inspection op Maternity Hospitals. The inspection of the whole of the maternity hospitals has been efficiently conducted by the Medical Officers of Health and Nurse Inspectors, and in a large number of cases I have been able to personally inspect them. It is satisfactory to note that with a few exceptions the standard of equipment, nursing, and general conduct is satisfactory. In the case of those who do not maintain their hospitals in a manner considered satisfactory, the policy of the Department is to make every attempt to have the deficiencies remedied, failing which the license is revoked, or other measures taken to safeguard the patients admitted to it. In two cases this year it was found necessary to take such action, and though there used to be considerable difficulty in the past in ensuring a satisfactory standard the tactful and helpful efforts of the Medical Officers of Health and Nurse Inspectors have succeeded in improving the efficiency of the hospitals, while at the same time establishing an atmosphere of good will and co-operation between Matrons, licensees, and managers and the departmental officers. In most cases where there has been inefficiency due to lack of knowledge of modern methods the licensees have taken advantage of the obstetrical refresher course available to them. The Obstetrical Branch of the Registered Nurses' Association is doing valuable work in this direction by arranging meetings of midwives and maternity nurses to discuss the various problems that they meet with and to arrange for lectures on these subjects. Up to the present, though the hours of work in the public hospitals have been to a certain extent standardized, the terms of employment of the staffs of private hospitals have not been regarded as coming within the Department's work, except inasmuch as that if understating lead to inefficiency the Act and regulations were, if necessary, invoked to bring the staff up to the required number. One must, however, recognize that the welfare of patients often necessitates exceptional demands upon those attending them, and that whatever hours are accepted as a standard, departure from them is on occasion unavoidable. If a spirit of give and take on both sides is not observed, no hospital, particularly a small one, can be conducted in such a way as to give satisfactory service to the patients and maintain satisfactory conditions of work for the nursing and domestic staff. With a view to acquiring accurate information of the hours for which the staffs of hospitals are required to work, the inspection forms have been amended to ensure as far as possible that it is obtained. There can be no question that, in certain instances, the hours of work are unduly long, and though this is impossible to avoid in hospitals on occasions, the effect upon the staff can, and should be, remedied by allowing extra time off during slack periods; this is not always done. It will be the duty of the Department to give this matter very careful attention. 1 The economical and efficient management of small maternity hospitals established by Hospital Boards to serve the needs of districts more or less remote from the central institutions has presented considerable difficulties'. Eleven hospitals of this nature have been leased to nurses under agreement to conduct them as private hospitals, licensed by the Department. It has been possible to compare the costs before they were leased and the cost to the Hospital Board after leasing in the case of the following hospitals: McHardy Maternity Hospital, Napier, 14 beds; Motueka Cottage Hospital, 3 medical and surgical and 4 maternity beds; Rakaia Maternity Hospital, 4 maternity beds and 1 medical and surgical bed; Methven Hospital, 4 maternity beds and 2 medical and surgical beds; liuntly Cottage Hospital, 5 maternity beds and 4 medical and surgical beds; Opunake, 8 maternity beds. The saving in the net cost to the Boards per annum—i.e., the gross maintenance cost, less recoveries per patient, before leasing and amount of the subsidy_plus cost of building maintenancelias averaged £3,056 per annum over three years, representing a saving of 61-7 per cent. In no case has the service deteriorated, and in many cases it has improved. On the whole, New Zealand can feel proud of its maternity services.

53

H.—3l

Puerperal Mortality. Showing the Death-rate per 1,000 Live Births. 1927-1935

54

H.—3l.

PART lI,— MATERNAL MORBIDITY AND MORTALITY (EUROPEAN). The graph showing maternal mortality rates from different puerperal causes, together with Tables IVa and IVb, giving the number of deaths and rates per 1,000 live births, divided into groups in accordance with the system of international classification is indicative of the medical and nursing professions' and the Health Department's successes and failures in attempts to increase the safety of child-bearing. It also shows the extreme danger of sepsis following attempts to avoid child-bearing by the termination of pregnancy by induced abortion. In speaking of " maternal deaths " I do not include deaths from septic abortion in that term. This is dealt with separately. The true maternal death-rate is 3-25, if septic abortion is added an untrue " maternal death " rate of 4-21 is obtained, and the issues are hopelessly confused.

Table IVa.—Showing the Number of Puerperal Deaths and the Death Rate per 1,000 Live Births, 1927-1935.

Table IVb. —Puerperal Mortality, 1935, showing the Number of Deaths and their relation to Live Births.

55

1927. 1928. 1929. 1930. 1931. 1932. 1933. 1934. 1935. Puerperal sepsis following childbirth .. No. 56 42 30 27 18 13 14 17 8 Rate 2-01 1-54 1-12 1-01 0-68 0-52 0-58 0-70 0-33 Haemorrhages, accidents of labour, thrombosis No. 35 30 39 36 31 30 29 19 24 phlegmasia, and following childbirth not Rate 1'26 1-10 1-46 1-34 1 16 1-21 1 -19 0-78 1-00 otherwise defined Toxaemia, albuminuria, and eclampsia .. No. 27 40 34 36 38 23 29 30 34 Rate 0-97 1-47 1-27 1-34 1-43 0-92 1-19 1-24 1-42 Accidents of pregnancy, non-septic abortion, No. 5 8 7 7 11 9 10 10 12 and ectopic gestation Rate 0-18 0-29 0-26 0-26 0-41 0-36 0-41 0*41 0*50 Total maternal deaths (excluding septic No. 123 120 110 106 98 75 82 76 78 abortion) Rate 4-41 4-42 4-11 3-96 3-68 3-02 3-37 3-12 3-25 Septic abortion— Married women .. .. .. No. \fi 4 iq\ 26 26 24 16 29 17 Single women .. .. .. No. /V ) 4 3 2 10 13 6 Totals .. .. .. 14 14 19 30 29 26 26 42 23 Rate .. .. .. 0-50 0-51 0-71 1-12 1-09 1-04 1-07 1-73 0-96

Number Death Rate of per 1,000 Deaths. Live Births. Puerperal sepsis following childbirth . . .. .. .. .. 8 0-33 Haemorrhages, accidents of labour, thrombosis, phlegmasia, and other accidents of childbirth— (a) Placenta prsevia .. . . . . .. 6 0-25 (b) Other puerperal haemorrhages . . . . . . 9 0-38 (c) Puerperal embolism (non-septic) .. .. 3 0-12 (d) Other accidents of childbirth — (1) Following Caesarean section for obstructed labour or contracted pelvis .. 3 | (2) Ruptured uterus .. . . 1 [ n • 95 (3) Post-partum shock . . . . 1 (4) Dystochia (hydrocephalic foetus) with anaemia of pregnancy .. .. 1 j 24 1-00 Toxaemias of pregnancy — (а) Puerperal albuminuria and eclampsia .. .. 21 0-88 (б) Other toxaemias of pregnancy .. .. .. 13 0-54 34 1-42 Accidents of pregnancy — (a) Abortion (non-septic) .. .. .. .. 8 0-33 (b) Ectopic gestation .. .. .. .. 4 0-17 12 0-50 Total maternal deaths (excluding septic abortion). .. .. .. 78 3-25 Septic abortion — (a) Married women .. . . .. .. .. . . 17 (b) Single women .. .. .. .. .. .. 6 23 0-96

H.—3l.

Puerperal Sepsis following Childbirth. The only, but significant, reduction in the causes of maternal deaths is due to a fall in the number of deaths from puerperal sepsis following childbirth, the rate of which, as shown in the graph, has dropped almost continuously by successive steps from 2-01 (total deaths 56) in 1927, to 0-33 (total deaths 8) in 1935. The death-rate from this cause has been so low since 1931 that the almost dramatic reduction last year comes as a surprise. It has followed and is possibly due to the replacement of disinfectants chosen in a very haphazard manner without reference to their suitability for the purposes of midwifery with antiseptics specially selected for their bactericidal action upon streptococci. The choice of antiseptics was based upon the researches of Colebrook and others into the bacteriology of puerperal sepsis and Garrod's investigations into the selective properties of antiseptics with regard to their special suitability for midwifery. Analysis op Notified Cases of Puerperal Sepsis following Childbirth. Ninety-three cases of puerperal sepsis were notified as compared with 141 in 1934. Of these 89 were investigated by the Medical Officers of Health and Nurse Inspectors. Eighty of these occurred among Europeans and nine among Maoris. The European notifications probably include the actual number of cases occurring; those among the Maoris, who in the majority of instances do not seek professional advice until the patient appears to be very seriously ill, are obviously inaccurate. The fact that four out of the nine Maori cases notified died confirms this view. The number of deaths among the eighty Europeans was eight, giving a case fatality of 10 per cent., while that of the Maori cases was 44-4 per cent. The inquiry into each case gives information on the following points: The place where the patient was confined —that is, private house, public or private hospital—the qualifications of the attendants—namely, doctor, registered midwife, or maternity nurse, or unregistered woman; normality or abnormality of pregnancy and labour; methods of delivery of infant and placenta; number of vaginal examinations; probable source of infection —i.e., whether ascribed to attendant, faulty aseptic technique, pre-existing infection, or whether undetermined; total duration of illness up to twenty-eight days and the final result. The published details of all these points would be beyond the scope of a report of this nature, and many of them appear to have little value as a guide to methods of prevention. The following figures are, however, significant: The percentage of instrumental deliveries in these cases was 191, or approximately two and a half times as high as that of the 19,034 cases recorded in Table 11, which was 8-88; the percentage of manual removals of the placenta either with or without instrumental delivery of the infant was also 191, which is twenty-two times that of the percentage of 0-87 shown in the same table for this method of delivery of the placenta. Though the total number of cases is small and percentages taken from small numbers must be accepted with a certain degree of reservation the difference is so great that it must be regarded as confirming the opinion that manual removal of the placenta imports a very high risk of septic infection especially in cases where the facilities for maintaining efficient asepsis are not available. Haemorrhages and Accidents of Labour. The death-rate from heemorrhage due to placenta prsevia, post-partum haemorrhage, and other accidents of labour has risen from 0 78, total deaths 19, to 100, total deaths 24. In connection with this rise it might be regarded as significant that the number of Caesarean sections for placenta prsevia, accidental haemorrhage, contracted pelvis and obstructed and delayed labour and other pathological conditions other than eclampsia have increased from 78 in 1934 to 120 in 1935. There is, however, a measure of satisfaction in the fact that, whether the increase in this method of delivery is justified according to the principles of sound obstetrical practice or not, the deaths following these operations did not influence the rise in 1935. I have no doubt that the problem of reducing deaths from these causes will receive the attention of the Obstetrical Society. Generally speaking it is apparent that increased safety must come from more accurate ante-natal estimation of difficulties likely to arise, thus reducing the number of emergencies and permitting better provision for dealing with these serious conditions. Eclampsia and Other Toxemias of Pregnancy. The death-rate from eclampsia and other manifestations of puerperal toxaemia has risen from 1-24, total deaths 30, to 142, total deaths 34. In an appendix to last year's report attention was drawn to certain deficiencies in the method of ante-natal investigation, notably the failure to use the sphygmomanometer as the most ready means in most cases of detecting by a rise in blood pressure puerperal toxaemia in its early stages. It was obvious in many cases that were supposed to be dieted or otherwise treated in their own homes the directions were not carried out. Treatment in hospital would be more thorough and,

56

H.—3l

in fact, in manjr cases is essential, the main difficulty being to persuade the patients to accept it, though beds are usually available. The Obstetrical Society has taken this matter up and is conducting a campaign among its members to call attention to this and to the importance of more efficient investigation and treatment. The opinion is generally expressed that an excessive meat diet is at any rate one of the principal causes of the high incidence of toxasmia in New Zealand. This is to a certain extent supported by statistics. The Government Statistician states that the approximate amount of meat available for local consumption is 244 lb. per head of the population per annum. He, however, points out that in spite of adjustments the margin of error may be considerable. It may, however, be regarded as strong support to the opinion that the excessive meat diet probably has an adverse influence upon the health of pregnant women. The Department, through its medical officers and district nurses, is endeavouring to obtain accurate information upon the incidence of toxaemia among Maoris which is believed to be considerably lower than that among the Europeans, and at the same time to obtain information which may show the influence of diet upon the difference in its incidence in the two races. Cesarean Section. A review of the reports of cases of Cesarean section for 1935 shows that 146 patients out of 24,395 confinements were delivered by this method, giving a rate of 0-59 per thousand compared with 0-53 and 044 for 1934 and 1933 respectively. In the following table the cases have been divided into six groups according to the reason given in the reports for selecting this method of delivery.

Table V.

Group I.—Contracted Pelvis. The 57 operations on account of " contracted pelvis " were upon twenty-two primigragida, eighteen 2 para, twelve 3 para, one 6 para, and four para not stated. The degree of contraction was only given in four cases, and it is probable that many of the others might have advantageously been classed under the more comprehensive heading of " obstructed labour." B—H.8 —H. 31.

57

S Number of , Q „, | Deaths. 1934 " Group. Reason given for Operation. ® . . Cause of Deaths and Notes. I -p 2 S a i a n s o "H 3 ® ā M _ fc I Contracted pelvis 57 2 1 (a) Two para. Second opera- 23 2 tion. " Collapse and heart failure," fourth, day ('b) Primipara. Three days in labour. Thyroidectomy two years previously. " Sudden cardiac collapse," third day II Obstructed labout ..42 1 7 Five para. Twenty-four hours 33 2 in labour, failed forceps : "Acute dilatation of stomach," third day. Of the seven infant deaths two were interlocked twins and two monsters III Placenta preevia 13 - 4 . . 14 Accidental haemorrhage 5 .. 4 . . 4 IV Eclampsia .. 12 1 4 Primipara. No ante - natal 7 care. B.P. 200 Temp. 107° Comatose " last resort " V Pre-eclamptie toxaemia 10 1 1 Also disproportion. Medical 12 1 induction failed. Infant that died was one of twins VI Other conditions — Heart disease . . 3 . . . . One primipara, one 2 para, 3 one 11 para. Anaemia and cardiac 1 .. . • 6 para. disturbance Subsequent to removal 1 ■ ■ .... of carcinomatous ovary Carcinoma left breast 11.. • • .... and spine Pyonephrosis and men- 111 • • .... ingitis _

H.—3l.

In 10 the operations followed a trial labour: extending over three days in one patient; 48 hours in two eases, one patient being 42 years of age; 24 hours and " failed forceps " one case and four patients in whom the period of trial labour was not stated. Eight of the multipara! had been delivered previously by Caesarean section, one in two previous pregnancies; six others had indications for this operation because of extreme difficulty in previous confinements. Group ll.—Obstructed or Delayed Labour. Of the 42 cases delivered by Cesarean section in this group 17 were primigravida; 9 two para; 3 three para; 5 four para; 3 five para; 1 seven para; and 4 para not stated. The nature of the obstruction was given as follows: Dystocia 5; post maturity 4; twins with representation 4; breech presentation 3; inertia 2; uterine adhesion's 2; cervical atresia 2; ovarian cyst, hydatid cyst, persistent occipito-posterior; double uterus; bicornate uterus with epiginthus monster; hand presentation; brow presentation; infantile vagina; contracted pelvis, 1 each. One of the patients also suffered from albuminuria. Foiu 1 patients had been delivered previously by Cassarean section, and in two cases the operation was indicated by a history of previous difficult labours arid still-born children. Twenty-one of the patients underwent a trial labour of 60 hours in one case; 48 hours, 3 cases; 18 to 36 hours, 4 cases; 16 hours or under and time not stated, 13 cases. Group lll.—Placenta Prcevia and' Ante-partum Hemorrhage. Seventeen patients are included in this group in thirteen of whom the condition was one of placenta praevia, five central, four marginal, four not stated. All the mothers recovered, three infants were still-born, two of which were non-viable, and five died shortly after birth. The period of pregnancy at which the operation was performed was full time in seven cases, between the 7th and 9th month in seven cases, and between the 6th and 7th month in three cases; not stated, one. Group IV.—Eclampsia. Twelve patients are included in this group, all of them being operated on for the actual occurrence of eclampsia. The only mother that died had had no ante-natal care, and was operated on as a last resort after having thirty fits and being comatose with a blood pressure of 200 and a temperature of 107°. Five infants were still-born or died shortly after delivery, one being non-viable, the mother of this infant being an elderly primipara in whom pregnancy had not been suspected, and consequently no ante-natal care given. The degree of ante-natal care given to these patients was not stated in two eases. In the two mentioned above there was none. One patient had been examined four times by a nurse, but had not been seen by a doctor. The remaining seven had received fairly constant ante-natal care; though in one case seen several times by a doctor there was no record of any blood pressure having been taken. The period of eclampsia was full time in three cases; from the 7th to 8-J months in eight cases; and in one case sto 6 months. The condition of the patients prior to operation, other than the fatal case mentioned above, was status epilepticus, one patient; 12 fits in one patient; and from 1 to 7 fits in the remainder. Group V.—Pre-eclamptic Toxcemia and Hyperemesis Gravidarum. Of the ten cases operated on for pre-eclamptic toxaemia, six were primigravida, two 2 para, one 10 para, and one para not stated. One mother died, nine infants were born alive, and one of twins died. The period of pregnancy at which operation was undertaken was full time in four cases and between 7-| months and full time in the remaining cases. The reasons for operation given were as follows: Toxaemia of unknown origin with rise of temperature, rapid oedema, ten days treatment for toxaemia, attempted medical induction failed; twin pregnancy medical induction for albuminuria ten days prior to operation failed; hyperemesis gravidarum four days, attempted induction by catheter failed; albuminuria, vomiting and headache in patient who had a healed spinal caries and on whom it was the second operation; in one patient serious toxaemia, chronic nephritis (this patient's tubes were tied). In another high blood pressure and toxaemia and albuminuria, and in the fatal case, pre-eclampsia, plus disproportion. This operation was undertaken at full time and the cause of death was uremia. Group Vl.—Heart Disease and other Pathological Conditions not directly attributed to Labour. The reasons for operating and the results in this group are given in Table V. Obviously some of the cases were of such a serious nature that a fatal result was almost certain. Summary. It is to be hoped that the above details will be of interest to those members of the profession practising obstetrics. The reports show that the resort to Cesarean section is increasing. Compared with 1934 operations for contracted pelvis were more than double those of the previous year and for obstructed labour approximately one-third more. In the case of the deaths following Caesarean section upon two women suffering respectively from carcinoma of the spine and meningitis, the mothers' deaths were probably inevitable; one infant survived.

58

H.—3l.

I abstain from other comment than that some might have been safely delivered by obstetrical methods, and that it is apparent that in many cases the time of " trial labour " was unduly long. In one case the report states that it was contrary to instructions, and one must not lose sight of the fact that in many cases delay in undertaking the operation may have been due to refusal on the part of the patient or friends to give an early consent. Every obstetrician knows that in many cases he is hampered by the well-meant but harmful advice of the patient's lay advisers. That nature occasionally asserts herself for the benefit of the patient is shown in the account of the following case, without which this record would be incomplete: A patient was sent in to a general hospital by a surgeon labelled "for Cesarean section." There was no obstetrical specialist on the staff. She was inconsiderate enough to disregard the surgical traditions of the hospital by giving birth to an infant on the trolley in the anaesthetic room while the operating theatre was being made ready for her. The record of the above case may convince those Hospital Boards that have neglected to appoint an obstetrician to their staff of the necessity of doing so. 1 must express my thanks to the many medical men who have at considerable trouble given me reports on many interesting cases and regret that the necessary limitation of space prevents me from, dealing with them in greater detail. The Problem of Septic Abortion. In spite of the fact that the number of deaths from septic abortion fell from 42 in 1934 to 23 in 1935, the problem, still remains a serious one and the best means of dealing with it is not clear. In an endeavour to throw some further light upon it a special investigation has been made into the facts surrounding it and these are presented below. From 1926 onwards deaths from septic abortion and from sepsis following childbirth, which have an entirely different origin and present two entirely different problems, have been recorded separately by the New Zealand Government Statistician. The maternal mortality graph and Table IVa show the variations in the total number of deaths and the rate per thousand live births of Europeans from 1927 to 1935, also the total number of deaths of single and married women for the years 1927-35, also the total number of deaths of single and married women for the years 1931-35. Table VI. —Showing Number of Children left Motherless by the Deaths of 109 Married Women, 1931-35. 13 women, died without issue . . . . . . .. 0 16 women died leaving 1 child . . . . . . 16 21 women died leaving 2 children . . . . . . . . 42 21 women died leaving 3 children . . . . .. 63 1.7 women died leaving 4 children .. . . .. 68 5 women died leaving 5 children .. .. . . 25 5 women died leaving 6 children . . .. .. 30 4 women died leaving 7 children .. .. .. 28 2 women died leaving 8 children . . .. .. 16 3 women died leaving 9 children .. . . .. . . 27 1 woman died leaving 10 children .. . . .. 10 1 woman died leaving 13 children .. .. .. .. 13 109 338 Table VI shows that 109 out of 112 of the married women who died in that period left 338 children motherless, 291 being under the age of sixteen years. The cases are grouped according to the number of children left. Table VII. —Giving the Occupation at the Time op Marriage of the Husbands op 89 op the Married Women in Table VI. Labourers . . .. .. .. . . .. 14 Farmers or farm hands.. .. . . . . .. 11 Building trades (bricklayer, carpenter, painter, plumber, tinsmith, electrician) .. .. .. .. .. 7 Transport trades (lorry-driver, engineers, engine-driver, motor mechanic, driver, motor-upholsterer, railway fireman, carrier, trucker) . . 16 Marine (marine engineer, mariner, fireman) .. . . 3 Shop and food supplies (shop hand, cook, salesman, butcher, chemists' assistant, baker) .. .. . . . . .. 11 Other trades (well borer, tunneller, miner, oil-tank foreman, shirt cutter, watchmaker, fitter, paper-cutter, printing) .. .. 10 Soldiers .. .. .. .. .. .. 2 i Accountants . . .. .. .. . . . . 2 ' Company-manager .. .. .. .. .. 1 Agent and auctioneer .. .. .. .. .. 2 Commercial traveller .. .. .. . . .. 1 Clerks and telegraphists .. .. .. .. 5 Hospital attendant . . .. . . .. . . 1 Licensed victuallers and hotel workers .. .. .. 2 9—H. 31. 89

59

H.—3l.

Table VII gives the occupation of the husbands at the time of marriage of 89 of the cases recorded in Table VI. The remaining 20 not having been married in New Zealand, the information is not available. A study of the above graph and tables shows that the number of deaths rose steadily from 1929 and reached a peak in 1934 with a total of 42, representing 35 per cent, of the total deaths from maternal causes. The fall last year to 23 may indicate a reduction in the practice of induced abortion, to which these deaths must be attributed, or possibly greater skill in performing the operation, as unless sepsis follows induced abortion there is no indication that death from abortion was due to induction and obviously direct information is seldom obtainable. Though the occupation of the husband at the time of the wife's death is not recorded, a study of Table VII giving the occupation at the time of marriage leads one to the conclusion that the majority of them were liable to have their incomes seriously affected by the economic depression covering that period. It cannot 'be disputed that practically the whole of the cases dying from septic abortion are the results of attempts to artificially terminate pregnancy, either by the woman herself or by an abortionist. In other words, they are the result of a highly dangerous attempt at birth control. No evidence is available regarding the proportion of cases in which the operation is performed by the woman herself or by an abortionist. It is, however, known from information received from medical men that at least a proportion of the cases is due to the woman's own act. As has been suggested in many previous reports, the most obvious method of limiting the practice is to give publicity to the very great risk attached to this illegal operation. The extent of the risk may be measured to a certain extent by a comparison of the number of deaths from sepsis following childbirth where the introduction of sepsis is carefully guarded against with the number of deaths following abortion. Reference to Table IVa (page 55) shows that deaths from sepsis following approximately 127,700 confinements for the period 1931-35 totalled 70, while during the same period 176 women, including single women, died from sepsis following abortion. The above tale of mothers' deaths and motherless children is disastrous and tragic enough, but by no means at all the whole story. Abortion being illegal in New Zealand, there are no means of estimating either the number of abortions due to deliberate interference or the permanent injury to health in the case of those who escape death. That the risk of permanent injury is not negligible may be deduced from results returned by Ludovici of 230,000 women passing through the Moscow Abortion Clinics. In these clinics the abortion is legal and is performed by medical practitioners and the death-rate was only 1 in 20,000, but he states that the sequelae were disquieting, and the subsequent pregnancies were adversely affected by the previous abortions. Attempts to make the above risk known have frequently been made and it appears to be the best method of checking the practice. As has been mentioned above, the economic stress has probably been the main cause for the increase of this practice. It has been suggested from various sources that other motives may be fear of the risk of childbirth and the desire to avoid interference with their social pleasures due to pregnancy and motherhood. If fear of the risks of childbirth is a motive publicity is required in order that women should be aware that the risk incurred by induced abortion in comparison with that incurred by allowing pregnancy to proceed to its natural termination is infinitely greater. It is possible that the desire to avoid interference with social pleasures may play a considerable part. Consideration of Table VI (page 59) which shows that 13 women died without issue gives some support to that theory. However, consideration of the whole problem leads one to the inevitable conclusion that the economic factor is the main one which leads to the practice of birth control by this method. In expressing -this opinion it is not intended to create the impression that the costs incidental to childbirth present themselves as a serious factor. This can hardly be so. Provisions in New Zealand for attendance on women during pregnancy and childbirth at a cost in accordance with their means are very complete. Those who can pay little or nothing are efficiently and pleasantly provided for by the majority of the Hospital Boards, and by the State Maternity Hospitals, and have available the same quality of attendance as those who require no financial assistance. The housing shortage as a result of the recent economic depression has probably played a considerable part. That the problem is not peculiar to New Zealand is evident by the following: Investigators estimate that in Germany abortions have increased from 240,000 in 1911 to over a million in 1927, and that the deaths numbered 7,000 per annum due to the results of abortions; that in France abortions are estimated at 500,000 to 600,000, and are equal to the number of confinements; in England, Dame Louise Mcllroy drew attention to the fact that in 1929 there had been a large increase in the number of abortions since the War, especially among married women; in the United States out of 672 deaths due to abortion 610 occurred among married women. The problem of septic abortion among unmarried women is a different problem. The motive to terminate pregnancy is obvious. It is essentially a social problem as opposed to an economic one. It can safely be left in the hands of religious bodies and societies concerned in the question of giving help to unmarried mothers. There are many of these societies all of which appear to be doing most excellent work in this direction. It is pleasing to be able to note that the National Council of Women is giving special attention to the whole problem of septic abortion, and it is hardy necessary to assure that

60

H.—3l.

organization that the Department of Health will welcome their and the other societies' co-operation and assistance. It may be noted that the same problem has engaged the attention of the National Council of Women, England.

TABLE VI.—MAORI MATERNAL MORTALITY. Table VI shows the Maori maternal mortality by causes for the six years 1930-35:

Owing to the extreme difficulty in getting accurate information regarding deaths of Maoris it is doubtful whether the tabulated causes of death can be compared with that of the Europeans. The total deaths are, however, probably substantially accurate, and at any rate are not likely to be overstated. Excluding deaths from septic abortion the total death-rate is practically double that of the Europeans. It is also very difficult to obtain accurate information upon the obstetrical methods practised among Maoris, which probably vary considerably in different .tribes. The difficulty is shown by a report from Dr. Cook, Medical Officer of Health, Whangarei, who has been for some time investigating this matter. He says that the midwife in Native settlements nowadays is an old lady who considers herself to be endowed with magical properties, and who believes that this magic will be lost if the information is imparted to any one else, particularly to a European. A recent interesting report from a nurse in Aitutaki, a neighbouring island to Rarotonga, from which the Maoris are supposed to have come to New Zealand, states that the Natives ascribe magical properties to her to such an extent that they believe if she makes an abdominal examination in a pregnant women the infant is likely to be white and to be like the nurse, and that she has magical power to cause a twin pregnancy. In spite of the difficulties mentioned above, inquiries are proceeding with the hope of getting more accurate information. As far as our information goes at present, Maori obstetrical methods consist generally in the application of extreme violence by pressure in cases ini which they estimate the delivery is being delayed. This is undoubtedly frequently used, and if one considers that it is impossible for the average Maori to know anything of modern obstetrics one cannot conceive that they know of any other methods. As the younger women escape from the domination of their elders and become aware of the advantages of European methods they are seeking more and more the skilled attention obtainable in maternity hospitals and from district nurses. There can be little doubt that whatever the " magical " methods of the old Maori midwife are, it will not be many years before they are abandoned to the great advantage of those who at present suffer from them. PART III.—PRIVATE MEDICAL AND SURGICAL HOSPITALS. One hundred and one hospitals, providing 1,393 beds, are licensed for medical and surgical cases only. All these hospitals are efficiently equipped for the class of patients for which they are designed. The larger of them, which are mostly under the control of different religious orders, have from 40 to 108 beds each, and include well-equipped X-ray and pathological departments. They compare favourably with the facilities given in public hospitals of a similar capacity, and provide an excellent service for those who are able and wish to pay for the full cost of treatment with the advantage of single wards. The difficulty with regard to the establishment of these hospitals other than those established by various religious bodies is the difficulty of finance. I notice with satisfaction that the medical profession appear to be taking a more active part in establishing these hospitals, which in the past have been largely left to the enterprise of nurses. Modern hospital design and equipment have so greatly increased in cost that it is rare for a nurse to be able to arrange the necessary finance for a well-equipped hospital. Acknowledgment. I wish to express my sincere thanks to the many members of the medical and nursing professions and particularly to the President and members of the New Zealand Obstetrical and Gynaecological Society for their veiy helpful and valuable co-operation.

Approximate Cost of Paper.—Preparation, not given ; printing (1,184 copies), £87 10s.

By Authority: G. H. Loney, Government Printer, Wellington.—l 936.

Price Is. 3d.]

61

1930. 1931. 1932. 1933. 1934. 1935. Cause of Death. i No. Hate. No. Rate. No. Hate. No. Rate. No. Rate. No. Rate. 1 1 Puerperal sepsis following childbirth .. 5 2-35 5 2-16 5 1-82 7 2-37 3 1-01 7 2-15 Hemorrhage, accidents of labour, throm- 12 5-65 9 3-89 14 5-10 14 4-75 8 2-68 10 3-07 bosis, phlegmasia, embolism, and following childbirth not otherwise defined Toxaemia, albuminuria, and eclampsia 1 0-36 1 0-34 . . . . 1 0 • 30 Puerperal sepsis following abortion Accidents of pregnancy . . .. . . 3 1*41 2 0-87 1 0-36 .... 4 1-34 3 0-92 Total maternal causes (excluding septic 20 9-42 16 6-92 21 j 7-65 22 7-46 15 5-03 21 6-46 abortion) ' Septic abortion .. .. I 2 0*68 3 1*01 3 0-92

This report text was automatically generated and may include errors. View the full page to see report in its original form.I whakaputaina aunoatia ēnei kuputuhi pūrongo, e kitea ai pea ētahi hapa i roto. Tirohia te whārangi katoa kia kitea te āhuatanga taketake o te pūrongo.
Permanent link to this item
Hononga pūmau ki tēnei tūemi

https://paperspast.natlib.govt.nz/parliamentary/AJHR1936-I.2.3.2.29

Bibliographic details
Ngā taipitopito pukapuka

DEPARTMENT OF HEALTH. ANNUAL REPORT OF THE DIRECTOR-GENERAL OF HEALTH., Appendix to the Journals of the House of Representatives, 1936 Session I, H-31

Word count
Tapeke kupu
38,319

DEPARTMENT OF HEALTH. ANNUAL REPORT OF THE DIRECTOR-GENERAL OF HEALTH. Appendix to the Journals of the House of Representatives, 1936 Session I, H-31

DEPARTMENT OF HEALTH. ANNUAL REPORT OF THE DIRECTOR-GENERAL OF HEALTH. Appendix to the Journals of the House of Representatives, 1936 Session I, H-31

Log in or create a Papers Past website account

Use your Papers Past website account to correct newspaper text.

By creating and using this account you agree to our terms of use.

Log in with RealMe®

If you’ve used a RealMe login somewhere else, you can use it here too. If you don’t already have a username and password, just click Log in and you can choose to create one.


Log in again to continue your work

Your session has expired.

Log in again with RealMe®


Alert