Page image
Page image

H,— 3l

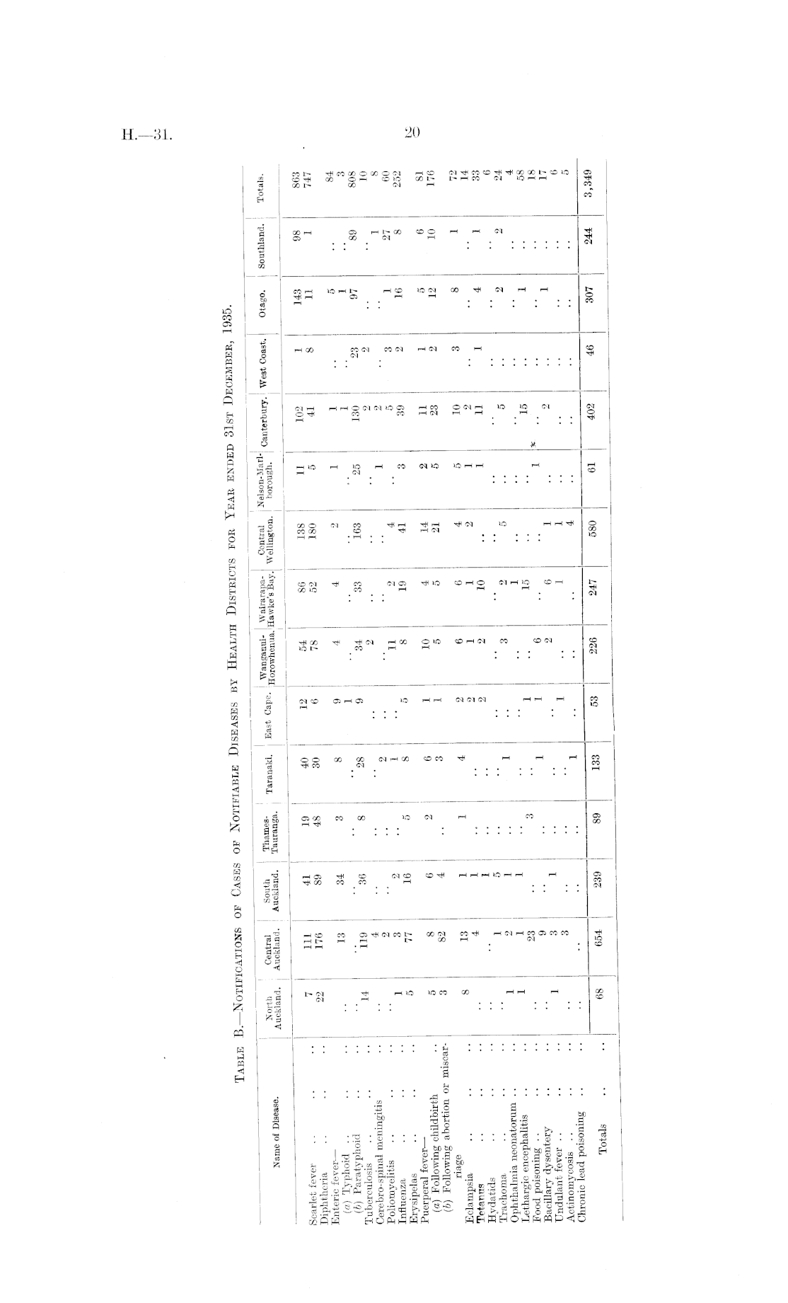
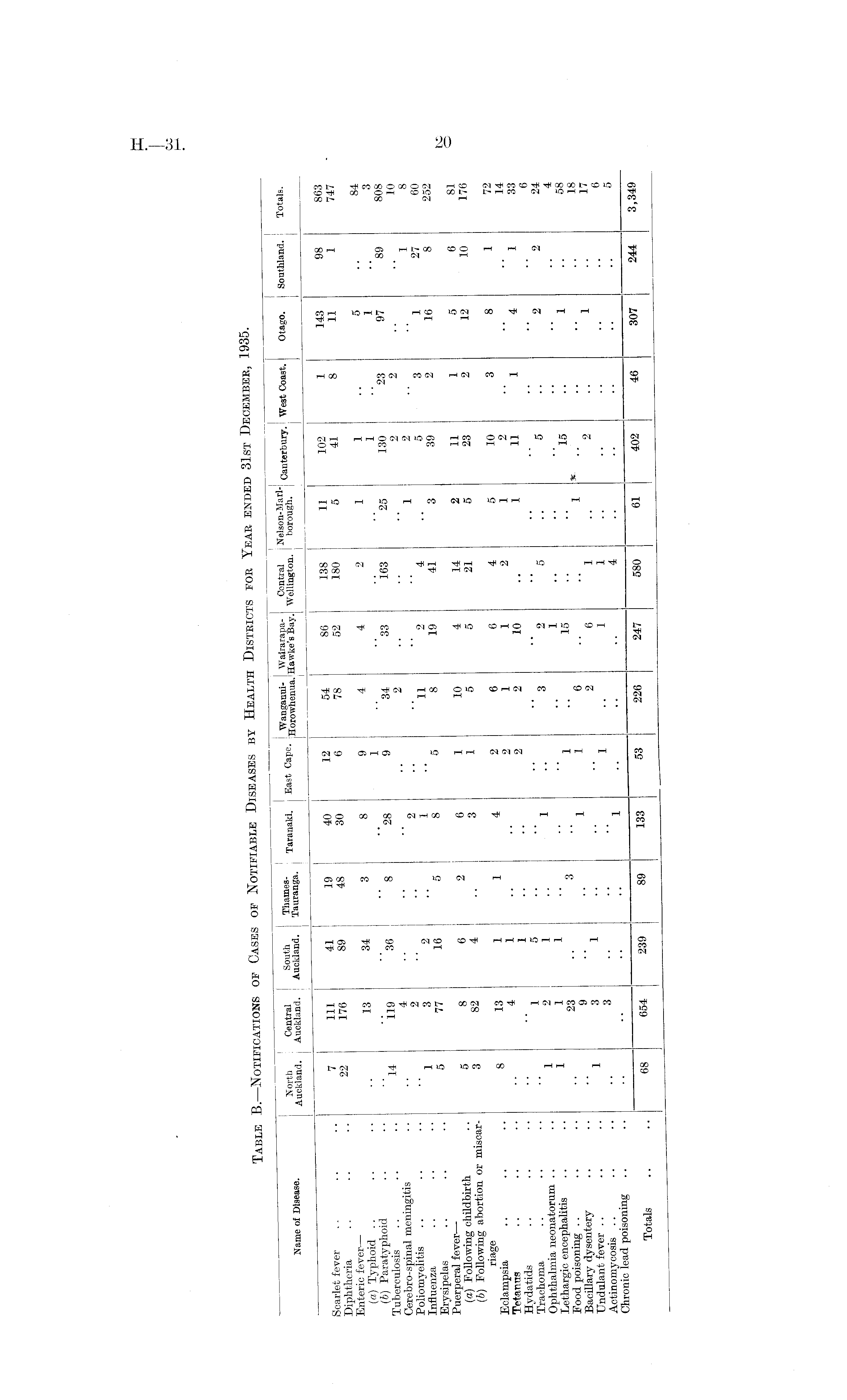
Table B.-Notifications of Cases of Notifiable Diseases by Health Districts for Year ended 31st December, 1935.

20

XAUUJi J-* • ī : . . I i : : ■' if " I ~ „ . . „ nilth Thames- m , • u » n.„„ Wanganui- i Wairarapa- Central i Nelson-Marl- Canterbury . West Coast. Otago. Southland. Totals. Name of Disease. A Snd. Auckland, j Auckland. Ta'Sanga. ™' Cape. Horowhemia Bay. WeHington. I borough. 7 m 41 19 40 12 54 86 138 11 102 1 143 98 863 Scarlet fever .. •• g9 48 30 6 78 52 180 5 41 8 Diphtheria ....•• Enteric fever— o 8 9 4 4 2 1 1.. , " q (а) Typhoid 13 34 3 i .. .. .. .. 1 •• J •• 3 (б) Paratyphoid -• •' " 8 " 2 8 9 34 33 163 25 130 23 97 Tuberculosis ...... 14 __ 2 .. •• 2 2 J-V Cerebrospinal meningitis . • ■ • » • • '' " 2 _ _ _ .. .. 1 2 .. • • j_ » Poliomyelitis .. •• 2 " 1 •• 11 2 4 " t 1« a 25" Influenza * 3 16 5 8 5 8 19 41 3 39 2 16 8 2o2 Erysipelas ° Puerperal fever— K a fi 2 6 1 10 4 14 2 11 1 ° ° (а) Following childbirth 5 8 3 1 5 5 21 5 23 2 12 10 (б) Following abortion or miscar- 3 „ riage a 13 i i 4 2 6 6 4 5 10 3 8 7 Eclampsia ....•• 8 . 2 1 1 2 1 2 .. •• •• 1 Tetanus 4 1 " !! 2 2 10 1 H 1 4 1 33 Hydatids .. •• •• j 5 .. .. .. .. •• •• •• " " 2 04 Trachoma ........ £ ° x _ 3 2 5.. 5.. 2 2 /4 Ophthalmia neonatorum .. .. 1 * '' .. 1 .. .. .. .. • • ■ • * Lethargic encephalitis .. 1 * 1 ' ! .. 15 .. .. 15 .. 1 •• Food poisoning .. .. • • • • '' " x 1 6 .. .. 1 * .. . • • • • • j Bacillary dysentery .. • • ° *' " __ 2 6 1 .. 2 •• 1 •• ' Undulant fever .. •• 1 1 .. 1 1 .. .. •• •• •• ° Actinomycosis .. •• •• •• " " " . .. .. 4 Chronic lead poisoning .. •• •• " — ToUls .. .. ST 239 89 133 53 226 247 580 61 402 46 307 244 3 ' 349

Log in or create a Papers Past website account

Use your Papers Past website account to correct newspaper text.

By creating and using this account you agree to our terms of use.

Log in with RealMe®

If you’ve used a RealMe login somewhere else, you can use it here too. If you don’t already have a username and password, just click Log in and you can choose to create one.


Log in again to continue your work

Your session has expired.

Log in again with RealMe®


Alert